Запчасти Case 480D (306) - CASE LOADER CONTROL VALVE, USED ON MODELS WITH SINGLE CONTROL LEVER (35) - HYDRAULIC SYSTEMS

Схема запчастей Case 480D - (306) - CASE LOADER CONTROL VALVE, USED ON MODELS WITH SINGLE CONTROL LEVER (35) - HYDRAULIC SYSTEMS
FIT
1:1
100%

Артикул

Название

Примечание

Количество

G106952

VALVE

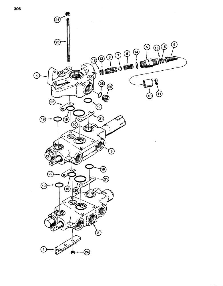
CONTROL VALVE ASSEMBLY - loader, two spool, Includes: Ref. 1 - 26

1шт.

1

G106405

BRACKET

- mounting

1шт.

2

G106953

HYD VALVE SECTION

BUCKET SECTION - parts list Figure 308

1шт.

3

G106336

VALVE, CHECK

LIFT SECTION - parts list Figure 310

1шт.

4

G106340

TUBE ASSY.

SECTION - outlet with main relief valve

1шт.

G106957

VALVE, PRESSURE RELI

MAIN RELIEF VALVE ASSEMBLY - loader control valve, used on models without PTO, for models with PTO replace this valve with G109313 valve, see Figure 280 for valve, Includes: Ref. 5 - 18

1шт.

5

NSS

NOT SOLD SEPARAT

HOUSING - relief valve cartridge

1шт.

6

NSS

NOT SOLD SEPARAT

CARTRIDGE ASSEMBLY - relief valve, component parts not serviced separately

1шт.

7

NSS

NOT SOLD SEPARAT

POPPET - relief valve cartridge

1шт.

8

NSS

NOT SOLD SEPARAT

SPRING - relief valve

1шт.

9

NSS

NOT SOLD SEPARAT

ADJUSTING SCREW - relief valve

1шт.

10

NSS

NOT SOLD SEPARAT

CAP - relief valve

1шт.

11

NSS

NOT SOLD SEPARAT

NUT - cap retaining

1шт.

G109402

SEAL

KIT - seal, relief valve assembly, no longer available, for service order G110098 seal kit and G110099 screen filter kit, see below, Includes: Ref. 12 - 18

1шт.

12

NSS

NOT SOLD SEPARAT

O-RING - cartridge, outer

1шт.

13

NSS

NOT SOLD SEPARAT

BACKUP RING - cartridge, outer O-ring

1шт.

14

NSS

NOT SOLD SEPARAT

O-RING - housing, large, outer

1шт.

15

NSS

NOT SOLD SEPARAT

O-RING - adjusting screw, inner

1шт.

16

NSS

NOT SOLD SEPARAT

BACKUP RING - adjusting screw O-ring

1шт.

17

NSS

NOT SOLD SEPARAT

FILTER - inner end of cartridge, not shown

1шт.

The filter and snap ring included in this kit may be replaced without disassembling the cartridge. They do not have to be replaced unless system contamination is high.

1шт.

18

NSS

NOT SOLD SEPARAT

SNAP RING - filter retaining, not shown

1шт.

The filter and snap ring included in this kit may be replaced without disassembling the cartridge. They do not have to be replaced unless system contamination is high.

1шт.

19

G34000

O-RING,0.103" Thk x 0.924" ID, -119, Cl 6, 90 Duro

- section ports, small

6шт.

20

G34001

O-RING,0.103" Thk x 1.424" ID, -127, Cl 6, 90 Duro

- section ports, large

2шт.

21

G107251

SHIM,10.31mm ID x 20.62mm OD x 0.06mm Thk

Section, Port side of control valve 0.051mm Thk

2шт.

22

G33965

SHIM,22.86mm OD x 0.06mm Thk

Section, Non-port side of control valve 0.051mm Thk

2шт.

23

G106302

STUD

- tie, 3/8" - 16 NC x 7"

4шт.

24

25-106

NUT,3/8"-16, G5

- hex, 3/8" - 16 NC

8шт.

25

71100209

PLUG,Hex Soc, 3/4"-16 ORB

Used with power beyond only Hex Soc, 3/4"-16 ORB

1шт.

G110098

KIT

- seal, services loader control valve end of relief valve, includes (2) O-rings and (1) backup ring which are not serviced separately

1шт.

G110099

SCREEN

KIT - filter screen, relief valve, includes filter screen, snap ring, and screen retainer which are not serviced separately

1шт.

The filter and snap ring included in this kit may be replaced without disassembling the cartridge. They do not have to be replaced unless system contamination is high.

1шт.

26

218-5006

O-RING,0.087" Thk x 0.644" ID, -908, Cl 6, 90 Duro

8-1, 90 Duro, .644" ID x .087" Thk, plug

1шт.

Выбрано товаров: 34