Запчасти Case 480D (358) - PTO AND THREE-POINT HITCH CONTROL VALVES, PTO SECTION (35) - HYDRAULIC SYSTEMS

Схема запчастей Case 480D - (358) - PTO AND THREE-POINT HITCH CONTROL VALVES, PTO SECTION (35) - HYDRAULIC SYSTEMS
FIT
1:1
100%

Артикул

Название

Примечание

Количество

N7899

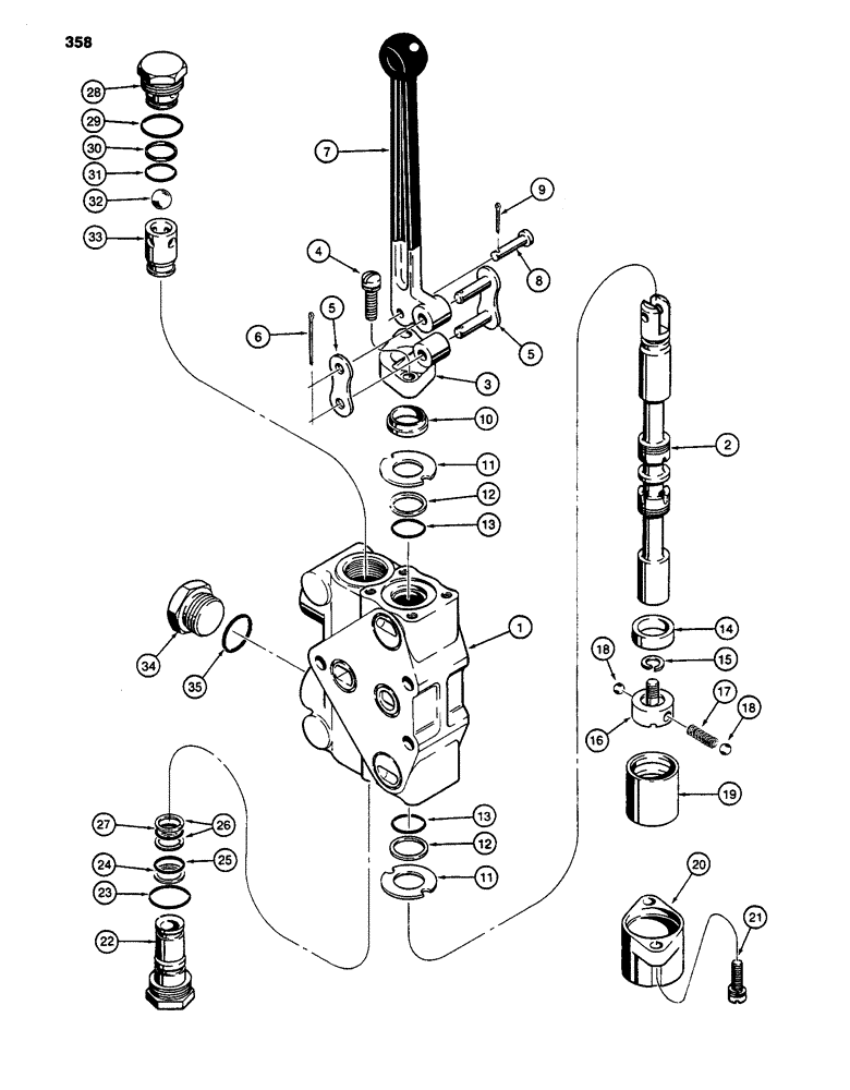
PTO

SECTION - PTO, used in D122151 control valve and as a fifth spool with D122164 control valve, Includes: Ref. 1 - 35

1шт.

1

NSS

NOT SOLD SEPARAT

HOUSING - valve section

1шт.

2

NSS

NOT SOLD SEPARAT

SPOOL - valve section

1шт.

3

N7114

BRACKET

RETAINER AND BRACKET - section

1шт.

4

193-558

SCREW,SEMS, Slot Fil Hd, 1/4"-20 x 7/8"

AND LOCK WASHER - 1/4" - 20 NC x 7/8", plated

2шт.

5

H620344

LINK

ASSEMBLY - bracket to control rod

1шт.

6

132-13

PIN

COTTER PIN - 1/16" x 1-1/2"

1шт.

7

N7113

HANDLE

LEVER - section control

1шт.

8

D88727

PIN

- control rod to spool eye

1шт.

9

132-379

COTTER PIN,5/64" x 1/2"

PIN, SPLIT (COTTER), 5/64" x 1/2"

1шт.

10

N7029

SCRAPER

WIPER - spool

1шт.

11

D88730

WASHER,0.77" ID x 1.43" OD

RETAINER - seal

2шт.

12

D88729

WASHER,0.76" ID x 1" OD x 0.05" Thk

BACKUP RING - spool seal O-ring

2шт.

13

D88728

O-RING,19.05mm ID x 25.4mm OD x 3.18mm Thk

- spool seal

2шт.

14

N7905

STOP

COLLAR - spool stop

1шт.

15

192-20

LOCK WASHER,Helical Spring, 0.318" ID, CST, ZND

WASHER, LOCK, 5/16"

1шт.

16

N7903

HOLDER

RETAINER - detent

1шт.

17

H325092

SPRING

- detent

1шт.

18

211-7

BALL,1/4" Dia

grade 200, chrome alloy steel 1/4" Dia

2шт.

19

N7904

SLEEVE

- detent

1шт.

20

H267583

FITTING

CAP - valve spool

1шт.

21

193-558

SCREW,SEMS, Slot Fil Hd, 1/4"-20 x 7/8"

AND LOCK WASHER - 1/4" - 20 NC x 7/8", plated

2шт.

N7900

PLUG

ASSEMBLY - lower port, Includes: Ref. 22 - 27

1шт.

22

NSS

NOT SOLD SEPARAT

BODY - plug

1шт.

23

237-6010

O-RING,0.097" Thk x 0.755" ID, -910, Cl 6, 90 Duro

10-1, 90 Duro, .755" ID x .097" Thk, Plug, Outer

1шт.

24

L35297

RING,16.18mm ID x 19.07mm OD x 1.42mm Thk

BACKUP RING - center O-ring

1шт.

25

D26265

O-RING,1.78mm Thk x 14mm ID, 70 Duro

- center

1шт.

26

D88725

BACK-UP RING

BACKUP RING - inner O-ring

2шт.

27

16905

O-RING,0.551" ID x 0.07" Width

O-RING - inner

1шт.

N7901

VALVE, CHECK

ANTICAVITATION ASSEMBLY - upper port, Includes: Ref. 28 - 33

1шт.

28

NSS

NOT SOLD SEPARAT

BODY - anticavitation

1шт.

29

237-6010

O-RING,0.097" Thk x 0.755" ID, -910, Cl 6, 90 Duro

10-1, 90 Duro, .755" ID x .097" Thk, Plug, Outer

1шт.

30

L35297

RING,16.18mm ID x 19.07mm OD x 1.42mm Thk

BACKUP RING - center O-ring

1шт.

31

D26265

O-RING,1.78mm Thk x 14mm ID, 70 Duro

- center

1шт.

32

211-12

BALL,7/16 Dia

- 7/16", grade 200, chrome alloy steel, anticavitation

1шт.

33

N7902

RETAINER

- ball

1шт.

34

218-5158

PLUG,Hex Hd, 1 1/16"-12 ORB

Valve body, used in lower port, Includes: Ref. 35 Hex Hd, 1 1/16"-12 ORB

1шт.

35

218-5008

O-RING,0.116" Thk x 0.924" ID, -912, Cl 6, 90 Duro

- plug

1шт.

Выбрано товаров: 38