Запчасти Case 480D (424) - BACKHOE EXTENDABLE DIPPER CONTROL, FOOT SWING MODELS, 480D MODELS ONLY (84) - BOOMS, DIPPERS & BUCKETS

Схема запчастей Case 480D - (424) - BACKHOE EXTENDABLE DIPPER CONTROL, FOOT SWING MODELS, 480D MODELS ONLY (84) - BOOMS, DIPPERS & BUCKETS
FIT
1:1
100%

Артикул

Название

Примечание

Количество

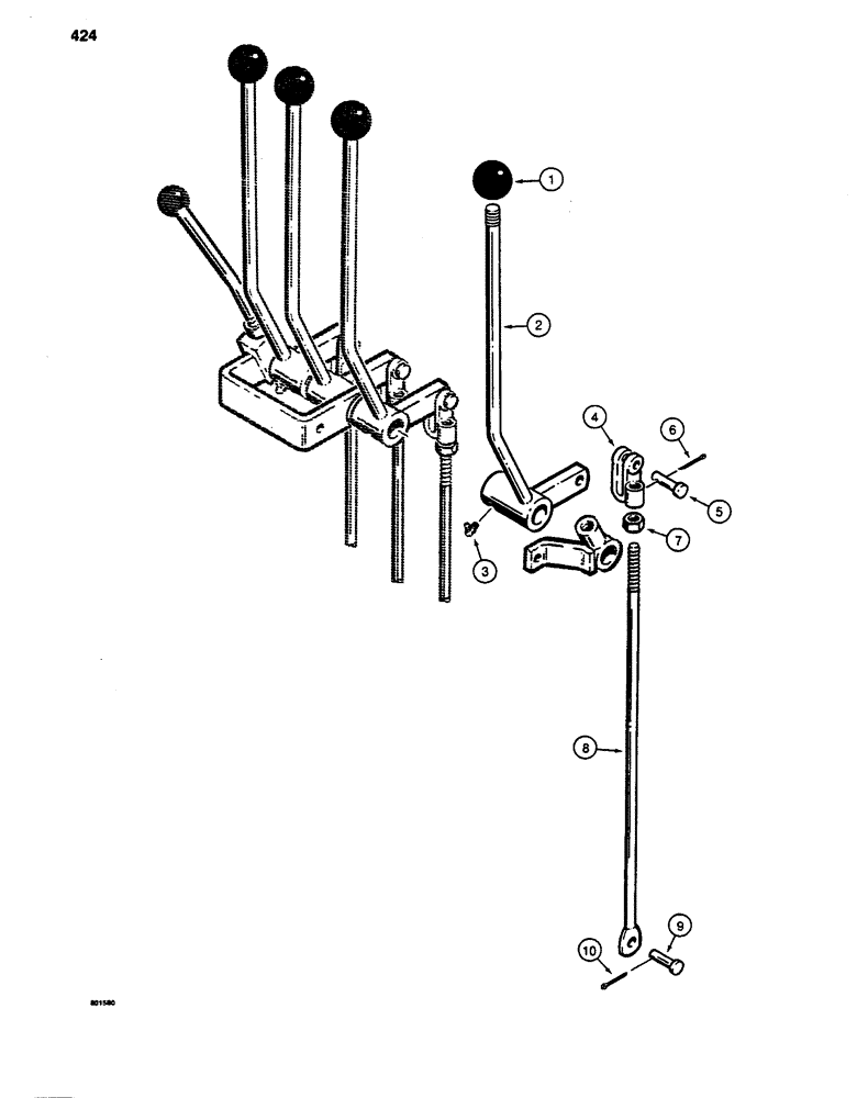
1

L54563

KNOB

- control lever

1шт.

2

D99177

LEVER

CONTROL LEVER - extendable dipper

1шт.

3

219-57

LUBE NIPPLE,90 Degree Elbow, 1/4" - 28 NPTF

GREASE FITTING - 90 degree, 1/4" - 28 NF taper

1шт.

4

L11182

YOKE,3/8" - 24

CLEVIS - 3/8", offset

1шт.

5

141-54

CLEVIS PIN,3/8" x 1 1/16"

1шт.

6

132-26

COTTER PIN

Pin, Split (Cotter), 3/32" x 3/4"

1шт.

7

129-123

NUT,3/8"-24, G5

1шт.

8

D30821

ROD

- extendable dipper control

1шт.

9

141-53

CLEVIS PIN,5/16" x .940"

plated 5/16" x .940"

1шт.

10

132-26

COTTER PIN

Pin, Split (Cotter), 3/32" x 3/4"

1шт.

Выбрано товаров: 0