Запчасти Case 480D (232) - PARKING BRAKE, USED ON TRANSAXLE S/N 16270319 AND AFTER (33) - BRAKES & CONTROLS

Схема запчастей Case 480D - (232) - PARKING BRAKE, USED ON TRANSAXLE S/N 16270319 AND AFTER (33) - BRAKES & CONTROLS
FIT
1:1
100%

Артикул

Название

Примечание

Количество

1

D75370

LEVER

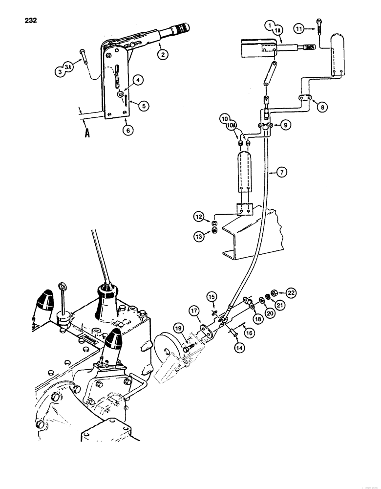
ASSEMBLY - parking brake, inside dimension A is .97" (24.6 mm) wide, used with Ref. 3, 8 and 10, Includes: Ref. 2 - 6

1шт.

1a

D121555

LEVER ASSY.

LEVER ASSEMBLY - parking brake, inside dimension A is .81" (20.6 mm) wide, used with Ref. 3A, 8 and 10A, no longer used, order D75370 lever (Ref. 1), (2) D69991 spacer (Ref. 10), and L30975 pin (Ref. 3) Includes: Ref. 2 - 6

1шт.

2

NSS

NOT SOLD SEPARAT

LEVER - parking brake

1шт.

3

L30975

AXLE PIN,7.82mm OD x 39.69mm L

PIN - lever to brake cable, used with Ref. 1 only

1шт.

3a

D42458

PIN

- lever to brake cable, used with Ref. 1A only

1шт.

4

195-103

WASHER,5/16"

- flat, , plated 5/16"

1шт.

5

132-320

COTTER PIN,3/32" x 3/4"

PIN, SPLIT (COTTER), 3/32" x 3/4"

1шт.

6

NSS

NOT SOLD SEPARAT

BRACKET - brake lever

1шт.

7

D126606

CABLE ASSY.

CABLE - parking brake

1шт.

8

D129747

PLATE

- oval spacer, plated

1шт.

9

D121608

CLAMP

- parking brake cable

1шт.

10

D69991

SPACER

- clamp, used with Ref. 1 only

2шт.

10a

D122882

SPACER

- split, clamp, used with Ref. 1A only

2шт.

11

113-121

BOLT,Hex, 5/16" - 18 x 2", Gr 5

2шт.

12

192-20

LOCK WASHER,Helical Spring, 0.318" ID, CST, ZND

WASHER, LOCK, 5/16"

2шт.

13

9635082

NUT,5/16" - 18, Gr 5

2шт.

14

141-3

CLEVIS PIN,5/16" x .940"

PIN, CLEVIS, , Lower cable mounting 5/16" x .940"

1шт.

15

195-521

WASHER,5/16", SAE

- flat, 5/16", plated

1шт.

16

132-330

COTTER PIN,3/32" x 1/2"

PIN, SPLIT (COTTER), 3/32" x 1/2"

1шт.

17

D129747

PLATE

- oval spacer, mounts to extension on transaxle countershaft

1шт.

18

D121608

CLAMP

- parking brake cable

1шт.

19

113-122

BOLT,Hex, 5/16" - 18 x 1-1/2", Gr 5

2шт.

20

195-521

WASHER,5/16", SAE

- flat, 5/16", plated

2шт.

21

192-20

LOCK WASHER,Helical Spring, 0.318" ID, CST, ZND

WASHER, LOCK, 5/16"

2шт.

22

9635082

NUT,5/16" - 18, Gr 5

2шт.

Выбрано товаров: 25