Запчасти Case 480E (9-098) - BATTERY COMPARTMENT AND VALVE MOUNTING PLATE, 480E MODELS ONLY (09) - CHASSIS/ATTACHMENTS

Схема запчастей Case 480E - (9-098) - BATTERY COMPARTMENT AND VALVE MOUNTING PLATE, 480E MODELS ONLY (09) - CHASSIS/ATTACHMENTS
FIT
1:1
100%

Артикул

Название

Примечание

Количество

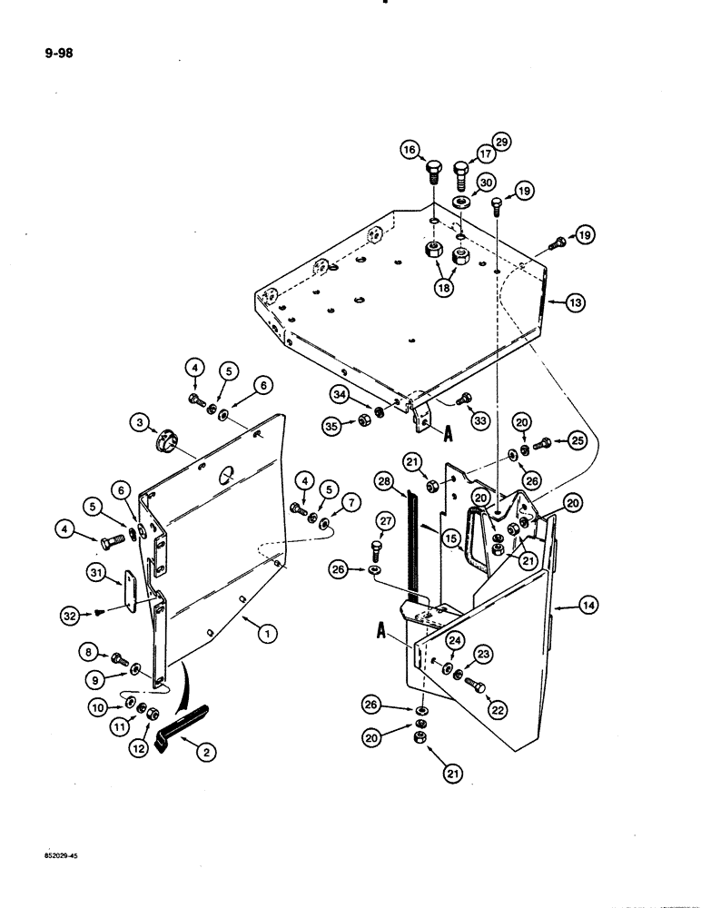
1

D127146

PANEL

SHIELD - plastic

1шт.

2

REF

INSTRUCTION

TRIM - edge, shield, 7" (178 mm) long, cut from D95814 bulk

1шт.

Part of Edge Trim, P/N D95814

1шт.

3

353-417

PLUG,Dome, 2.000" hole, Nylon

PLUG - button, 2" (51 mm) diameter

1шт.

4

113-102

BOLT,Hex, 5/16" - 18 x 3/4", Gr 5

BOLT, Hex, 5/16"-18 x 3/4", G5, Full Thd

6-7шт.

5

192-20

LOCK WASHER,Helical Spring, 0.318" ID, CST, ZND

WASHER, LOCK, 5/16"

6-7шт.

6

195-524

WASHER,5/16"

WASHER - flat, , x 1-1/8" (29 mm) OD, plated 5/16"

5-6шт.

7

195-521

WASHER,5/16", SAE

WASHER - flat, 11/32 x 11/16 x 3/64 inch

1шт.

8

113-207

BOLT,Hex, 3/8" - 16 x 1", Gr 5

BOLT, Hex, 3/8"-16 x 1", G5, Full Thd

4шт.

9

495-21044

WASHER,3/8"

(flat, 7/16 x 1 x 5/64 inch)

4шт.

10

195-525

WASHER,3/8", SAE

(13/32 x 13/16 x 1/16")

4шт.

11

492-11038

LOCK WASHER,3/8"

4шт.

12

129-103

NUT,Hex, 3/8" - 16, Gr 5

NUT, 3/8"-16, G5

4шт.

13

D128769

VALVE COVER

PLATE - valve mounting, includes 321-3705, 321-3060, 321-5797 and 321-5684 decals. See Figure 9-168

1шт.

14

D68445

BOX

COVER - hinged, battery and control valve

1шт.

15

REF

INSTRUCTION

TRIM - edge, hose opening, 18-5/8" (473 mm) long, cut from F42827

1шт.

Part of Edge Trim, P/N F42827

1шт.

16

113-2619

BOLT,Hex, 5/8" - 11 x 2", Gr 8

BOLT, , Used on models with cab or canopy Hex, 5/8"-11 x 2", G8

1шт.

17

113-684

BOLT,Hex, 5/8" - 11 x 2-1/2", Gr 8

SPARE PART BOLT, , Used on models with cab or canopy Hex, 5/8"-11 x 2 1/2", G8

1шт.

18

129-183

NUT,5/8"-11, G8

NUT, 5/8"-11, G8

2шт.

19

113-206

BOLT,Hex, 3/8" - 16 x 3/4", Gr 5, Full Thd

BOLT, Hex, 3/8"-16 x 3/4", G5, Full Thd

2шт.

20

492-11038

LOCK WASHER,3/8"

6шт.

21

129-103

NUT,Hex, 3/8" - 16, Gr 5

NUT, 3/8"-16, G5

6шт.

D95814

CHANNEL

TRIM - edge, 13-3/16" (335 mm) long

1шт.

F42827

TRIM,2946.4mm L

TRIM - edge, 116" (2946 mm) long

1шт.

Выбрано товаров: 0