Запчасти Case 480E LL (9-122) - NOISE REDUCTION PADS (09) - CHASSIS/ATTACHMENTS

Схема запчастей Case 480E LL - (9-122) - NOISE REDUCTION PADS (09) - CHASSIS/ATTACHMENTS
FIT
1:1
100%

Артикул

Название

Примечание

Количество

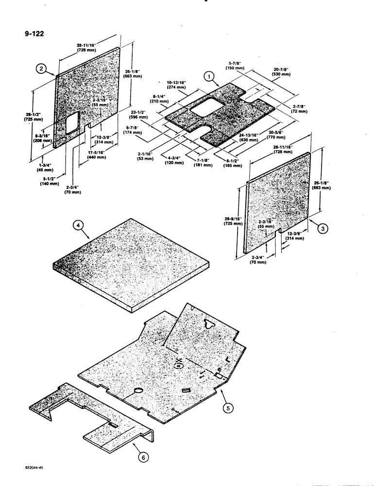
1

REF

INSTRUCTION

PAD - hood, cut from D89609 bulk

1шт.

2

REF

INSTRUCTION

PAD - engine side panel, left-hand, cut from D89609 bulk

1шт.

3

REF

INSTRUCTION

PAD - engine, side panel, right-hand, cut from D89609 bulk

1шт.

4

D124290

ROOF

PAD - ROPS Canopy roof

1шт.

5

D124289

FLOOR MAT

FLOORMAT - front, two wheel drive models

1шт.

5a

D139855

FLOOR MAT

FLOORMAT - front, four wheel drive models, not shown

1шт.

6

D124291

FLOOR MAT

FLOORMAT - backhoe floor plate, if used

1шт.

D89609

PAD

PAD - bulk, adhesive back, 54" (1372 mm) x 36"

1шт.

(914 mm) x (25 mm), not shown

1шт.

Выбрано товаров: 0