Запчасти Case 480F (6-52) - TRANSAXLE, MAIN SHAFT (06) - POWER TRAIN

Схема запчастей Case 480F - (6-52) - TRANSAXLE, MAIN SHAFT (06) - POWER TRAIN
FIT
1:1
100%

Артикул

Название

Примечание

Количество

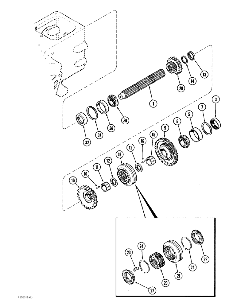
1

A168330

SHAFT

- main, transaxle

1шт.

3

A154253

OIL SEAL

- oil, front (2 Wheel drive only)

1шт.

5

290100C1

BEARING CUP,73.05mm OD x 17.78mm W

CUP - bearing, front, 2-7/8 inch OD, replaces H733574

1шт.

6

290099C91

TAPERED BEARING,39.69mm ID x 22.1mm W

CONE - bearing, front, 1-9/16 inch ID, replaces 290099C91

1шт.

7

A51527

SHIM,.035" Thk

Front bearing .035" Thk

1шт.

7

G10341

SHIM,.005" Thk

Front bearing .005" Thk

1шт.

7

G10340

SHIM,.007" Thk

Front bearing .007" Thk

1шт.

9

A179854

PINION

GEAR - sliding, fourth

1шт.

10

A179853

PINION

GEAR - sliding, third

1шт.

11

A150317

BUSHING,39.69mm ID x 46.01mm OD x 22.63mm L

- third gear

1шт.

12

A157470

WASHER,36.51mm ID x 52.32mm OD x 3.2mm Thk

- thrust, third and fourth gear

2шт.

13

A140239

COLLAR,24T

COLLAR - thrust, third and fourth gears (24 internal teeth)

1шт.

14

A26946

RING

- snap

1шт.

15

A150318

BUSHING,39.69mm ID x 46.01mm OD x 32.11mm L

- fourth gear

1шт.

16

A168375

NEEDLE ROLLER

PIN - third and fourth bushing

2шт.

19

A182240

SYNCHRONIZER

ASSEMBLY - main shaft, Includes: Ref. 20 - 24

1шт.

20

NSS

NOT SOLD SEPARAT

HUB - synchronizer (Order assembly)

1шт.

21

NSS

NOT SOLD SEPARAT

COLLAR - synchronizer (Order assembly)

1шт.

22

A45568

SPECIAL RING

RING - blocking

2шт.

23

G46078

PLATE

- shifting

3шт.

24

890564C1

CIRCLIP,1.85mm Thk, Int

SPRING - lock ring

2шт.

28

A168172

GEAR

- sliding, first and second (16 and 25 external and 24 internal teeth)

1шт.

29

T20939

ROLLER BEARING,1.25" ID x 0.771"

CONE - bearing, rear, 1-1/4 inch ID

1шт.

30

ST991

BEARING CUP

CUP - bearing, rear, 2-3/4 inch OD

1шт.

31

A29971

RING

- snap, rear bearing retaining

1шт.

32

G10616

CUP

- oiling, rear

1шт.

Выбрано товаров: 26