Запчасти Case 480F (9-120) - REAR CLOSURE PANELS, MODELS WITHOUT BACKHOE (09) - CHASSIS/ATTACHMENTS

Схема запчастей Case 480F - (9-120) - REAR CLOSURE PANELS, MODELS WITHOUT BACKHOE (09) - CHASSIS/ATTACHMENTS
FIT
1:1
100%

Артикул

Название

Примечание

Количество

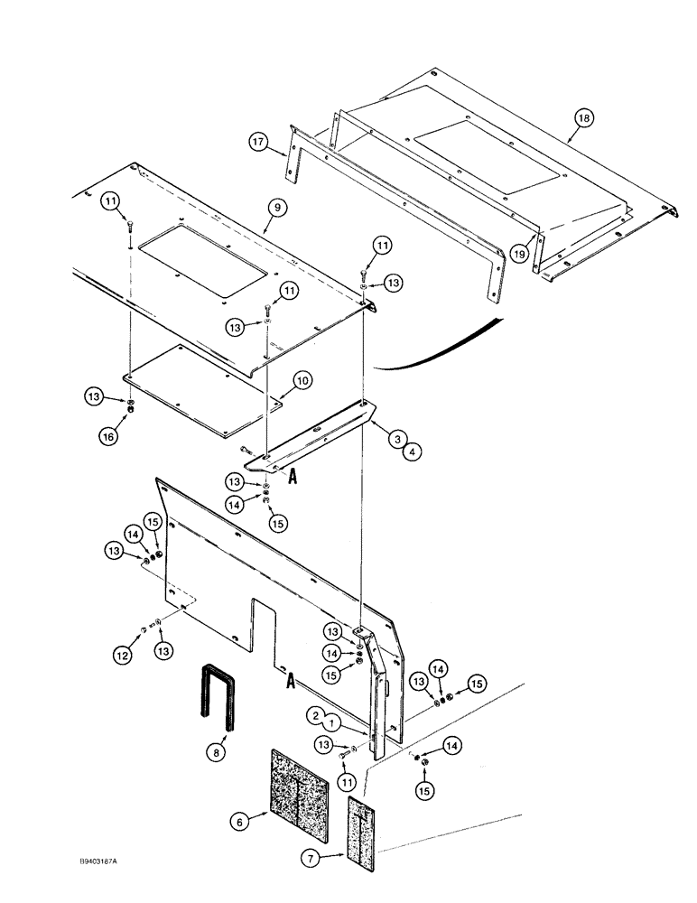
1

D71028

ANGLE

BRACKET - right-hand side

1шт.

2

D71029

ANGLE

BRACKET - left-hand side

1шт.

3

D71026

ANGLE

BRACKET - right-hand top

1шт.

4

D71027

ANGLE

BRACKET - left-hand top

1шт.

5

D122229

PANEL

- closure, vertical

1шт.

6

D99801

FOAM

PAD - foam, closure panel

1шт.

7

D122818

PAD - foam, closure panel, 3-15/16 (100 mm) x 8-1/2 inch (210 mm), cut from D99801 (item 6)

1шт.

8

REF

INSTRUCTION

TRIM - edge, 18-5/8 inch (472 mm) long, cut from F42827 bulk trim, see below

1шт.

9

D74846

PANEL

COVER - rear deck, flat, if used

1шт.

Order items 17, 18 and 19 plus additonal hardware for optional service.

1шт.

10

D74847

WINDOW

- Lexan, horizontal closure panel

1шт.

11

413-512

BOLT,Hex, 5/16" - 18 x 3/4", Gr 5

- hex, 5/16 NC x 3/4 inch

28-38шт.

12

413-516

BOLT,Hex, 5/16" - 18 x 1", Gr 5

- hex, 5/16 NC x 1 inch

3шт.

13

495-11034

WASHER,5/16", SAE

5/16" SAE (flat, 11/32 x 11/16 x 1/16")

40-50шт.

14

492-11031

LOCK WASHER,5/16"

WASHER, LOCK, 5/16"

25-35шт.

15

425-105

NUT,5/16"-18, G5

- hex, 5/16 inch NC

25шт.

16

231-1445

NUT,5/16"-18, GB

NUT - hex, self-locking, 5/16 inch NC

6шт.

17

D149915

PANEL

- rear cab, used with items 18 and 19, if used

1шт.

18

D149916

PANEL

- deck closure, used with items 17 and 19, if used

1шт.

19

D149917

COVER

- rear deck, raised, used with items 17 and 18, if used

1шт.

F42827

TRIM,2946.4mm L

TRIM - edge, 116 inch (2946 mm) long

1шт.

Выбрано товаров: 21