Запчасти Case 480F LL (6-40) - FRONT DRIVE AXLE CONTROL (06) - POWER TRAIN

Схема запчастей Case 480F LL - (6-40) - FRONT DRIVE AXLE CONTROL (06) - POWER TRAIN
FIT
1:1
100%

Артикул

Название

Примечание

Количество

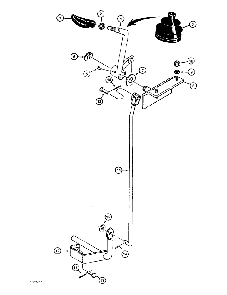
1

D120758

HANDLE

- T-grip

1шт.

2

425-148

JAM NUT,Jam, 1/2"-13, G5

- hex, jam, 1/2 inch NC

1шт.

3

D86664

BOOT

- lever

1шт.

4

D133525

LEVER

- shift

1шт.

5

219-57

LUBE NIPPLE,90 Degree Elbow, 1/4" - 28 NPTF

FITTING - grease, 90 degree 1/4 inch NF taper

1шт.

6

D143416

CIRCLIP,15.09mm ID x 27.81mm OD x 1.57mm Thk

RING - retaining, replaces D95097

1шт.

7

495-11081

WASHER,3/4", SAE

1шт.

8

D138796

BRACKET

- lever

1шт.

9

492-11038

LOCK WASHER,3/8"

2шт.

10

425-106

NUT,3/8"-16, Cl 5

2шт.

11

D137489

ROD

- shift

1шт.

12

D133527

LEVER

- pivot shift

1шт.

13

427-6106

CLEVIS PIN,9.53mm OD x 26.92mm L

PIN, CLEVIS, 3/8" x 1 1/16"

2шт.

14

432-612

COTTER PIN,3/32" x 3/4"

PIN , SPLIT (COTTER), 3/32" x 3/4"

3шт.

15

495-11041

WASHER,0.406" ID x 0.812" OD x 0.065" W

(Flat, 13/32 x 13/16 x 1/16") 3/8", SAE

1шт.

Выбрано товаров: 15