Запчасти Case 480F LL (9-158) - SLOW MOVING VEHICLE EMBLEM (09) - CHASSIS/ATTACHMENTS

Схема запчастей Case 480F LL - (9-158) - SLOW MOVING VEHICLE EMBLEM (09) - CHASSIS/ATTACHMENTS
FIT
1:1
100%

Артикул

Название

Примечание

Количество

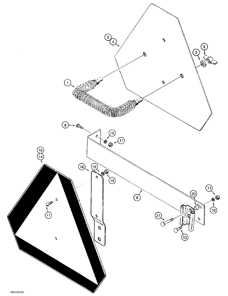
1

D52564

SPRING

- emblem retaining, used on models with backhoe

1шт.

2

495-11028

WASHER,1/4", SAE

(flat, 9/32 x 5/8 x 1/16"), Used on models with backhoe 1/4", SAE

2шт.

3

129-409

WING NUT,1/4"-20

NUT, WING, , Used on models with backhoe 1/4"-20

2шт.

4

D123347

WARNING SIGN

EMBLEM ASSEMBLY - plate and decal, Includes: Ref. 5, used on models with backhoe

1шт.

5

321-4311

DECAL

- SMV emblem, used on models with backhoe

1шт.

6

113-3

BOLT,Hex, 1/4" - 20 x 3/4", Gr 5

Used when storing emblem only, not shown, used on models with backhoe Hex, 1/4"-20 x 3/4", G5, Full Thd

2шт.

7

425-104

NUT,1/4"-20, Cl 5

- hex, 1/4 inch NC, used when storing emblem only, not shown, used on models with backhoe

2шт.

8

D91465

BRACKET

- SMV emblem mounting, if used, used on models w/o backhoe

1шт.

9

413-512

BOLT,Hex, 5/16" - 18 x 3/4", Gr 5

- hex, 5/16 NC x 3/4 inch, used on models w/o backhoe

2шт.

10

492-11031

LOCK WASHER,5/16"

WASHER, LOCK, , Used on models w/o backhoe 5/16"

2-4шт.

11

425-105

NUT,5/16"-18, G5

- hex, 5/16 inch NC, Used on models w/o backhoe

2-4шт.

12

A59457

BRACKET

- emblem mounting, short, used on models w/o backhoe

1шт.

13

412-512

CARRIAGE BOLT,Short Sq Nk, 5/16" - 18 x 3/4", Gr 2

BOLT - carriage, 5/16 NC x 3/4 inch, used on models w/o backhoe

1-2шт.

14

D123347

WARNING SIGN

EMBLEM ASSEMBLY - plate and decal, Includes: Ref. 15, used on models w/o backhoe

1шт.

15

321-4311

DECAL

- SMV emblem, used on models w/o backhoe

1шт.

16

A59451

BRACKET

- emblem mounting, vertical long, used on models w/o backhoe

1шт.

17

470-1108

SCREW,Slotted Pan Hd, #10-24 x 1/2"

MACHINE SCREW - pan slotted, No. 10 NC x 1/2 inch, used on models w/o backhoe

2шт.

18

492-11010

LOCK WASHER,#10

WASHER, LOCK, , Used on models w/o backhoe #10

2шт.

19

225-14110

NUT,#10-24

Used on models w/o backhoe #10-24

2шт.

20

D33551

BUSHING

SPACER - bracket mounting, to cab, if used, used on models w/o backhoe

1шт.

21

434-520

CARRIAGE BOLT,Sht Sq Nk, 5/16" - 18 x 1 1/4", Gr 5

BOLT - carriage, 5/16 NC x 1-1/4 inch, if used, used on models w/o backhoe

1шт.

Выбрано товаров: 21