Запчасти Case 480F LL (3-02) - FUEL TANK AND FUEL LINES (03) - FUEL SYSTEM

Схема запчастей Case 480F LL - (3-02) - FUEL TANK AND FUEL LINES (03) - FUEL SYSTEM
FIT
1:1
100%

Артикул

Название

Примечание

Количество

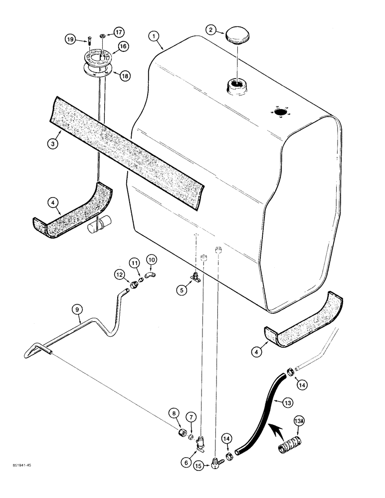
1

D124538

FUEL TANK

TANK - diesel fuel

1шт.

2

D93757

CAP

- fuel tank, replaces A51390

1шт.

3

D86157

RUBBER

STRIP - sponge rubber, 1/4 inch (6 mm) x 4 inch (102 mm) x 23-1/4 inch (591 mm), rear, for front strip see Figure 2-06, Ref. 14

1шт.

4

D93351

FOAM

STRIP - sponge rubber, 1/4 inch (6 mm) x 2-3/8 inch (60 mm) x 12 inch (305 mm), cut from D86157 strip (Ref. 3), lower

2шт.

5

217-81

VALVE

- 1/8 inch PT, drain plug

1шт.

D74027

VALVE

ASSEMBLY - shutoff, fuel tank outlet, Includes: Ref. 6 - 8

1шт.

6

NSS

NOT SOLD SEPARAT

BODY - shutoff valve

1шт.

7

222-654

FERRULE,3/8" Tube, Comp

- tapered, 3/8 inch tube OD

1шт.

8

222-664

TUBE NUT,9/16"-24, 45 Degree Fl, Comp

NUT - hex, 3/8 tube OD x 9/16-24 inch

1шт.

9

D129378

TUBE

- engine supply

1шт.

222-95

ELBOW,45 Degree, 5/8"-24 x 1/4" NPT

- 45 degree, compression, 3/8 tube OD x 1/4 inch PT, Includes: Ref. 10 - 12

1шт.

10

NSS

NOT SOLD SEPARAT

BODY - elbow

1шт.

11

222-104

SLEEVE,3/8" Tube

- 3/8 inch tube OD

1шт.

12

222-114

NUT,5/8"-24

NUT - hex, 3/8 tube OD x 5/8-24 inch

1шт.

13

D72349

FUEL HOSE,0.25" ID x 20.00", SAE 30R6 or SAE 30R7

Cut From S120557 Bulk Hose, See Below, Engine Return 0.25" ID x 20.00", SAE 30R6 or SAE 30R7

1шт.

13a

D139976

GUARD

- return hose, 19 inch (480 mm) long

1шт.

14

214-1704

HOSE CLAMP,#04, 0.25" - 0.62", Type M Worm

CLAMP, HOSE, , Adjustable #4, 0.25/0.62 Type M Worm

2шт.

15

217-294

FITTING,90 Degree Elbow, 1/4" Hose Barb x 1/4" Male NPTF

ELBOW - 90 degree, 1/4 inch barb end x PT

1шт.

16

D83480

TRANSMITTER

SENDER - fuel level gauge

1шт.

17

193-1000

NUT,Keps, w/LW,#10-32

- hex, with external tooth lock washer, No. 10 NF

1шт.

18

104812C3

GASKET,3.05mm Thk

- sending unit, replaces A11822 gasket

1шт.

19

D75465

SCREW,#10 - 32 x 5/8"

- special sealing

5шт.

427683C1

HOSE,6.35mm ID x 7620mm L, SAE 30R7

- bulk, 1/4 inch (6 mm) ID x 1/2 inch (13 mm) OD x 50 ft (15240 mm) long, replaces S120557 25 ft long roll

1шт.

Выбрано товаров: 23