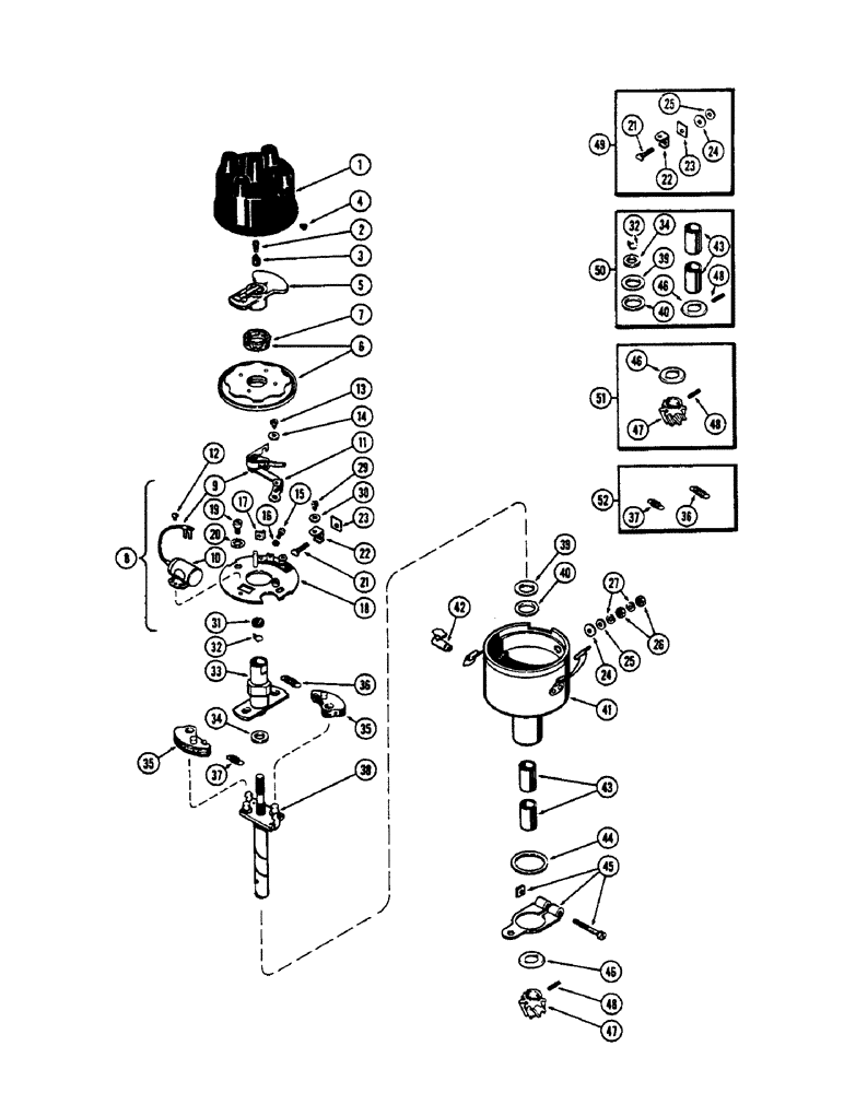
Запчасти Case 530CK (030) - DISTRIBUTOR, (159) SPARK IGNITION ENGINE (10) - ENGINE

Схема запчастей Case 530CK - (030) - DISTRIBUTOR, (159) SPARK IGNITION ENGINE (10) - ENGINE
FIT
1:1
100%

Артикул

Название

Примечание

Количество

A30358

DISTRIBUTOR

(Presto-Lite or Auto-Lite #IAD-6003-2F), Includes: Ref. 1 - 48

1шт.

1

A8368

CAP

ASSY., Includes: Ref. 2 - 4

1шт.

2

NSS

NOT SOLD SEPARAT

SPRING - brush tension

1шт.

3

NSS

NOT SOLD SEPARAT

BRUSH - contact

1шт.

4

NSS

NOT SOLD SEPARAT

PLUG - rubber, vent hole

1шт.

5

A8369

ROTOR

1шт.

6

A25194

PLATE

COVER ASSY. - breaker plate, Includes: Ref. 7

1шт.

7

NSS

NOT SOLD SEPARAT

SEAL - dust, felt

1шт.

8

A25196

PLATE

ASSY. - breaker, Includes: Ref. 9 - 18

1шт.

9

A40929

KIT

- points & condenser, Includes: Ref. 10 and 11

1шт.

10

NSS

NOT SOLD SEPARAT

CONDENSER (Order A40929)

1шт.

11

NSS

NOT SOLD SEPARAT

POINT SET (Order A40929)

1шт.

12

177-56

SCREW - condenser (#6-32 x 3/16" fill hd.)

1шт.

13

177-72

SCREW - point set (#8-32 x 16)

1шт.

14

192-6

LOCK WASHER,#8

WASHER, LOCK, #8

1шт.

15

171-216

SCREW,Sl Flat Hd, #6 - 32 x 5/16"

- spring clamp (#6-32 x 5/16" flat hd.)

1шт.

16

192-5

LOCK WASHER,#6

WASHER, LOCK, #6

1шт.

17

NSS

NOT SOLD SEPARAT

CLIP - point screw

1шт.

18

NSS

NOT SOLD SEPARAT

PLATE - (Order A25196)

1шт.

19

177-94

SCREW,Sl Fil Hd, #10 - 32 x 5/16"

- plate (#10-32 x 5/16" fill hd.)

2шт.

20

193-26

LOCK WASHER,Int Tooth, #10

WASHER, LOCK, Int Tooth, #10

2шт.

21

NSS

NOT SOLD SEPARAT

CONTACT - lo-tension terminal (Order A40321)

1шт.

Part of Terminal Kit, P/N A40321

1шт.

22

NSS

NOT SOLD SEPARAT

CONNECTOR - lo-tension (Order A40321)

1шт.

Part of Terminal Kit, P/N A40321

1шт.

23

NSS

NOT SOLD SEPARAT

INSULATION - inner (Order A40321)

1шт.

Part of Terminal Kit, P/N A40321

1шт.

24

NSS

NOT SOLD SEPARAT

BUSHING - insulator (Order A40321)

1шт.

Part of Terminal Kit, P/N A40321

1шт.

25

NSS

NOT SOLD SEPARAT

INSULATION - contact outer (Order A40321)

1шт.

Part of Terminal Kit, P/N A40321

1шт.

26

129-27

NUT,Hex, #10 - 32

- hex. #10-32

2шт.

27

92-3

LOCK WASHER,#10

WASHER, LOCK, #10

1шт.

29

174-56

SCREW - connector (#6-32 x 3/16" rd. hd.)

1шт.

30

192-5

LOCK WASHER,#6

WASHER, LOCK, #6

1шт.

31

NSS

NOT SOLD SEPARAT

WICK - oiler

1шт.

32

A25180

RING, SNAP

RING - snap (See A40322 ref. 48)

1шт.

Part of Shaft Bearing Kit, P/N A40322

1шт.

33

A25193

CAM

ASSY.

1шт.

34

NSS

NOT SOLD SEPARAT

SPACER - cam (Order A40322)

1шт.

Part of Shaft Bearing Kit, P/N A40322

1шт.

35

A25198

WEIGHT

- governor

1шт.

36

NSS

NOT SOLD SEPARAT

SPRING - governor, large (Order ref. 52)

1шт.

37

NSS

NOT SOLD SEPARAT

SPRING - governor, small (Order ref. 52)

1шт.

38

A25177

SHAFT

- drive

1шт.

39

A24752

WASHER

- thrust, inner (See A40322)

1шт.

Part of Shaft Bearing Kit, P/N A40322

1шт.

40

A24753

WASHER

- thrust, outer (See A40322)

1шт.

Part of Shaft Bearing Kit, P/N A40322

1шт.

41

NSS

NOT SOLD SEPARAT

BASE ASSY. - (Order A30358)

1шт.

42

A24887

OILER - drive shaft

1шт.

43

NSS

NOT SOLD SEPARAT

BEARING - drive shaft (Order A40322)

1шт.

Part of Shaft Bearing Kit, P/N A40322

1шт.

44

A30080

THRUST WASHER

- thrust

1шт.

45

A29989

ARM

- advance

1шт.

46

A25200

WASHER

- thrust gear (See A40322 & A40323)

1шт.

Part of Shaft Bearing Kit, P/N A40322

1шт.

Part of Gear Kit, P/N A40323

1шт.

47

NSS

NOT SOLD SEPARAT

GEAR - drive (Order A40323)

1шт.

Part of Gear Kit, P/N A40323

1шт.

48

138-56

LOCK PIN,1/8" x 11/16", Slotted

PIN, (See A40323) 1/8" x 11/16", Slotted

1шт.

Part of Shaft Bearing Kit, P/N A40322

1шт.

Part of Gear Kit, P/N A40323

1шт.

49

A40321

KIT

- terminal (Incl. ref. 21, 22, 23, 24 & 25)

1шт.

50

A40322

KIT

- shaft bearing (Incl. ref. 32, 34, 39, 40, 43, 46 and 48)

1шт.

51

A40323

GEAR

KIT - gear (Incl. ref. 46, 47 & 48)

1шт.

52

A25199

SPRING KIT

SPRING - governor (Set of 2)

1шт.

Выбрано товаров: 67