Запчасти Case 530CK (115A) - A37859 STEERING CYLINDER (35) - HYDRAULIC SYSTEMS

Схема запчастей Case 530CK - (115A) - A37859 STEERING CYLINDER (35) - HYDRAULIC SYSTEMS
FIT
1:1
100%

Артикул

Название

Примечание

Количество

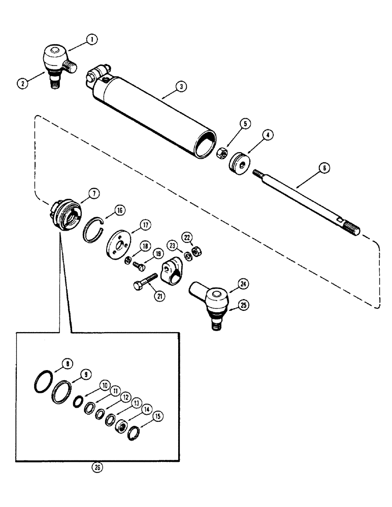
A37859

CYLINDER

ASSY. - steering, Includes: Ref. 1 - 25

1шт.

1

A40962

BALL JOINT

END ASSY. - male thread, Includes: Ref. 2

1шт.

2

A41424

SEAL

BOOT - end

1шт.

3

NSS

NOT SOLD SEPARAT

CYLINDER ASSY. - (Order A37859)

1шт.

4

A36395

PISTON

ASSY. - (Includes seals)

1шт.

5

230-4616

LOCK NUT,3/8"-24, GA

NUT - 3/8" N.F. hex. lock

1шт.

6

A35873

ROD

- piston

1шт.

7

A36443

GLAND

ASSY. - cylinder, Includes: Ref. 8 - 16

1шт.

8

A7156

O-RING,0.139" Thk x 1.734" ID, -224, Cl 6, 90 Duro

"O" RING - 1-3/4 x 2 x 1/8"

1шт.

Part of Gland Seal Repair Kit, P/N A36396

1шт.

9

A35884

WASHER

RING - back-up, 1-3/4" I.D. leather

1шт.

Part of Gland Seal Repair Kit, P/N A36396

1шт.

10

F62114

O-RING,0.103" Thk x 0.674" ID, -115, Cl 5, 75 Duro

"O" RING - inner

1шт.

Part of Gland Seal Repair Kit, P/N A36396

1шт.

11

A35879

RING

- back-up, .087" I.D. leather

1шт.

Part of Gland Seal Repair Kit, P/N A36396

1шт.

12

F9886

WASHER

RING - retaining

1шт.

Part of Gland Seal Repair Kit, P/N A36396

1шт.

13

F9887

WASHER

RING - retaining, oil seal

2шт.

Part of Gland Seal Repair Kit, P/N A36396

1шт.

14

A11061

SEAL

- oil, 11/16 x 1 x 1/4"

1шт.

Part of Gland Seal Repair Kit, P/N A36396

1шт.

15

A37550

SNAP RING,1.00", Int, #100

Ring, Snap, 1.00", Int, #100

1шт.

Part of Gland Seal Repair Kit, P/N A36396

1шт.

16

A35885

RING

- gland retainer

1шт.

17

A35887

PLATE ASSY.

PLATE - end

1шт.

18

92-3

LOCK WASHER,#10

WASHER, LOCK, #10

3шт.

19

182-125

SCREW,Sl Pan Hd, #10 - 24 x 1/2"

- #10-24 x 1/2" pan hd. sltd.

3шт.

20

A27080

CLAMP

- end, Includes: Ref. 21 - 23

1шт.

21

14-628

BOLT,Hex, 3/8" - 24 x 1-3/4", Gr 5

- 3/8 x 1-3/4" N.F. hex.

1шт.

22

25-116

NUT,Hex, 3/8"-24, G5

- 3/8" N.F. hex.

1шт.

23

92-6

LOCK WASHER,3/8"

std. 3/8"

1шт.

24

A40963

BALL JOINT

END ASSY. - female, thread, Includes: Ref. 25

1шт.

25

A41424

SEAL

BOOT - end

1шт.

26

A36396

SEAL KIT

KIT - gland seal repair, Includes Refs. 8, 9, 10, 11, 12, 13, 14 and 15

1шт.

Выбрано товаров: 35