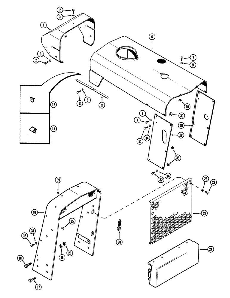
Запчасти Case 580 (164) - HOOD, GRILLE, AND PANELS, WITH PUNCHED GRILLE (90) - PLATFORM, CAB, BODYWORK AND DECALS

Схема запчастей Case 580 - (164) - HOOD, GRILLE, AND PANELS, WITH PUNCHED GRILLE (90) - PLATFORM, CAB, BODYWORK AND DECALS
22
34
9
30
9
11
3
2
9
33
39
19
1
8
16
3
38
29
16
24
28
35
20
7
13
2
35
34
17
32
21
34
23
12
7
31
10
6
FIT
1:1
100%

Артикул

Название

Примечание

Количество

1

A37494

PANEL - instruments

1шт.

D50192

SHIELD - inst. panel, clear plastic (Not illust.)

1шт.

2

114-9

SCREW

BOLT - panel to fuel tank (1/4 x 3/8" N.F. hex.)

3шт.

3

195-517

WASHER,1/4"

- (17/64 x 5/8 x 3/64")

3шт.

6

D36706

HOOD - engine (Gas)

1шт.

6

D36708

HOOD - engine (Diesel)

1шт.

7

113-103

BOLT,Hex, 5/16" - 18 x 1", Gr 5

Hood to wrapper Hex, 5/16"-18 x 1", G5, Full Thd

4шт.

8

114-102

BOLT,Hex, 5/16" - 24 x 3/4", Gr 5

Hood to fuel tank Hex, 5/16"-24 x 3/4", G5, Full Thd

2шт.

9

195-521

WASHER,5/16", SAE

- (11/32 x 11/16 x 1/16")

6шт.

10

131-106

SPRING NUT,Ret, 5/16"-18

Ret, 5/16"-18

2шт.

11

D45361

MOULDING - side trim (Black)

2шт.

12

A11456

LOCK PIN

RETAINER - moulding

2шт.

Reference nbrs in illustration are reversed. A11456 is a clip and A11459 is a retainer bolt.

1шт.

13

A11459

BOLT

RETAINER - moulding

2шт.

16

D45416

WRAPPER - radiator & grille (Gas)

1шт.

16

D45415

WRAPPER - radiator & grille (Diesel)

1шт.

17

113-607

BOLT,Hex, 5/8" - 11 x 1-1/2", Gr 5, Full Thd

Wrapper to frt. support Hex, 5/8"-11 x 1 1/2", G5, Full Thd

4шт.

18

113-620

BOLT,Hex, 5/8" - 11 x 2-1/4", Gr 5

- wrapper to bracket (5/8 x 2-1/4" N.C. hex.)

4шт.

19

95-10

WASHER,5/8"

- (3/16 x 7/16 x 3/64")

4шт.

20

230-4117

LOCK NUT,7/16"-14, GA

NUT - lock, 5/8" N.C. hex. (Gripco)

4шт.

21

D31064

GRILLE ASSY

GRILLE - radiator

1шт.

22

113-102

BOLT,Hex, 5/16" - 18 x 3/4", Gr 5

Hex, 5/16"-18 x 3/4", G5, Full Thd, Grille to wrapper

4шт.

23

195-521

WASHER,5/16", SAE

- 11/32 x 11/16 x 1/16"

4шт.

24

D31071

GUARD - pump (Gas)

1шт.

24

D31082

GUARD ASSY.

GUARD - pump (Diesel)

1шт.

28

D31078

PANEL

- right hand (Diesel)

1шт.

28

D31066

PANEL - right hand (Gas)

1шт.

29

D31079

PANEL

- left hand (Diesel)

1шт.

29

D31065

PANEL - left hand (Gas)

1шт.

30

D31074

SPACER

- side panel

2шт.

31

113-101

BOLT,Hex, 5/16" - 18 x 1-1/2", Gr 5

Panel to hood Hex, 5/16"-18 x 1/2", G5, Full Thd

2шт.

32

113-103

BOLT,Hex, 5/16" - 18 x 1", Gr 5

Panel to wrapper Hex, 5/16"-18 x 1", G5, Full Thd

6шт.

33

113-102

BOLT,Hex, 5/16" - 18 x 3/4", Gr 5

Hex, 5/16"-18 x 3/4", G5, Full Thd, Panel to frt. support

2шт.

34

195-21

WASHER,5/16"

- 11/32 x 11/16 x 1/16"

10шт.

35

131-106

SPRING NUT,Ret, 5/16"-18

Ret, 5/16"-18

8шт.

38

D40300

EMBLEM

MEDALLION - eagle (Used prior to trac. ser. no. 8656686)

1шт.

39

131-604

NUT

- 1/4" push on type (Used w/D40300 medallion)

1шт.

Выбрано товаров: 37