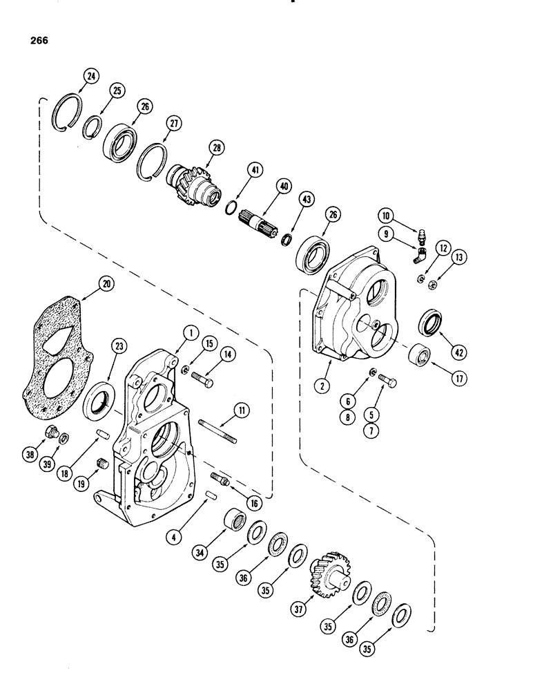
Запчасти Case 580SE (266) - TRANSAXLE TRANSFER GEAR BOX, 4 WHEEL DRIVE, TRANSMISSION SN16270319 AND AFTER (06) - POWER TRAIN

Схема запчастей Case 580SE - (266) - TRANSAXLE TRANSFER GEAR BOX, 4 WHEEL DRIVE, TRANSMISSION SN16270319 AND AFTER (06) - POWER TRAIN
35
39
11
25
26
27
4
19
23
5
28
6
38
15
43
8
17
14
12
7
26
37
40
16
10
2
18
35
24
9
36
35
34
41
20
1
35
13
36
42
FIT
1:1
100%

Артикул

Название

Примечание

Количество

A168942

HOUSING

ASSEMBLY, transfer gearbox, matched set, Includes: Ref. 1 - 6

1шт.

1

NSS

NOT SOLD SEPARAT

HOUSING transfer gearbox, order A168942, Reference No. A168934

1шт.

2

NSS

NOT SOLD SEPARAT

COVER transfer gearbox, order A168942, Reference No. A168922

1шт.

4

A55459

PIN

dowel, Serial Range: cover-housing

2шт.

5

26-624

BOLT,Hex, 3/8" - 16 x 1-1/2", Gr 8

hex, Grade 8, 3/8 NC x 1-1/2 inch

3шт.

6

92-6

LOCK WASHER,3/8"

3шт.

7

26-624

BOLT,Hex, 3/8" - 16 x 1-1/2", Gr 8

hex, Grade 8, 3/8 NC x 1-1/2 inch

2шт.

8

92-6

LOCK WASHER,3/8"

2шт.

9

221-411

ELBOW,90 Degree, 1/8"-27, NPT

Street, gearbox cover 90º, 1/8"-27, NPT

1шт.

10

A12928

BREATHER

transfer gearbox

1шт.

11

A153248

STUD

transfer gearbox mounting, 4-13/16 inch

2шт.

12

92-6

LOCK WASHER,3/8"

2шт.

13

129-103

NUT,Hex, 3/8" - 16, Gr 5

NUT, 3/8"-16, G5

2шт.

14

13-830

BOLT,Hex, 1/2" - 13 x 1-7/8", Gr 5

4шт.

15

92-8

LOCK WASHER,1/2"

4шт.

16

166-87

BOLT,Flg, 1/2" - 13 x 1 1/2", Gr 8

12 point head, 1/2 NC x 1-1/2 inch

2шт.

17

A156286

NEEDLE BEARING,Needle, 38.1mm ID x 47.63mm OD x 25.4mm W

BEARING idler gear, front

1шт.

18

A29540

PIN

dowel, transmission housing

1шт.

19

221-4

DRAIN PLUG,Sq Hd, 1/2"-14 NPTF

PLUG square head, 1/2 inch PT

1шт.

20

A156248

GASKET

GASKET transmission housing to transfer gearbox

1шт.

23

A157228

OIL SEAL

input gear oil

1шт.

24

A31234

RING

bearing to gearbox retaining

1шт.

25

CASA27117

RING, SNAP

RING retaining, 0.096 inch (2.44 mm)

1шт.

25

A27118

RING, SNAP

RING retaining, 0.0975 inch (2,47 mm)

1шт.

25

A27119

RING, SNAP

RING retaining, 0.099 inch (2.52 mm)

1шт.

25

A27116

SNAP RING

RING retaining, 0.109 inch (2.78 mm)

1шт.

26

A21266

BALL BEARING,2.1654" ID x 3.937" OD x 0.8268"

BEARING input gear

2шт.

27

A31234

RING

bearing to gearbox retaining

1шт.

28

A179007

PINION

GEAR input, 14 teeth

1шт.

34

F7356

NEEDLE BEARING,Needle, 38.1mm ID x 47.63mm OD x 22.23mm W

BEARING idler gear, rear

1шт.

35

A54031

WASHER,38.15mm ID x 55.3mm OD x 2.41mm Thk

idler gear thrust

4шт.

36

T41022

THRUST BEARING,38.22mm ID x 55.17mm OD x 1.98mm W

BEARING idler gear thrust

2шт.

37

A156256

GEAR

idler, 17 teeth

1шт.

38

A140222

PLUG

transfer gearbox drain

1шт.

39

A58608

GASKET

drain plug

1шт.

40

A179006

SHAFT

SPLINE stub

1шт.

41

A179155

O-RING,1.171" ID x 1.449" OD x 0.139"

O RING sealing

1шт.

42

A179071

OIL SEAL

oil

1шт.

43

A140169

SNAP RING,#106, 1.000", Ext

RING snap

1шт.

Выбрано товаров: 39