Запчасти Case 580SE (588) - REAR FENDERS, CAB MODELS ONLY, MODELS WITHOUT CAB OR CANOPY (09) - CHASSIS/ATTACHMENTS

Схема запчастей Case 580SE - (588) - REAR FENDERS, CAB MODELS ONLY, MODELS WITHOUT CAB OR CANOPY (09) - CHASSIS/ATTACHMENTS
9
5
15
1
2
12
10
16
3
4
11
13
7
6b
12
6
9
8
16a
18
14
6a
6c
8a
19
17
FIT
1:1
100%

Артикул

Название

Примечание

Количество

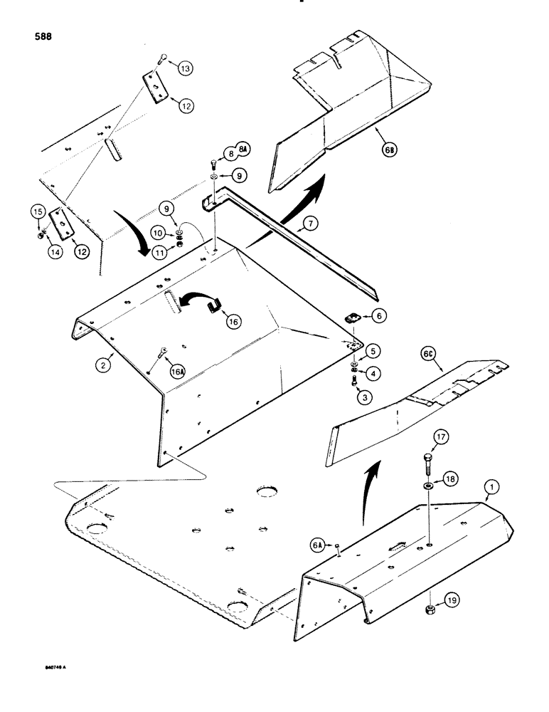
1

D88844

FENDER

right hand, rear fenders

1шт.

2

D92322

FENDER

left hand, includes decals, See Figures 670 and 672, rear fenders

1шт.

3

113-103

BOLT,Hex, 5/16" - 18 x 1", Gr 5

Rear fenders Hex, 5/16"-18 x 1", G5, Full Thd

2шт.

4

192-20

LOCK WASHER,Helical Spring, 0.318" ID, CST, ZND

WASHER, LOCK, , Rear fenders 5/16"

2шт.

5

195-521

WASHER,5/16", SAE

flat, plated, 5/16", rear fenders

2шт.

6

131-636

SPRING NUT,J, Ret, 5/16"-18

j type, 5/16" - 18 NC, rear fenders

2шт.

6a

353-401

PLUG,Dome, .312" hole, Nylon

nylon, 5/16", if used, rear fenders

4шт.

6b

D126943

COVER

padded, left hand fender, optional deluxe interior, cab models only

1шт.

6c

D126942

COVER

padded, right hand fender, optional deluxe interior, cab models only

1шт.

7

F96723

ANGLE

SEAL metal, door frame, cab models only

1шт.

8

113-3

BOLT,Hex, 1/4" - 20 x 3/4", Gr 5

Used on models without padded fender covers, cab models only Hex, 1/4"-20 x 3/4", G5, Full Thd

3шт.

8a

113-4

BOLT,Hex, 1/4" - 20 x 1", Gr 5

Used on models with padded fender covers, cab models only Hex, 1/4"-20 x 1", G5

3шт.

9

195-518

WASHER,1/4", SAE

flat, plated, 1/4", cab models only

6шт.

10

192-19

LOCK WASHER,Helical Spring, 0.256" ID, CST, ZND

WASHER, LOCK, , Cab models only 1/4"

3шт.

11

7770

NUT,Hex, 1/4 - 20, Cl 5

1/4"-20, G5, Cab models only

3шт.

12

D93336

PLATE

cover, air conditioner drain tube, models without heater, cab models only

2шт.

13

113-102

BOLT,Hex, 5/16" - 18 x 3/4", Gr 5

Hex, 5/16"-18 x 3/4", G5, Full Thd, Cab models only

2шт.

14

192-20

LOCK WASHER,Helical Spring, 0.318" ID, CST, ZND

WASHER, LOCK, , Cab models only 5/16"

2шт.

15

9635082

NUT,5/16" - 18, Gr 5

Cab models only 5/16"-18, G5

2шт.

16

REF

INSTRUCTION

TRIM edge, for heater hoses, left hand side, 7" (179 mm) long, Replaces 3" (76 mm) long trim used on some models, cut from F42827, see below, cab models only

1шт.

16a

182-501

SCREW,Cross Pan Hd, 5/16" - 18 x 3/4"

machine, pan Phillips head, plated, 5/16" - 18 NC x 3/4", used on models with padded fender covers, cab models only

4шт.

17

113-708

BOLT,Hex, 3/4" - 10 x 2", Gr 5

Models without cab or canopy Hex, 3/4"-10 x 2", G5

4шт.

18

195-545

WASHER,3/4", SAE

flat, plated, 3/4", models without cab or canopy

4шт.

19

129-108

NUT,3/4"-10, G5

Models without cab or canopy 3/4"-10, G5

4шт.

F42827

TRIM,2946.4mm L

TRIM edge, 116" (2946 mm) long, models without cab or canopy

1шт.

Выбрано товаров: 25