Запчасти Case 580SE (068) - FUEL TANK AND FUEL LINES (03) - FUEL SYSTEM

Схема запчастей Case 580SE - (068) - FUEL TANK AND FUEL LINES (03) - FUEL SYSTEM
5
1
9
13
14
18
4
6
8
11
15
3
16
4
14
17
19
10
2
12
13a
7
FIT
1:1
100%

Артикул

Название

Примечание

Количество

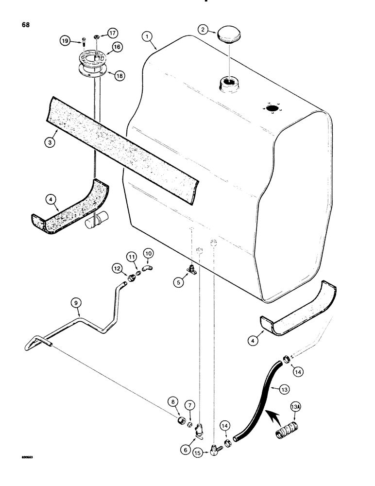
1

D124538

FUEL TANK

diesel fuel

1шт.

2

A51390

CAP

fuel tank

1шт.

Ref #3, spongy, rubber strip, is not listed in the text, however is shown in the picture. The part number is D86157. This is per a 480E which uses the same fuel tank.

1шт.

4

D93351

FOAM

STRIP sponge rubber, bottom

2шт.

5

217-81

VALVE

fuel tank drain

1шт.

D74027

VALVE

SHUTOFF VALVE ASSEMBLY, fuel tank outlet, Includes: Ref. 6 - 8

1шт.

6

NSS

NOT SOLD SEPARAT

BODY shutoff valve

1шт.

7

222-654

FERRULE,3/8" Tube, Comp

fitting

1шт.

8

222-664

TUBE NUT,9/16"-24, 45 Degree Fl, Comp

NUT compression, fitting

1шт.

9

D126696

TUBE

engine supply

1шт.

222-95

ELBOW,45 Degree, 5/8"-24 x 1/4" NPT

ASSEMBLY, tube, 45 degree, Includes: Ref. 10 - 12

1шт.

10

NSS

NOT SOLD SEPARAT

BODY elbow

1шт.

11

222-104

SLEEVE,3/8" Tube

fitting, for 3/8" (9.53 mm) tube

1шт.

12

222-114

NUT,5/8"-24

NUT compression, fitting, for 3/8" (9.53 mm) tube

1шт.

13

D72098

HOSE,0.25" ID x 17.00", SAE 30R6 or SAE 30R7

Engine Return 0.25" ID x 17.00", SAE 30R6 or SAE 30R7

1шт.

13a

D126828

GUARD

tube, return

1шт.

14

214-274

HOSE CLAMP,#04, 0.25" - 0.62", Type F Worm

tube #4, 0.25/0.62 Type F Worm

2шт.

15

217-294

FITTING,90 Degree Elbow, 1/4" Hose Barb x 1/4" Male NPTF

barb, 90 degree

1шт.

16

D83480

TRANSMITTER

SENDER fuel level gauge

1шт.

17

193-1000

NUT,Keps, w/LW,#10-32

AND LOCK WASHER plated, No.10 - 32 NF

1шт.

18

A11822

GASKET

fuel sender

1шт.

19

D75465

SCREW,#10 - 32 x 5/8"

special sealing

5шт.

Выбрано товаров: 22