Запчасти Case 580SK (2-14) - MUFFLER AND EXHAUST SYSTEM MODELS WITHOUT TURBOCHARGED ENGINE (02) - ENGINE

Схема запчастей Case 580SK - (2-14) - MUFFLER AND EXHAUST SYSTEM MODELS WITHOUT TURBOCHARGED ENGINE (02) - ENGINE
3
5
1
12
10
9
2
6
4
11
8
7
FIT
1:1
100%

Артикул

Название

Примечание

Количество

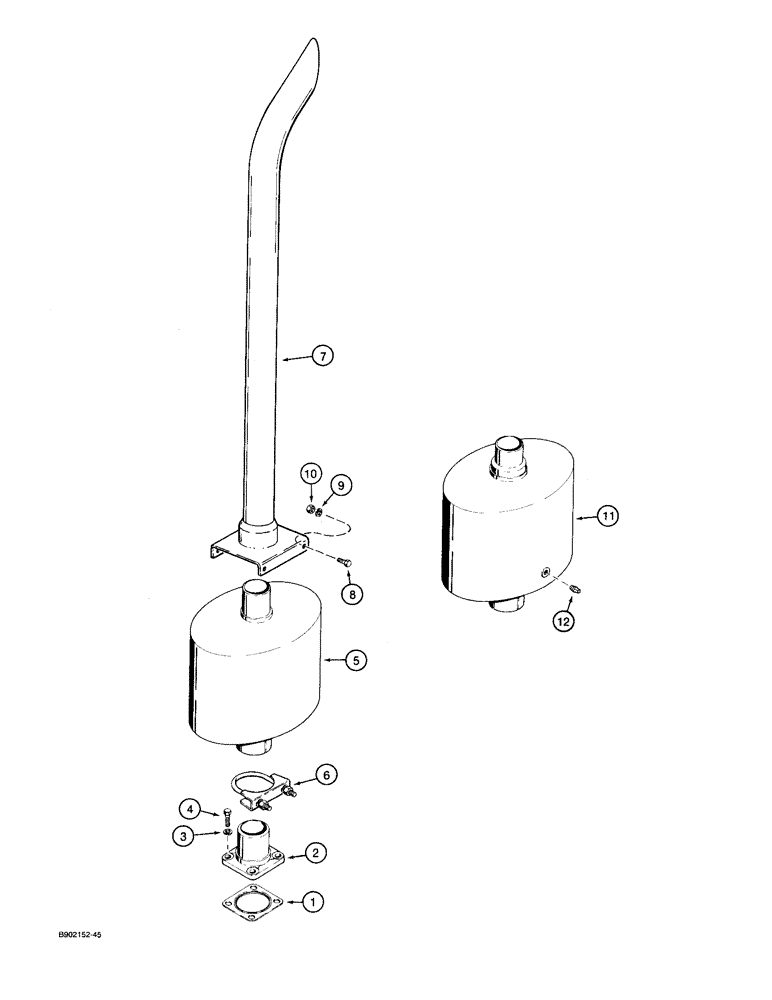
1

J912220

GASKET,0.4mm Thk

steel, muffler adapter, muffler and exhaust system models without turbocharged engine

1шт.

2

A170611

ADAPTER

muffler, muffler and exhaust system models without turbocharged engine

1шт.

3

892-11010

LOCK WASHER,M10

Muffler and exhaust system models without turbocharged engine M10

4шт.

4

614-10025

BOLT,Hex, M10 x 1.5 x 25mm, Cl 8.8

Muffler and Exhaust System Models without Turbocharged Engine Hex, M10 x 25, 8.8, Full Thd

4шт.

5

A184237

MUFFLER

engine exhaust, under hood, standard, if used, muffler and exhaust system models without turbocharged engine

1шт.

6

A13240

CLAMP,2-5/8" ID

muffler, includes hardware, replaces A62874 clamp, muffler and exhaust system models without turbocharged engine

1шт.

7

D151014

PIPE

exhaust, muffler extension, attaches to hood, replaces D136087 pipe, muffler and exhaust system models without turbocharged engine

1шт.

8

413-512

BOLT,Hex, 5/16" - 18 x 3/4", Gr 5

hex, 5/16 NC x 3/4 inch, muffler and exhaust system models without turbocharged engine

4шт.

9

492-11031

LOCK WASHER,5/16"

WASHER, LOCK, , muffler and exhaust system models without turbocharged engine 5/16"

4шт.

10

425-105

NUT,5/16"-18, G5

- hex, 5/16 inch NC, Muffler and exhaust system models without turbocharged engine

4шт.

11

A189315

MUFFLER

spark arrester, under hood, if used, spark arrester muffler, Includes: Ref. 12.

1шт.

12

217-77

PLUG

square, 3/8 inch PT, spark arrester muffler

1шт.

Выбрано товаров: 12