Запчасти Case 580SK (9-166) - SLOW MOVING VEHICLE EMBLEM, USED ON MODELS WITH BACKHOE (09) - CHASSIS/ATTACHMENTS

Схема запчастей Case 580SK - (9-166) - SLOW MOVING VEHICLE EMBLEM, USED ON MODELS WITH BACKHOE (09) - CHASSIS/ATTACHMENTS
7
13
12
17
8
9
5
11
1
3
2
9
8
6
18
14
16
15
4
10
FIT
1:1
100%

Артикул

Название

Примечание

Количество

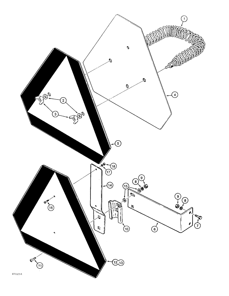
1

D52564

SPRING

emblem retaining, used on models with backhoe

1шт.

2

495-11028

WASHER,1/4", SAE

(flat, 9/32 x 5/8 x 1/16"), Used on models with backhoe 1/4", SAE

2шт.

3

129-409

WING NUT,1/4"-20

NUT, WING, , Used on models with backhoe 1/4"-20

2шт.

4

D123347

WARNING SIGN

EMBLEM plate and decal, slow moving vehicle, used on models with backhoe, Includes: Ref. 5

1шт.

5

321-4311

DECAL

slow moving vehicle emblem, used on models with backhoe

1шт.

6

D140308

BRACKET

slow moving vehicle emblem mounting, horizontal, used on models without backhoe

1шт.

7

413-512

BOLT,Hex, 5/16" - 18 x 3/4", Gr 5

hex, 5/16 NC x 3/4 inch, used on models without backhoe

2шт.

8

492-11031

LOCK WASHER,5/16"

WASHER, LOCK, , Used on models without backhoe 5/16"

3шт.

9

425-105

NUT,5/16"-18, G5

- hex, 5/16 inch NC, Used on models without backhoe

3шт.

10

A59457

BRACKET

emblem mounting, short, used on models without backhoe

1шт.

11

111-215

CARRIAGE BOLT,Short NK, 5/16"-18 x 3/4", G2, Full Thd

BOLT carriage, short neck, 5/16 inch - 18 NC x 3/4 inch, used on models without backhoe

2шт.

D123347

WARNING SIGN

EMBLEM ASSEMBLY plate and decal, used on models without backhoe, Includes: Ref. 12 and 13

1шт.

12

NSS

NOT SOLD SEPARAT

PLATE SMV emblem, used on models without backhoe

1шт.

13

321-4311

DECAL

slow moving vehicle emblem, used on models without backhoe

1шт.

14

A59451

BRACKET

emblem mounting, vertical, used on models without backhoe

1шт.

15

495-11034

WASHER,5/16", SAE

5/16" SAE (flat, 11/32 x 11/16 x 1/16"), Used on models without backhoe

2шт.

16

470-1108

SCREW,Slotted Pan Hd, #10-24 x 1/2"

machine, pan head slotted, No. 10 NC x 1/2 inch, used on models without backhoe

2шт.

17

492-11010

LOCK WASHER,#10

WASHER, LOCK, , Used on models without backhoe #10

2шт.

18

129-17

NUT,Hex, #10 - 24

NUT hex, No. 10 NC, used on models without backhoe

2шт.

Выбрано товаров: 0