Запчасти Case 580SK (2-48) - CRANKSHAFT, 4-390 ENGINE, 4T-390 ENGINE (02) - ENGINE

Схема запчастей Case 580SK - (2-48) - CRANKSHAFT, 4-390 ENGINE, 4T-390 ENGINE (02) - ENGINE
16
20
11
21
11
13
5
1
15
12
23
12
10
8
4a
24
22
17
9
6
3
14
21
11
4
7
2
11
FIT
1:1
100%

Артикул

Название

Примечание

Количество

JR918323

CRANKSHAFT

ASSEMBLY, remanufactured, North America only, component parts shown on this page do not apply to the remanufactured assembly, part will no longer be remanufactured, order J918323

1шт.

J929036R

REMAN-CRANKSHAFT

580SK, Reman For New P/N JR918323

1шт.

J929036C

CORE-CRANKSHAFT

Return Number

1шт.

JC908031

CORE-CRANKSHAFT

RETURN NUMBER, use this part number to return crankshaft for credit when using a remanufactured assembly

1шт.

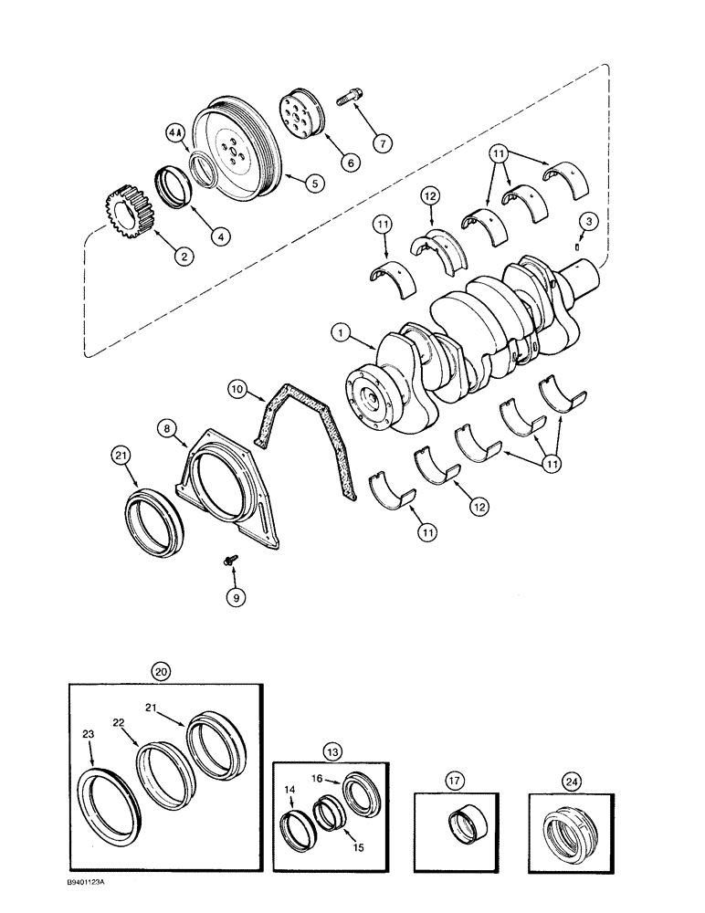
1

J918323

CRANKSHAFT

ASSEMBLY engine, new, Includes: Ref. 2 and 3.

1шт.

J929036R

REMAN-CRANKSHAFT

580SK, Reman for New P/N J918323

1шт.

J929036C

CORE-CRANKSHAFT

Return Number

1шт.

2

J919681

PINION

GEAR crankshaft, replaces J912883 gear

1шт.

3

J904483

PIN,6.01mm OD x 8mm L

dowel

1шт.

4

NSS

NOT SOLD SEPARAT

SEAL oil, crankshaft front, order Ref. 13 Kit

1шт.

4a

J926430

SHAFT SEAL

SHIELD crank seal, dust, service repair only

1шт.

5

J914494

PULLEY,181.25mm OD

crankshaft dampener

1шт.

6

J905820

ADAPTER

FLANGE adapter, pulley

1шт.

7

J903857

BOLT,Hex, M12 x 1.25 x 36mm

hex flange, 12 - 1.75 x 36 mm

4шт.

8

J921043

REAR COVER

RETAINER rear seal, replaces J913447 retainer

1шт.

9

845-6015

BOLT,Hvy Hex, M6 x 15mm, Cl 8.8

6шт.

10

J914386

GASKET

seal retainer

1шт.

11

A77405

CRANKSHAFT BEARING

BEARING main, standard, upper and lower set

4шт.

11

A77472

BEARING SET

BEARING main, 0.25 mm undersize, upper and lower

4шт.

11

A77474

BEARING SET

BEARING main, 0.50 mm undersize, upper and lower

4шт.

11

A77476

BEARING SET

BEARING main, 0.75 mm undersize, upper and lower

4шт.

11

A77478

BEARING SET

BEARING main, 1.00 mm undersize, upper and lower

4шт.

12

A77406

CRANKSHAFT BEARING

BEARING main thrust, standard, upper and lower set

1шт.

12

A77473

THRUST BEARING

BEARING main thrust, 0.25 mm undersize, upper and lower set

1шт.

12

A77475

THRUST BEARING

BEARING main thrust, 0.50 mm undersize, upper and lower set

1шт.

12

A77477

THRUST BEARING

BEARING main thrust, 0.75 mm undersize, upper and lower set

1шт.

12

A77479

THRUST BEARING

BEARING main thrust, 1.00 mm undersize, upper and lower set

1шт.

13

J904353

GASKET KIT

KIT oil seal, crankshaft front, Includes: Ref. 14, 15 and 16.

1шт.

14

NSS

NOT SOLD SEPARAT

SEAL oil, front

1шт.

15

NSS

NOT SOLD SEPARAT

TOOL installation

1шт.

16

NSS

NOT SOLD SEPARAT

TOOL installation

1шт.

17

J906080

PACKAGE, REPAIR

SLEEVE wear, crankshaft front

1шт.

20

J909411

SEAL

KIT oil seal, crankshaft rear, Includes: Ref. 21, 22 and 23.

1шт.

21

NSS

NOT SOLD SEPARAT

SEAL oil, rear

1шт.

22

NSS

NOT SOLD SEPARAT

TOOL installation

1шт.

23

NSS

NOT SOLD SEPARAT

TOOL installation

1шт.

24

J906081

SLEEVE

wear, crankshaft rear

1шт.

Выбрано товаров: 37