Запчасти Case 680CK (206) - EQUIPMENT HYDRAULICS, OIL COOLER, LOADER RETURN, BACKHOE PRESSURE & RETURN LINE HYDRAULICS (84) - BOOMS, DIPPERS & BUCKETS

Схема запчастей Case 680CK - (206) - EQUIPMENT HYDRAULICS, OIL COOLER, LOADER RETURN, BACKHOE PRESSURE & RETURN LINE HYDRAULICS (84) - BOOMS, DIPPERS & BUCKETS
FIT
1:1
100%

Артикул

Название

Примечание

Количество

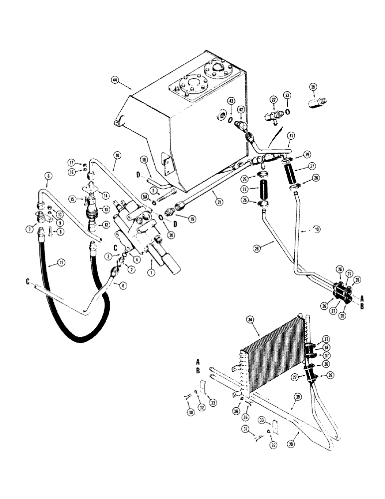
1

L13755

X

VALVE - hydraulic, loader control (2 spool) Used on models with return to dig feature, Parts list Figure 226

1шт.

2

L30446

FITTING

CONNECTOR - power beyond

1шт.

3

218-5010

O-RING,0.116" Thk x 1.171" ID, -916, Cl 6, 90 Duro

SEAL - "O"ring, connector (Large)

1шт.

4

L32680

RING

SEAL - "O"ring, connector (Small) (Replaces A25590)

1шт.

REF#4 ANOTHER SEAL WAS USED(NOT A SUB) 10/31/96

1шт.

5

13-660

BOLT,Hex, 3/8" - 16 x 3-3/4", Gr 5

HHCS - 3/8" - 16 NC x 3-3/4"

3шт.

5a

92-6

LOCK WASHER,3/8"

3шт.

6

L11473

TUBE - loader valve to backhoe valve 1" OD

1шт.

7

L11295

ADAPTER - hose, special

1шт.

8

13-520

BOLT,Hex, 5/16" - 18 x 1-1/4", Gr 5

HHCS - 5/16" - 18 NC x 1-1/4"

2шт.

9

92-5

LOCK WASHER,5/16"

2шт.

10

9635082

NUT,5/16" - 18, Gr 5

- hex. (5/16" 18 NC)

2шт.

11

L11271

HOSE - loader valve to backhoe valve (45" long)

1шт.

12

L10904

COUPLING

- hydraulic, male half, Parts list Figure 256

1шт.

13

L10905

COUPLING

- hydraulic, female half, Parts list Figure 256

1шт.

14

L11293

CONNECTOR - special, female coupling

1шт.

15

13-520

BOLT,Hex, 5/16" - 18 x 1-1/4", Gr 5

HHCS - 5/16" - 18 NC x 1-1/4"

2шт.

16

92-5

LOCK WASHER,5/16"

2шт.

17

9635082

NUT,5/16" - 18, Gr 5

- hex. (5/16" - 18 NC)

2шт.

18

L11284

TUBE - backhoe valve to cooler tee 1" OD x 57.06, 8.53" L

1шт.

19

L12050

CONNECTOR, ELEC

ADAPTER - male, straight

1шт.

20

218-5008

O-RING,0.116" Thk x 0.924" ID, -912, Cl 6, 90 Duro

SEAL - "O"ring

1шт.

21

L11476

TUBE - loader valve to cooler tee

1шт.

22

L13706

TEE - special, oil cooler

1шт.

23

218-5010

O-RING,0.116" Thk x 1.171" ID, -916, Cl 6, 90 Duro

SEAL - "O"ring

1шт.

24

RESERVED

1шт.

25

L13715

HOUSING - relief valve

1шт.

26

214-254

HOSE CLAMP,#12, 0.69" - 1.25", Type F Worm

CLAMP - hose

10шт.

27

L13707

HOSE,0.75" ID x 1.25" OD

0.75" ID x 5.00", SAE 100R2, Tube Connector, Low Pressure

5шт.

28

L13708

TUBE - cooler intake, rear

1шт.

29

L13709

TUBE - cooler intake front 0.75" OD

1шт.

30

13-516

BOLT,Hex, 5/16" - 18 x 1", Gr 5

(Rear clamp) Hex, 5/16"-18 x 1", G5, Full Thd

1шт.

31

13-528

BOLT,Hex, 5/16" - 18 x 1-3/4", Gr 5

HHCS - 5/16" - 18 NC x 1-3/4" (Front clamp)

1шт.

32

92-5

LOCK WASHER,5/16"

2шт.

33

A14078

CLAMP

- tube

2шт.

34

A57183

COOLER ASSY.

COOLER - hydraulic oil

1шт.

35

13-512

BOLT,Hex, 5/16" - 18 x 3/4", Gr 5

4шт.

36

92-5

LOCK WASHER,5/16"

4шт.

37

214-254

HOSE CLAMP,#12, 0.69" - 1.25", Type F Worm

CLAMP - hose

2шт.

38

R14170

HOSE

- low pressure

1шт.

39

L13710

TUBE - cooler return, front

1шт.

40

L13711

TUBE - cooler return, rear 0.75" OD

1шт.

41

L13712

TUBE - hydraulic oil, at tank

1шт.

42

218-5110

ELBOW,90 Degree Elbow, 1-5/16" - 12 Male JIC x 1-5/16" - 12 Male ORB

adjustable 90º, 1 5/16"-12, 37º x 1 5/16"-12, O-Ring

1шт.

43

218-5010

O-RING,0.116" Thk x 1.171" ID, -916, Cl 6, 90 Duro

SEAL - "O"ring

1шт.

44

L13680

TANK - hydraulic oil reservoir (Used before tractor serial number 9101537), See Figure 136 for related parts

1шт.

L15192

TANK - hydraulic oil reservoir (Used on tractor serial number 9101537 and after), See Figure 136 for related parts

1шт.

Выбрано товаров: 47