Запчасти Case 680CK (246) - D40756 BACKHOE SWING SECTION (84) - BOOMS, DIPPERS & BUCKETS

Схема запчастей Case 680CK - (246) - D40756 BACKHOE SWING SECTION (84) - BOOMS, DIPPERS & BUCKETS
FIT
1:1
100%

Артикул

Название

Примечание

Количество

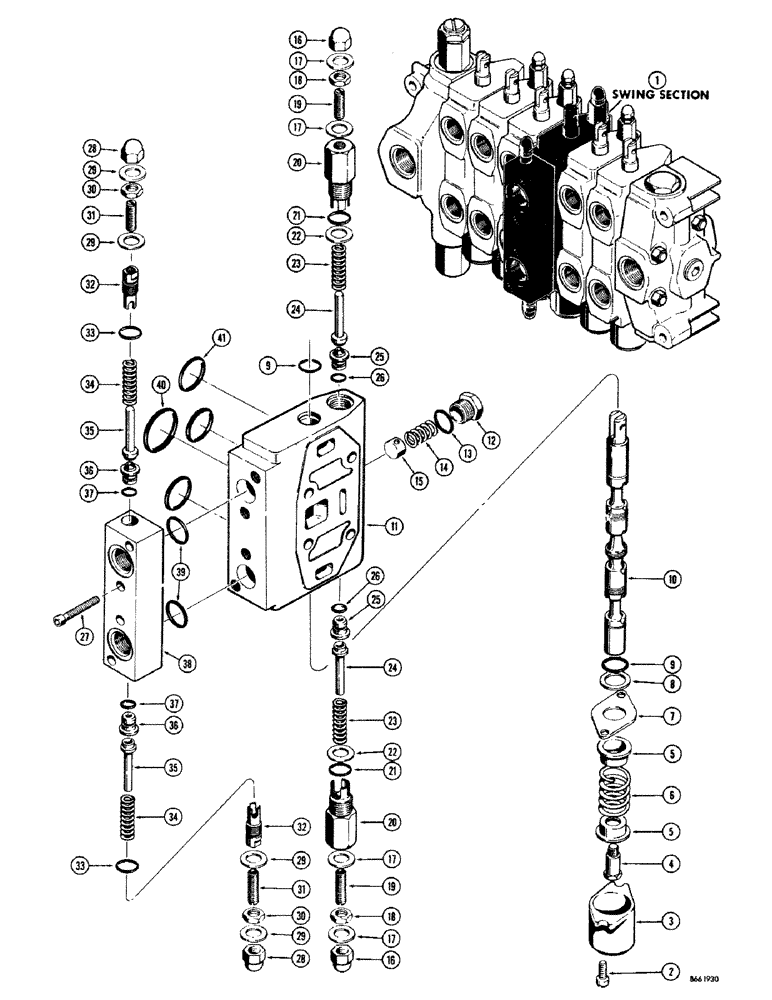
1

D40756

KNIFE SECTION

SWING SECTION - backhoe control valve

1шт.

2

71-512

SCREW,Slotted Fil Hd, 5/16"-18 x 3/4"

FHMS - 5/16" - 18 NC x 3/4"

2шт.

3

D32221

COVER

CAP - swing section

1шт.

4

D32128

BOLT (SPREADER)

BOLT - stripper, special

1шт.

5

D32130

GUIDE

- spring

2шт.

6

D40761

SPRING - centering

1шт.

7

R20556

PLATE - retaining

1шт.

8

D32215

RING

- backup

1шт.

9

D29898

RING

SEAL - quad ring

2шт.

10

NSS

NOT SOLD SEPARAT

SPOOL - swing section

1шт.

11

NSS

NOT SOLD SEPARAT

HOUSING - swing section

1шт.

12

39007

CAP

- check valve

1шт.

13

A27342

O-RING,1.109" ID x 1.387" OD x 0.139"

SEAL - "O"ring

1шт.

14

R15308

VALVE SPRING

SPRING - check valve

1шт.

15

D45694

SPOOL

POPPET - check valve

1шт.

D42866

VALVE

CARTRIDGE - secondary relief (Not preset) Must be set to correct pressure when installed on valve

2шт.

16

129-526

CROWN NUT,Low, 3/8" - 24

- acorn (3/8" - 24 NF)

1шт.

17

23150

WASHER

GASKET - copper

2шт.

18

25-156

JAM NUT,Jam, 3/8"-24, G5

- hex., jam (3/8" - 24 NF)

1шт.

19

D38814

ADJUSTMENT SCREW,3/8" - 24

SCREW - set, special

1шт.

20

NSS

NOT SOLD SEPARAT

BODY - cartridge

1шт.

21

D26872

O-RING

SEAL - "O"ring, 1/2" I.D. x 5/8" O.D.

1шт.

22

D31450

WASHER

- gasket

1шт.

D42865

VALVE POPPET

KIT - seat and poppet

1шт.

23

NSS

NOT SOLD SEPARAT

SPRING - relief valve

1шт.

24

NSS

NOT SOLD SEPARAT

POPPET - relief valve

1шт.

25

NSS

NOT SOLD SEPARAT

SEAT - relief valve

1шт.

26

D31411

O-RING,0.07" Thk x 0.239" ID, -10, Cl 6, 90 Duro

-010, 90 Duro, .239" ID x .070" Thk, Seal (1/4" ID x 3/8" OD)

1шт.

27

61-528

HEX SOC SCREW,5/16"-18 x 1 3/4"

SCREW - hex socket head (5/16" - 18 NC x 1-3/4")

4шт.

D40760

CROSSOVER BLOCK ASSEMBLY - swing section (When stock is exhausted order D47880 crossover block for service)

1шт.

D47880

LOCK VALVE

CROSSOVER BLOCK ASSEMBLY - swing section

1шт.

28

129-526

CROWN NUT,Low, 3/8" - 24

- acorn (3/8" - 24 NF)

2шт.

29

23150

WASHER

GASKET - copper

4шт.

30

25-156

JAM NUT,Jam, 3/8"-24, G5

- hex., jam (3/8" 24 NF)

2шт.

31

D40776

SCREW

- set, special

2шт.

32

D40777

BODY - relief valve

2шт.

33

A30097

O-RING,0.549" ID x 0.755" OD x 0.103"

SEAL - "O"ring, 9/16" I.D. x 3/4" O.D.

2шт.

D42865

VALVE POPPET

KIT - seat and poppet

1шт.

34

NSS

NOT SOLD SEPARAT

SPRING - relief valve

2шт.

35

NSS

NOT SOLD SEPARAT

POPPET - relief valve

1шт.

36

NSS

NOT SOLD SEPARAT

SEAT - relief valve

1шт.

37

D31411

O-RING,0.07" Thk x 0.239" ID, -10, Cl 6, 90 Duro

-010, 90 Duro, .239" ID x .070" Thk, Seal (1/4" ID x 3/8" OD)

1шт.

38

NSS

NOT SOLD SEPARAT

HOUSING - crossover

1шт.

39

A7623

O-RING,0.139" Thk x 0.984" ID, -214, Cl 5, 75 Duro

SEAL - "O"ring, 1" I.D. x 1-1/4" O.D.

2шт.

40

D32127

O-RING

SEAL - "O"ring, 1-13/16" I.D. x 2" O.D.

1шт.

41

D26820

O-RING,0.103" Thk x 1.549" ID, -129, Cl 5, 75 Duro

SEAL - "O"ring, 1-9/16" I.D. x 1-3/4" O.D.

3шт.

Выбрано товаров: 46