Запчасти Case 680CK (044) - VALVES AND VALVE MECHANISM, (251) SPARK IGNITION ENGINE (10) - ENGINE

Схема запчастей Case 680CK - (044) - VALVES AND VALVE MECHANISM, (251) SPARK IGNITION ENGINE (10) - ENGINE
FIT
1:1
100%

Артикул

Название

Примечание

Количество

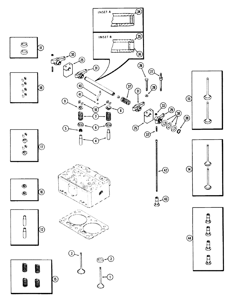
1

NSS

NOT SOLD SEPARAT

VALVE - exhaust (Order ref. 14)

4шт.

2

NSS

NOT SOLD SEPARAT

INSERT - exhaust valve seat (Order ref. 11)

4шт.

3

NSS

NOT SOLD SEPARAT

VALVE - intake (Order ref. 13)

4шт.

4

NSS

NOT SOLD SEPARAT

GUIDE - valves (Order ref. 12)

8шт.

5

A10726

SEAL

SHIELD - oil, intake valve

4шт.

6

A27866

SEAT

- valve springs

8шт.

7

NSS

NOT SOLD SEPARAT

SPRING - valves (Order ref. 15)

8шт.

8

NSS

NOT SOLD SEPARAT

ROTO CAP - exhaust valve (Order ref. 16)

4шт.

9

NSS

NOT SOLD SEPARAT

RETAINER - intake valve (Order ref. 17)

4шт.

10

NSS

NOT SOLD SEPARAT

KEEPER - valve locks (Order ref. 18)

16шт.

11

A33453

KIT

INSERT KIT - exhaust valve (Set of 2)

2шт.

12

A21673

GUIDE

KIT - valves (Set of 2)

4шт.

13

A33455

VALVE

KIT - intake (Set of 2)

2шт.

14

A33456

VALVE, ENG EXHAUST,

VALVE KIT - exhaust (Set of 2)

2шт.

15

A21694

SPRING

KIT - valves (Set of 4)

2шт.

16

A57433

COIL

ROTO CAP KIT - exhaust valve (Set of 2)

2шт.

17

A21657

LOCK

RETAINER KIT - intake valve (Set of 2 retainers & 4 keeper)

2шт.

18

A40352

LOCK

KEEPER KIT - valve locks (Set of 8)

2шт.

25

A27881

BRACKET

- rocker shaft

4шт.

26

13-760

BOLT,Hex, 7/16" - 14 x 3-3/4", Gr 5

Bracket Hex, 7/16"-14 x 3 3/4", G5

4шт.

27

A57458

STUD

- bracket & cyl. head cover

4шт.

28

92-7

LOCK WASHER,7/16"

4шт.

29

A22324

ROCKER

ARM ASSY. - rocker (Exhaust valves) (No. 1 & no. 3 cylinders) (Incl. items 32 & 33)

2шт.

30

A22326

ROCKER

ARM ASSY. - rocker (Exhaust valves) (No. 2 & no. 4 cylinders) (Incl. items 32 & 33)

2шт.

31

A22322

ROCKER

ARM ASSY. - rocker (Intake valve) Incl. items 32 & 33)

4шт.

32

A21105

ADJUSTMENT SCREW,3/8" - 24 x 1 9/16"

SCREW - adjusting, rocker arm

1шт.

33

25-156

JAM NUT,Jam, 3/8"-24, G5

- lock, adj. screw, 3/8" N.C. hex., jam

1шт.

34

A57532

SHAFT

ASSY. - rocker arms (w/plug) (See inset A) (1st used eng. ser. no. 2203667)

2шт.

35

A21100

SHAFT

ASSY. - rocker arms (Takes 9/16" plug) (See inset B) (Used prior to eng. ser. #32203667)

2шт.

36

A26667

PLUG - rocker shaft (9/16" cup type) (See inset B)

2шт.

37

A27877

SPRING

- rocker shaft

2шт.

38

A27878

WASHER

- rocker shaft (29/32 x 1-5/16 x .028")

14шт.

39

B18206

SNAP RING,#87, Ext

Ring, Snap, , rocker shaft #87, Ext

4шт.

40

A27879

TUBE

- oil, rocker shaft

2шт.

41

A27880

O-RING,0.07" Thk x 0.18" ID, -8, Cl 5, 75 Duro

"O" RING - oil tube (3/16 x 5/16 x 1/16")

2шт.

42

A21060

ROD

- push

8шт.

43

NSS

NOT SOLD SEPARAT

LIFTER - push rod (Order ref. 44)

8шт.

44

A21653

KIT

LIFTER KIT - push rod (Set of 4)

2шт.

Выбрано товаров: 38