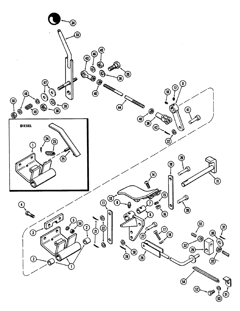
Запчасти Case 680CK (056) - ACCELERATOR LINKAGE AND FUEL SHUT OFF

Схема запчастей Case 680CK - (056) - ACCELERATOR LINKAGE AND FUEL SHUT OFF
FIT
1:1
100%

Артикул

Название

Примечание

Количество

1

L10817

SUPPORT ASSY. - accel. & fuel shut off

1шт.

2

L10818

BUSHING

2шт.

3

L10823

PLATE - support mtg., accel. linkage

1шт.

4

13-620

BOLT,Hex, 3/8" - 16 x 1-1/4", Gr 5, Full Thd

Plate support Hex, 3/8"-16 x 1 1/4", G5, Full Thd

2шт.

5

92-6

LOCK WASHER,3/8"

2шт.

6

L10824

ARM ASSY. - accelerator

1шт.

7

A29946

BUSHING

1шт.

8

219-8

LUBE NIPPLE,1/4" - 28 NPTF

NIPPLE, LUBE, , taper 1/4"-28 NPT x .54" lg

1шт.

9

L10829

SLEEVE & ARM ASSY - backhoe throt. cont.

1шт.

10

85-48

SET SCREW,Sq Hd, 1/4"-20 x 1/2"

SCREW - (1/4-20 x 1/2" set, cup pt.)

1шт.

11

L10832

ARM ASSY. - backhoe throttle control

1шт.

12

181-216

SCREW - set (1/4 x 1/2 dog point)

1шт.

13

L10835

PEDAL ASSY. - accelerator

1шт.

14

175-408

SCREW,Phil Truss Head, 1/4" - 20 x 3/4"

- (1/4-20 x 3/4" N. C. ph. hd.)

2шт.

15

92-4

LOCK WASHER,1/4"

WASHER, LOCK, 1/4"

2шт.

16

25-104

NUT,1/4"-20, G5

2шт.

17

181-621

SCREW - (1/4-20 x 1-1/4" set, sq. hd., N. C.)

1шт.

18

25-104

NUT,1/4"-20, G5

1шт.

19

L10838

PLATE - accel. to shaft arm

2шт.

20

141-4

CLEVIS PIN,3/8" x 1.060"

PIN, CLEVIS, , Accel. plate mtg. 3/8" x 1.060"

2шт.

21

132-27

COTTER PIN,3/32" x 7/8"

Pin, Split (Cotter), 3/32" x 7/8"

2шт.

22

195-28

WASHER,3/8"

- (7/16 x 1-3/8 x 3/32") (Replaces A30058)

3шт.

23

T34032

VALVE SPRING

SPRING - pedal return, fuel shut off (Diesel only)

1шт.

24

132-89

COTTER PIN,3/16" x 3/4"

Pin, Split (Cotter), (Diesel only) 3/16" x 3/4"

1шт.

25

L10839

PEDAL ASSY. - fuel shut off (Diesel only)

1шт.

26

L12298

ROD - ASSEMBLY - accelerator arm (Replaces L10842)

1шт.

27

141-4

CLEVIS PIN,3/8" x 1.060"

PIN, CLEVIS, 3/8" x 1.060"

1шт.

28

132-27

COTTER PIN,3/32" x 7/8"

Pin, Split (Cotter), 3/32" x 7/8"

1шт.

29

L10845

ADAPTER - throttle rod

1шт.

30

195-28

WASHER,3/8"

- (7/16" plain)

2шт.

31

132-46

COTTER PIN,1/8" x 3/4"

Pin, Split (Cotter), 1/8" x 3/4"

1шт.

32

25-156

JAM NUT,Jam, 3/8"-24, G5

- (3/8" N. C. hex., jam)

2шт.

33

L10846

ARM ASSY. - backhoe throttle

1шт.

34

A18852

KNOB

- throttle control arm

1шт.

35

L10850

BOLT - (1/2 -13 N. C. hex. shoulder)

1шт.

36

195-41

WASHER,5/8"

1шт.

37

195-33

WASHER,1/2"

- (17/32" plain)

1шт.

38

131-10

NUT,1/2"-13, GB

NUT, LOCK, 1/2"-13, GB

1шт.

39

213-14

YOKE - (3/8" -24 clevis)

1шт.

40

25-156

JAM NUT,Jam, 3/8"-24, G5

- (3/8" N. F. hex., jam)

2шт.

41

141-4

CLEVIS PIN,3/8" x 1.060"

PIN, CLEVIS, 3/8" x 1.060"

1шт.

42

132-26

COTTER PIN

Pin, Split (Cotter), 3/32" x 3/4"

1шт.

43

A32398

BALL JOINT

BEARING - spherical rod end

1шт.

44

L10851

ROD - backhoe throttle control

1шт.

45

131-6

LOCK NUT,3/8"-16, GC

NUT - (3/8" N.C. elastic hex.)

1шт.

46

195-25

WASHER,3/8"

- (13/32" plain)

1шт.

47

L10610

DISC - (21/64 x 1-1/4 x 1/8" nylon)

2шт.

48

195-524

WASHER,5/16"

- ( plain) 5/16"

2шт.

49

A26546

SPRING

- throttle lever control

1шт.

50

131-4

LOCK NUT,5/16"-18, GB

NUT - (5/16" N. C. elastic hex.)

1шт.

51

A22620

CLIP

- return spring anchor (Diesel only)

1шт.

52

13-612

BOLT,Hex, 3/8" - 16 x 3/4", Gr 5, Full Thd

Clip (Diesel only) Hex, 3/8"-16 x 3/4", G5, Full Thd

1шт.

53

92-6

LOCK WASHER,3/8"

(Diesel only) 3/8"

1шт.

54

A22619

SPRING

- throttle return (Diesel only)

1шт.

55

A34713

ROD - throttle, front (Gasoline)

1шт.

55

A34709

ROD - throttle, front (Diesel)

1шт.

56

25-106

NUT,3/8"-16, G5

- (3/8" N. C. hex.)

2шт.

Выбрано товаров: 57