Запчасти Case 680CK (132) - RADIATOR FRAME AND GRILLE

Схема запчастей Case 680CK - (132) - RADIATOR FRAME AND GRILLE
FIT
1:1
100%

Артикул

Название

Примечание

Количество

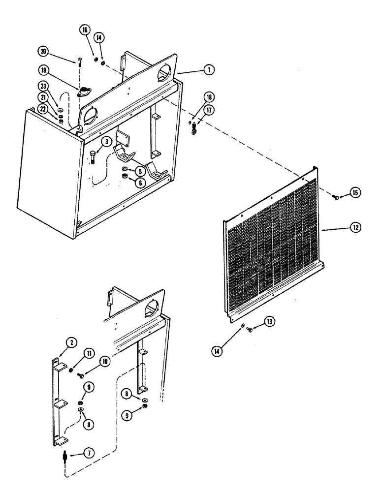
1

L11221

FRAME - radiator

1шт.

2

L11436

BRACKET - radiator mtg., R. H.

1шт.

2

L11437

BRACKET - radiator mtg., L. H.

1шт.

3

13-832

BOLT,Hex, 1/2" - 13 x 2", Gr 5

4шт.

5

92-8

LOCK WASHER,1/2"

4шт.

6

25-108

NUT,1/2"-13, G5

- (1/2" N. C. hex.)

4шт.

7

L11236

BOLT

BOLT - radiator mtg. (Flex)

6шт.

8

G49411

WASHER - (1" O. D. x 11/32" I. D. x 16 ga.)

12шт.

9

9635082

NUT,5/16" - 18, Gr 5

- (5/16" N. C. hex.)

12шт.

10

14-512

BOLT,Hex, 5/16" - 24 x 3/4", Gr 5, Full Thd

6шт.

11

92-5

LOCK WASHER,5/16"

6шт.

12

L11237

GRILLE - radiator

1шт.

13

13-512

BOLT,Hex, 5/16" - 18 x 3/4", Gr 5

3шт.

14

92-5

LOCK WASHER,5/16"

6шт.

15

13-516

BOLT,Hex, 5/16" - 18 x 1", Gr 5

3шт.

16

9635082

NUT,5/16" - 18, Gr 5

- (5/16" N. C. hex.)

3шт.

17

A24526

MEDALLION - grille

1шт.

18

131-131

NUT

- (3/16" speed push on type)

2шт.

19

L11243

SOCKET ASSY. - door check

2шт.

20

73-420

SCREW - (1/4 x 1-1/4" N. C. flat hd. mach.)

4шт.

21

92-4

LOCK WASHER,1/4"

WASHER, LOCK, 1/4"

4шт.

22

25-104

NUT,1/4"-20, G5

4шт.

23

195-15

WASHER,#12

- (1/4 x 1/2 x 3/64")

4шт.

Выбрано товаров: 23