Запчасти Case 680CK (030) - FUEL TANK (10) - ENGINE

Схема запчастей Case 680CK - (030) - FUEL TANK (10) - ENGINE
FIT
1:1
100%

Артикул

Название

Примечание

Количество

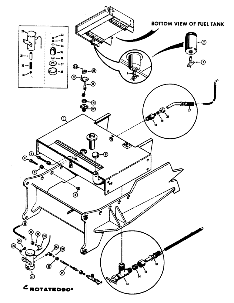
1

L25409

TANK ASSEMBLY - (Order L42547 tank and L44170 water trap for service)

1шт.

1

L42547

TANK ASSEMBLY - fuel

1шт.

2

L44170

TRAP - water (Used with L42547 tank only)

1шт.

3

13-836

BOLT,Hex, 1/2" - 13 x 2-1/4", Gr 5

HHCS - 1/2"-13 NC x 2-1/4"

5шт.

4

13-840

BOLT,Hex, 1/2" - 13 x 2-1/2", Gr 5

HHCS - 1/2"-13 NC x 2-1/2"

1шт.

5

L26290

O-RING

DYNAFLEX JOINT - fuel, Serial Range: tank-chassis

6шт.

6

131-10

NUT,1/2"-13, GB

NUT, LOCK, 1/2"-13, GB

6шт.

7

217-102

PLUG, DRAIN

DRAIN COCK - fuel tank

1шт.

8

A18870

FILLER CAP

CAP - fuel tank

1шт.

L41231

GAUGE ASSY.

GAUGE ASSEMBLY - fuel level, Includes: Ref. 9 - 12

1шт.

9

71-410

SCREW

- fillister head (1/4"-20 NC x 5/8")

4шт.

9a

187-1100

SELF-TAP SCREW,Cross Pan Hd, #6 x 3/4"

SCREW - self tapping, fillister head (#6-32 NC x 1/4")

2шт.

9b

T39600

DIAL

- fuel level gauge

1шт.

10

NSS

NOT SOLD SEPARAT

GAUGE - fuel level

1шт.

11

L11117

GASKET

- fuel gauge

1шт.

12

L11116

ADAPTER

- fuel gauge

1шт.

L26378

LOCK VALVE

VALVE ASSEMBLY - needle, fuel tank, Includes: Ref. 13 - 15

1шт.

13

NSS

NOT SOLD SEPARAT

VALVE - needle, fuel tank

1шт.

14

222-104

SLEEVE,3/8" Tube

- flex tube fitting ( O.D.) 3/8" Tube

1шт.

15

222-114

NUT,5/8"-24

NUT - flex tube fitting (3/8" tube O.D.)

1шт.

16

L11121

HOSE

- valve assembly to hand primer or fuel injection pump to fuel pump (56" long)

1шт.

17

L26374

HOSE

- return, fuel injector leak-off to tank (54" long)

1шт.

222-23

FITTING,1/2"-24 x 1/4" NPTF w/Nut

CONNECTOR ASSEMBLY - flex tube, straight, Includes: Ref. 18 - 20

1шт.

18

NSS

NOT SOLD SEPARAT

CONNECTOR - flex tube, straight

1шт.

19

222-102

SLEEVE,1/4" Tube

1шт.

20

87017024

TUBE NUT,1/2"-24

NUT - flex tube fitting (1/4" tube O.D.)

1шт.

21

L43267

HOSE

- fuel tank to fuel pump (30" long), fuel pump, standard on models with tractor s/n 9103882 and after

1шт.

222-46

ELBOW,90 Degree, 5/8"-24 Fem x 1/8"-27 NPTF

ASSEMBLY - hose, 90 degrees, , fuel pump, standard on models with tractor s/n 9103882 and after, Includes: Ref. 22 - 24

2шт.

22

222-114

NUT,5/8"-24

NUT - elbow, fuel pump, standard on models with tractor s/n 9103882 and after

1шт.

23

222-104

SLEEVE,3/8" Tube

- elbow, fuel pump, standard on models with tractor s/n 9103882 and after

1шт.

24

NSS

NOT SOLD SEPARAT

BODY - elbow, fuel pump, standard on models with tractor s/n 9103882 and after

1шт.

25

13-48

BOLT,Hex, 1/4" - 20 x 1/2", Gr 5

Fuel pump, standard on models with tractor S/N 9103882 and after Hex, 1/4"-20 x 1/2", G5, Full Thd

2шт.

26

92-4

LOCK WASHER,1/4"

WASHER, LOCK, , Fuel pump, standard on models with tractor S/N 9103882 and after 1/4"

2шт.

27

L11122

FUEL PUMP

PUMP - fuel, electric, fuel pump, standard on models with tractor s/n 9103882 and after, Includes: Ref. 28 - 38

1шт.

28

NSS

NOT SOLD SEPARAT

BODY - fuel pump, fuel pump, standard on models with tractor s/n 9103882 and after

1шт.

29

A40310

PLUNGER

- fuel pump, fuel pump, standard on models with tractor s/n 9103882 and after

1шт.

30

A40207

SPRING

- plunger, fuel pump, standard on models with tractor s/n 9103882 and after

1шт.

31

A40313

CUP

VALVE - cup, fuel pump, standard on models with tractor s/n 9103882 and after

1шт.

32

A40318

O-RING,0.429" ID x 0.106"

SEAL - "O" ring, fuel pump, standard on models with tractor s/n 9103882 and after

1шт.

33

A40317

WASHER

- "O" ring retaining, fuel pump, standard on models with tractor s/n 9103882 and after

1шт.

34

A40316

RETAINER

- washer, fuel pump, standard on models with tractor s/n 9103882 and after

1шт.

35

A40314

FILTER CARTRIDGE

FILTER - fuel, fuel pump, standard on models with tractor s/n 9103882 and after

1шт.

36

A40311

MAGNET

- plunger (Permanent type), fuel pump, standard on models with tractor s/n 9103882 and after

1шт.

37

A40315

GASKET

- cover, fuel pump, standard on models with tractor s/n 9103882 and after

1шт.

38

A40312

COVER

- fuel pump, fuel pump, standard on models with tractor s/n 9103882 and after

1шт.

Выбрано товаров: 0