Запчасти Case 680CK (265A) - G33828 BACKHOE STABILIZER CYLINDER, 4" DIA. CYLINDER WITH 21 3/8" STROKE, GLAND WITH INNER BUSHING (35) - HYDRAULIC SYSTEMS

Схема запчастей Case 680CK - (265A) - G33828 BACKHOE STABILIZER CYLINDER, 4" DIA. CYLINDER WITH 21 3/8" STROKE, GLAND WITH INNER BUSHING (35) - HYDRAULIC SYSTEMS
FIT
1:1
100%

Артикул

Название

Примечание

Количество

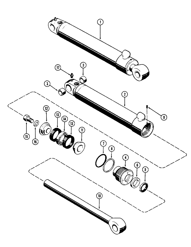
1

G33828

CYLINDER

ASSY. - stabilizer, Inlcudes: Ref. 2 - 17

1шт.

2

G33829

TUBE

ASSY. - cylinder body, Inlcudes: Ref. 3

1шт.

3

D33047

BUSHING,44.68mm ID x 53.98mm OD x 22.23mm L

- tube

2шт.

4

G33190

GLAND

ASSY. - w/bushing, Inlcudes: Ref. 5 - 8

1шт.

5

D95144

WIPER SEAL,50.77mm ID x 63.52mm OD x 7.92mm Thk

Wiper - piston rod, outer (2 x 2-1/2 x 5/16")

1шт.

Part of cylinder repair seal kit P/N G32615

1шт.

6

D36971

RING

SEAL - piston rod (2 x 2-1/2 x 7/16")

1шт.

Part of cylinder repair seal kit P/N G32615

1шт.

7

A27507

O-RING,0.139" Thk x 3.984" ID, -242, Cl 5, 75 Duro

"O" RING - gland (4 x 4-1/4 x 1/8")

1шт.

Part of cylinder repair seal kit P/N G32615

1шт.

8

G32176

BACK-UP RING,101.22mm ID x 107.32mm OD x 1.4mm Thk

- Gland "O" Ring

1шт.

Part of cylinder repair seal kit P/N G32615

1шт.

9

187-1031

SELF-TAP SCREW,Pan, 0.164"-32 x 1/4"

SCREW - gland lock (#8-32 x 1/4" self tapping)

1шт.

10

G3831

ROD - piston (2" dia.)

1шт.

11

G33159

PISTON

- split (Rod end)

1шт.

12

D46930

PISTON

- split (Bolt end)

1шт.

13

D47204

PACKING,89.15mm ID x 100.86mm OD

ASSY. - piston ("V" type)

2шт.

Part of cylinder repair seal kit P/N G32615

1шт.

14

D47209

BEARING,3.006" ID x 3.987" OD x 0.631"

RING - center bearing

1шт.

15

28-2040

BOLT,Hex, 1-1/4" - 12 x 2-1/2", Gr 8

- Hex, 1-1/4"-12 NF x 2-1/2", G8, Piston

1шт.

16

G32351

WASHER

- piston bolt (1-11/32 x 2-1/2 x 9/64")

1шт.

17

219-1

LUBE NIPPLE,1/8" - 27 NPTF

FITTING - grease (1/8" P.T., str.)

1шт.

G32615

KIT

SEAL KIT - cylinder repair, Includes: Ref. 5 thru 8 and 13

1шт.

Выбрано товаров: 23