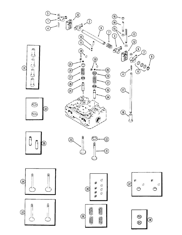
Запчасти Case 680CK (014) - VALVE MECHANISM, (301B) DIESEL ENGINE (10) - ENGINE

Схема запчастей Case 680CK - (014) - VALVE MECHANISM, (301B) DIESEL ENGINE (10) - ENGINE
FIT
1:1
100%

Артикул

Название

Примечание

Количество

1

A58655

ARM

- rocker, exhaust, 1st & 3rd cylinders

2шт.

2

A58656

ARM

- rocker, exhaust, 2nd & 4th cylinders

2шт.

3

A58654

ARM

- rocker, intake

4шт.

4

A21105

ADJUSTMENT SCREW,3/8" - 24 x 1 9/16"

SCREW - adjusting, rocker arm

8шт.

5

25-156

JAM NUT,Jam, 3/8"-24, G5

- lock, adj. screw (3/8" N.F. hex. jam)

8шт.

6

A57532

SHAFT

- rocker arms

2шт.

7

A27877

SPRING

- rocker shaft

2шт.

8

A27878

WASHER

- rocker shaft (.028")

1шт.

9

B18206

SNAP RING,#87, Ext

Ring, Snap, , rocker shaft #87, Ext

4шт.

10

A58657

TUBE

- oil, rocker shaft arms

2шт.

11

A27880

O-RING,0.07" Thk x 0.18" ID, -8, Cl 5, 75 Duro

"O" RING - oil tube (3/16 x 5/16 x 1/16")

2шт.

12

A61128

BRACKET

- rocker shaft

4шт.

13

A60885

STUD

- bracket & cover (7/16" N.C. x 6-7/16")

4шт.

14

A58659

STUD

- bracket (7/16" N.C. x 4-5/16")

4шт.

15

195-29

WASHER,7/16"

- bracket studs (15/32 x 15/16 x 3/32")

8шт.

16

25-107

NUT,7/16"-14, G5

- bracket studs (7/16" N.C. hex.)

8шт.

17

A58596

ROD

- push

8шт.

18

NSS

NOT SOLD SEPARAT

LIFTER - push rod (Order ref. 31)

8шт.

21

NSS

NOT SOLD SEPARAT

VALVE - exhaust (Order ref. 32)

4шт.

22

NSS

NOT SOLD SEPARAT

INSERT - exhaust valve seat (Order ref. 33)

4шт.

23

NSS

NOT SOLD SEPARAT

VALVE - intake (Order ref. 34)

4шт.

24

NSS

NOT SOLD SEPARAT

GUIDE - exhaust valves (Order ref. 35)

8шт.

25

A58628

SEAL,8mm ID x 13.77mm OD x 2.16mm Thk

- valve stem (5/16 x 17/32 x 5/64" rubber)

8шт.

26

A66328

SEAT

- valve springs (Replaces A58623)

8шт.

27

NSS

NOT SOLD SEPARAT

SPRING - valves (Order ref. 36)

8шт.

28

NSS

NOT SOLD SEPARAT

RETAINER - intake valve spring (Order ref. 37)

4шт.

29

NSS

NOT SOLD SEPARAT

CAP ASSY. - roto, exhaust valve spring (Order ref. 38)

4шт.

30

NSS

NOT SOLD SEPARAT

LOCK - valve spring retainers (Order ref. 39)

16шт.

31

A21653

KIT

LIFTER KIT - push rods (Set of 4)

2шт.

32

A42130

VALVE

KIT - exhaust (Set of 2)

2шт.

33

A44010

INSERT

KIT - exhaust valve seat (Set of 2) (Replaces A57485)

2шт.

34

A42129

PACKAGE

VALVE KIT - intake (Set of 2)

2шт.

35

A41781

GUIDE

KIT - valves (Set of 2)

4шт.

36

A42895

SPRING

KIT - valves (Set of 4)

2шт.

37

A44645

KIT

RETAINER KIT - intake valve spring (Replaces A21657) (Set of 2 retainers & 4 locks)

2шт.

38

A44658

COIL

ROTO CAP KIT - exhaust valve spring (Set of 2) (Replaces A57433)

2шт.

39

A40352

LOCK

KIT - valve spring retainers (Set of 8)

2шт.

Выбрано товаров: 37