Запчасти Case 780 (256) - BRAKE SYSTEM, MOISTURE EJECTION VALVE AND TREADLE (07) - BRAKES

Схема запчастей Case 780 - (256) - BRAKE SYSTEM, MOISTURE EJECTION VALVE AND TREADLE (07) - BRAKES
FIT
1:1
100%

Артикул

Название

Примечание

Количество

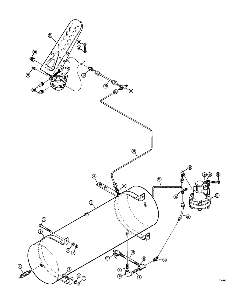
1

L19210

RESERVOIR - air

1шт.

2

13-620

BOLT,Hex, 3/8" - 16 x 1-1/4", Gr 5, Full Thd

2шт.

3

13-640

BOLT,Hex, 3/8" - 16 x 2-1/2", Gr 5

- hex, 3/8" - 16 NC x 2-1/2"

2шт.

4

L19826

BRACKET

- mounting, reservoir

1шт.

5

L46177

BRACKET

- mounting, reservoir

1шт.

6

92-6

LOCK WASHER,3/8"

4шт.

7

25-106

NUT,3/8"-16, G5

- hex, 3/8" - 16 NC

4шт.

8

L48992

VALVE,1/4"

- safety

1шт.

9

221-1131

PIPE,Nipple, 1/4" NPT x 1"

NIPPLE - pipe, 1/4" NPT x 1"

2шт.

10

221-1375

ELBOW

- pipe, 90 degrees, 1/4" NPT

1шт.

11

221-1422

TEE,Pipe, 1/4" NPT

FITTING - , tee Pipe, 1/4" NPT

1шт.

12

221-1141

NIPPLE - pipe, 1/4" NPT x 4" Nipple, 1/4" NPT x 4"

1шт.

13

217-94

SHUT-OFF VALVE

DRAINCOCK - moisture, reservoir

1шт.

14

218-533

ELBOW,45 Degree, 9/16-18" 37 Degree x 1/4"-18, NPTF

1шт.

15

L43923

HOSE

TUBE - reservoir to moisture ejection valve

1шт.

16

218-483

ELBOW,90 Degree Elbow, 9/16" - 18 Male JIC x 1/4" - 18 Male NPTF

FITTING - 90 degrees

1шт.

17

L12620

VALVE

- moisture ejection, parts list Figure 270

1шт.

18

13-520

BOLT,Hex, 5/16" - 18 x 1-1/4", Gr 5

- hex, 5/16" - 18 NC x 1-1/4"

2шт.

19

92-5

LOCK WASHER,5/16"

2шт.

20

9635082

NUT,5/16" - 18, Gr 5

- hex, 5/16" - 18 NC

2шт.

21

218-481

ELBOW,90 Degree Elbow, 7/16" - 20 Male JIC x 1/8" - 27 Male NPTF

TUBE - moisture ejection

1шт.

22

L43878

TUBE - moisture ejection 0.25" OD

2шт.

23

218-443

HYD CONNECTOR,9/16" - 18 Male JIC x 1/4" - 18 Male NPTF

FITTING - straight, male

2шт.

24

L43900

TUBE - reservoir to tee 0.375" OD

1шт.

25

218-593

TEE,9/16"-18, 37 Degree

FITTING - three way

1шт.

26

L43902

TUBE - tee to treadle 0.375" OD x 6.1" L

1шт.

27

L19709

VALVE, BRAKE

TREADLE AND VALVE ASSEMBLY - brake, parts list Figure 266

1шт.

28

13-512

BOLT,Hex, 5/16" - 18 x 3/4", Gr 5

3шт.

29

92-5

LOCK WASHER,5/16"

3шт.

30

221-1014

DRAIN PLUG,Sq Hd, 1/2"-14 NPTF

PLUG - pipe, square head, 1/2" NPT

3шт.

31

221-1012

DRAIN PLUG,Sq Hd, 1/4"-18 NPTF

PLUG - pipe, square head, 1/4" NPT

1шт.

Выбрано товаров: 31