Запчасти Case 780 (378) - BACKHOE CONTROL VALVE, D59661 DIPPER EXTENSION SECTION (08) - HYDRAULICS

Схема запчастей Case 780 - (378) - BACKHOE CONTROL VALVE, D59661 DIPPER EXTENSION SECTION (08) - HYDRAULICS
FIT
1:1
100%

Артикул

Название

Примечание

Количество

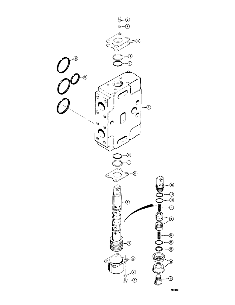
D59661

SPARE PART

DIPPER EXTENSION SECTION - backhoe control valve, Includes: Ref. 1 - 18

1шт.

1

NSS

NOT SOLD SEPARAT

HOUSING - dipper extension section

1шт.

2

NSS

NOT SOLD SEPARAT

SPOOL - dipper extension section

1шт.

3

61-410

HEX SOC SCREW,1/4"-20 x 5/8"

CAPSCREW - hex socket head, 1/4" - 20 NC x 5/8"

8шт.

4

192-402

LOCK WASHER

WASHER - lock, hi-collar

8шт.

5

L33229

CAP - spool end

1шт.

6

L33241

PLATE - retainer, spool seal

3шт.

7

L33217

RING

- backup, seal

2шт.

8

A27577

O-RING,0.139" Thk x 1.234" ID, -218, Cl 5, 75 Duro

- spool

2шт.

9

L33230

SPRING

- centering, spool

1шт.

10

L32984

WIPER SEAL

- square section, small

1шт.

11

L32985

GASKET

- square section, large

3шт.

12

L33225

EYE - spool

1шт.

13

L32993

O-RING,40756" ID x 40756" OD x 1"

- spool ends

2шт.

14

L33221

SPRING

- internal

2шт.

15

L33226

POPPET - check

2шт.

16

L32619

RING

- backup, if used

2шт.

17

L33227

GUIDE - spring

2шт.

18

L33228

BOLT - spool end

1шт.

Выбрано товаров: 19