Запчасти Case 780 (526) - BACKHOE BUCKETS, 20" (508 MM) HEAVY DUTY BUCKET (09) - CHASSIS/ATTACHMENTS

Схема запчастей Case 780 - (526) - BACKHOE BUCKETS, 20" (508 MM) HEAVY DUTY BUCKET (09) - CHASSIS/ATTACHMENTS
FIT
1:1
100%

Артикул

Название

Примечание

Количество

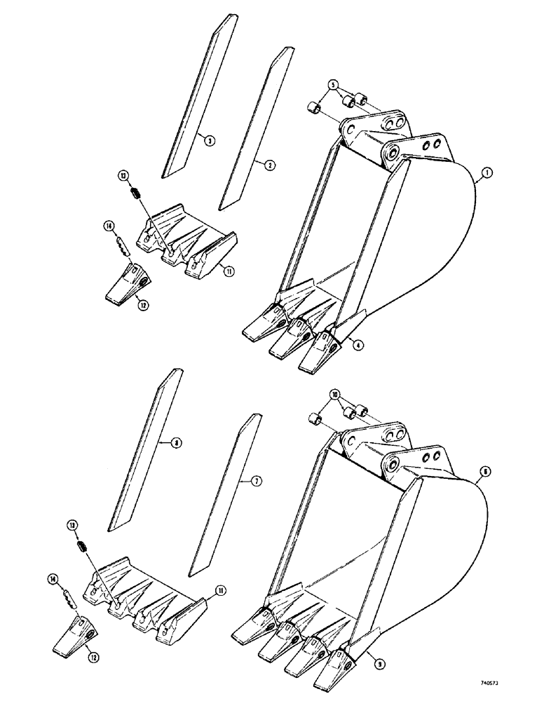
1

D61771

BUCKET - 20 inch (508 mm) machinery item - see Figure 2 for ordering, Includes: Ref. 2 - 5

1шт.

2

D61218

BLADE - R.H. side

1шт.

3

D61217

EDGE

BLADE - cutting, L.H. side

1шт.

4

D95612

TEETH - center, parts list below

1шт.

5

D30756

BUSHING,51.02mm ID x 63.5mm OD x 31.8mm L

bucket ear

6шт.

6

D61435

24 inch (610 mm) machinery item - see Figure 2 for ordering, heavy duty bucket, Includes: Ref. 7 - 10

1шт.

7

D61218

BLADE - R.H. side, 24" (610 mm) heavy duty bucket

1шт.

8

D61217

EDGE

BLADE - cutting, L.H. side, 24" (610 mm) heavy duty bucket

1шт.

9

D95613

TEETH - center, parts list below, 24" (610 mm) heavy duty bucket

1шт.

10

D30756

BUSHING,51.02mm ID x 63.5mm OD x 31.8mm L

bucket ear, 24" (610 mm) heavy duty

6шт.

6

D61766

29 inch (737 mm) machinery item - see Figure 2 for ordering, heavy duty bucket

1шт.

7

D61218

BLADE - R.H. side, 29 (737 mm) heavy duty bucket

1шт.

8

D61217

EDGE

BLADE - L.H. side, 29 (737 mm) heavy duty bucket

1шт.

9

D95614

TEETH - center, parts list below, 29 (737 mm) heavy duty bucket

1шт.

10

D30756

BUSHING,51.02mm ID x 63.5mm OD x 31.8mm L

ear, 29 (737 mm) heavy duty bucket

6шт.

D95612

AND TEETH - center, three , 29 (737 mm) heavy duty bucket, Includes: Ref. 11 - 14

1шт.

D95613

AND TEETH - center, four teeth, 24" (508 mm) bucket, Includes: Ref. 11 - 14

1шт.

D95614

AND TEETH - center, four teeth, 29" (737 mm) bucket, Includes: Ref. 11 - 14

1шт.

11

NSS

NOT SOLD SEPARAT

CUTTING EDGE - bucket, 29 (737 mm) heavy duty bucket

3-4шт.

12

S91259

POINT

tooth, cutting edge, 29 (737 mm) heavy duty bucket

3-4шт.

13

S90192

LOCK

point, cutting edge and teeth, 29 (737 mm) heavy duty bucket

3-4шт.

14

S91265

PIN

point, cuttin edge and teeth, 29 (737 mm) heavy duty bucket

3-4шт.

Выбрано товаров: 22