Запчасти Case 780 (178) - TRANSMISSION, TORQUE CONVERTER HOUSING & TRANS CASE, USED W/ D54477 & D54478 REAR AXLES (06) - POWER TRAIN

Схема запчастей Case 780 - (178) - TRANSMISSION, TORQUE CONVERTER HOUSING & TRANS CASE, USED W/ D54477 & D54478 REAR AXLES (06) - POWER TRAIN
FIT
1:1
100%

Артикул

Название

Примечание

Количество

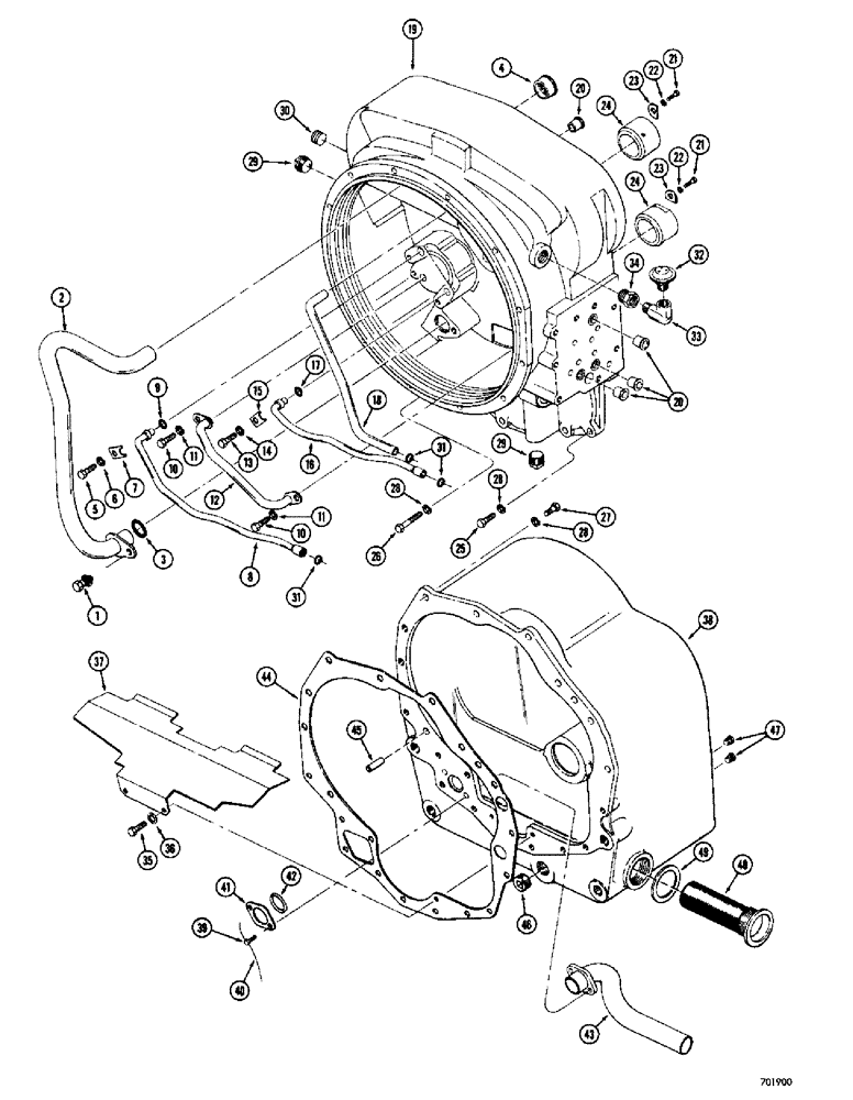
L41513

TRANSMISSION ASSEMBLY - complete, Includes: Ref. 1 - 49

1шт.

L33466

HOUSING

ASSEMBLY - torque converter, Includes: Ref. 1 - 24

1шт.

1

CAS11447

BOLT

SCREW AND LOCKWASHER ASSEMBLY - 3/8" - 16 NC x 3/4"

1шт.

2

L33467

TUBE,1.007" OD x 13.47, 2.19" L

- suction

1шт.

3

23119

O-RING,0.921" ID x 1.199" OD x 0.139"

O-RING - tube

1шт.

4

L33468

BUSHING,25.5mm ID x 34.92mm OD x 11.91mm L

SLEEVE - tube

1шт.

5

13-510

BOLT,Hex, 5/16" - 18 x 5/8", Gr 5, Full Thd

1шт.

6

92-5

LOCK WASHER,5/16"

1шт.

7

L33473

CLIP

- tube retaining

1шт.

8

L33470

TUBE,0.375" OD x 13.25, 3-7/32" L

- reverse

1шт.

9

A27891

O-RING,0.103" Thk x 0.362" ID, -110, Cl 5, 75 Duro

- tube

1шт.

10

13-510

BOLT,Hex, 5/16" - 18 x 5/8", Gr 5, Full Thd

2шт.

11

92-5

LOCK WASHER,5/16"

2шт.

12

L33469

TUBE,0.5" OD x 7.125, 3" L

- lubrication

1шт.

13

13-510

BOLT,Hex, 5/16" - 18 x 5/8", Gr 5, Full Thd

1шт.

14

92-5

LOCK WASHER,5/16"

1шт.

15

L33473

CLIP

- tube retaining

1шт.

16

L33471

TUBE,0.375" OD

- 3rd speed

1шт.

17

A27891

O-RING,0.103" Thk x 0.362" ID, -110, Cl 5, 75 Duro

- tube

1шт.

18

L33472

TUBE,7.687" L

- valve oil supply

1шт.

19

NSS

NOT SOLD SEPARAT

HOUSING - torque converter, must order L33466 housing assembly

1шт.

20

A55734

SLEEVE

- tube

4шт.

21

13-510

BOLT,Hex, 5/16" - 18 x 5/8", Gr 5, Full Thd

2шт.

22

92-5

LOCK WASHER,5/16"

2шт.

23

REFERENCE

SPARE PART

- sleeve

2шт.

24

L33474

SLEEVE

- torque converter housing

2шт.

25

13-728

BOLT,Hex, 7/16" - 14 x 1-3/4", Gr 5

4шт.

26

13-744

BOLT,Hex, 7/16" - 14 x 2-3/4", Gr 5

4шт.

27

13-720

BOLT,Hex, 7/16" - 14 x 1-1/4", Gr 5, Full Thd

10шт.

28

92-7

LOCK WASHER,7/16"

18шт.

29

221-5

DRAIN PLUG,Sq Hd, 1/4"-14 NPTF

PLUG - pipe, square head, 3/4" NPT

2шт.

30

221-26

DRAIN PLUG,Sq Soc, 1"-11 1/2, NTPF

PLUG - pipe, square socket head, 1" NPT

1шт.

31

16202

O-RING,40544" ID x 13" OD x 1"

- clutch pressure tubes

3шт.

32

A17947

BREATHER

- torque converter housing

1шт.

33

221-1413

ELBOW,90 Degree, 3/8"-18, NPT

FITTING - 90 degrees, 3/8" NPT

1шт.

34

221-59

COUPLING

REDUCING BUSHING - hex, 3/8" NPTx 3/4" NPT

1шт.

D59224

TOOL

KIT - to service L33468 sleeve, includes tool and instructions

1шт.

D59223

TOOL

KIT - to service A55734 sleeve, includes tool and instructions

1шт.

L33477

BOX

CASE ASSEMBLY - transmission, when stock is exhausted order D56897 case assembly for service, Includes: Ref. 35 - 43

1шт.

D56897

BOX

CASE ASSEMBLY - transmission, Includes: Ref. 35 - 43

1шт.

35

13-510

BOLT,Hex, 5/16" - 18 x 5/8", Gr 5, Full Thd

2шт.

36

193-29

LOCK WASHER,Int Tooth, 5/16"

WASHER, LOCK, Int Tooth, 5/16"

2шт.

37

L33479

PLATE - oil baffle

1шт.

38

NSS

NOT SOLD SEPARAT

CASE - transmission

1шт.

39

L33480

BOLT - special, drilled head, 5/16" - 24 NC x 3/4"

2шт.

40

391-703

WIRE - tie, 18 gauge x 8" (203 mm)

1шт.

41

L33481

WASHER

PLATE - suction tube

1шт.

42

A29456

O-RING,0.139" Thk x 1.046" ID, -215, Cl 5, 75 Duro

1шт.

43

L33478

TUBE - suction

1шт.

44

L33476

GASKET

- converter housing to transmission case

1шт.

45

A17924

PIN

- dowel, converter housing to transmission case

2шт.

46

221-678

DRAIN PLUG,Sq Soc, 3/4" NPT

PLUG - pipe, magnetic, 3/4" NPT, drain

1шт.

47

221-662

PLUG,Hex Hd, 1/4"-18

- pipe, hex head, 1/4" NPT, oil level check

2шт.

48

L33482

FILTER SCREEN

SCREEN - oil

1шт.

49

L30039

GASKET,46.83mm ID x 58.74mm OD x 3.17mm Thk

- oil screen

1шт.

Выбрано товаров: 55