Запчасти Case 780B (306) - CLAM LOADER BUCKET (09) - CHASSIS/ATTACHMENTS

Схема запчастей Case 780B - (306) - CLAM LOADER BUCKET (09) - CHASSIS/ATTACHMENTS
FIT
1:1
100%

Артикул

Название

Примечание

Количество

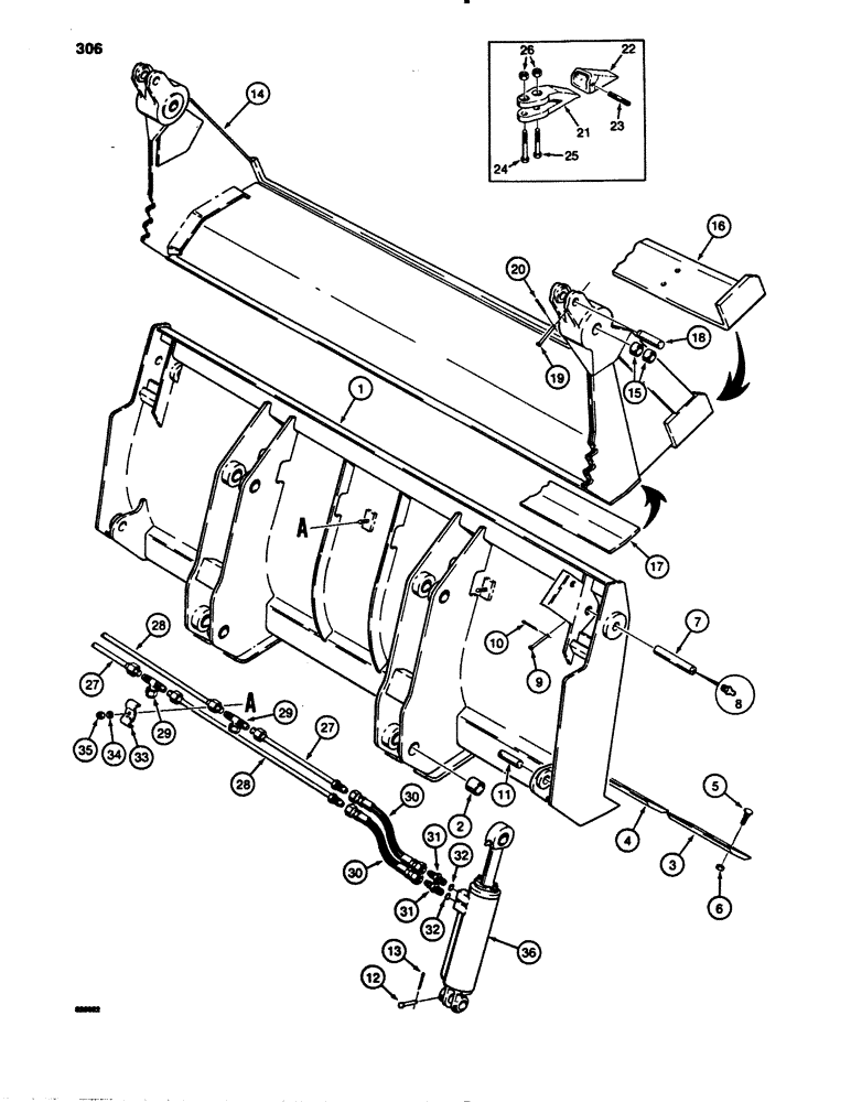
L108616

BUCKET ASSEMBLY - clam, 1-1/2" cubic yard (1.2 cubic metre), with teeth, machinery item, see Figure 2 for ordering, Includes: Ref. 1 - 37

1шт.

N6741

MOLDBOARD

CLAM AND BLADE ASSEMBLY - bucket, Includes: Ref. 1 - 37

1шт.

N6742

MOLDBOARD

BLADE ASSEMBLY - bucket, Includes: Ref. 1 - 13

1шт.

1

NSS

NOT SOLD SEPARAT

BLADE - bucket

1шт.

2

D31142

BUSHING,51.02mm ID x 63.5mm OD x 38.1mm L

- bucket ear

8шт.

3

N6743

EDGE

CUTTING EDGE - end

2шт.

4

A17654

EDGE

CUTTING EDGE - center

1шт.

5

19-1232

CARRIAGE BOLT,#3, 3/4" - 10 x 2", Gr 5

PLOW BOLT - 3/4" - 10 NC x 2"

18шт.

6

25-1012

NUT,3/4"-10, G5

18шт.

7

A17660

PIN

- clam to blade, Includes: Ref. 8

2шт.

8

219-1

LUBE NIPPLE,1/8" - 27 NPTF

GREASE FITTING - straight, 1/8" NPT

2шт.

9

S10786

CLEVIS PIN

PIN, CLEVIS - 5/8" x 4-3/4"

2шт.

10

132-48

COTTER PIN,1/8" x 1"

Pin, Split (Cotter), 1/8" x 1"

2шт.

11

S46134

PIN,37.95mm OD x 98.55mm L

- cylinder, Serial Range: base-clam

2шт.

12

S61971

CLEVIS PIN,15.88mm OD x 80.16mm L

- use with S46134 pin, Replaces 141-228

2шт.

13

132-48

COTTER PIN,1/8" x 1"

Pin, Split (Cotter), 1/8" x 1"

2шт.

N6744

CLAW

CLAM ASSEMBLY - bucket, Includes: Ref. 14 - 20

1шт.

14

NSS

NOT SOLD SEPARAT

CLAM - bucket

1шт.

15

A18662

BUSHING

- clam

4шт.

16

A17657

EDGE

CUTTING EDGE - clam, front

1шт.

17

A17658

LARGE PLATE

PLATE - compaction, rear

1шт.

18

A17664

PIN

-, Serial Range: clam-cylinder

2шт.

19

141-332

PIN

CLEVIS PIN - use with A17664 pin

2шт.

20

132-48

COTTER PIN,1/8" x 1"

Pin, Split (Cotter), 1/8" x 1"

2шт.

S22929

TOOTH

ASSEMBLY - bucket, Includes: Ref. 21 - 26

9шт.

21

NSS

NOT SOLD SEPARAT

SHANK - tooth

1шт.

22

S204157

TOOTH

POINT - tooth

1шт.

23

138-316

LOCK PIN,1/2" x 2 1/2", Slotted

PIN, 1/2" x 2 1/2", Slotted

1шт.

24

26-1056

BOLT,Hex, 5/8" - 11 x 3-1/2", Gr 8

- hex head, 5/8" - 11 NC x 3-1/2"

1шт.

25

26-1048

BOLT,Hex, 5/8" - 11 x 3", Gr 8

- hex head, 5/8" - 11 NC x 3"

1шт.

26

129-183

NUT,5/8"-11, G8

2шт.

27

S201705

TUBE,14.8" L

- valve to cylinder

2шт.

28

S218812

NUT,0.625" OD x 35" L

TUBE - valve to cylinder

2шт.

29

218-842

TEE,37 Degree, 7/8"-14 x 7/8"-14, Fem Sw Br

- tube to tube

2шт.

30

S8577

HOSE

- cylinder to tube, 20" (508 mm) long

4шт.

31

218-5066

HYD CONNECTOR,7/8" - 14 Male JIC x 3/4" - 16 Male ORB

CONNECTOR, HYD., , cylinder to hose, Incl. Ref. 32 7/8"-14, 37º x 3/4"-16, O-Ring

4шт.

32

237-6010

O-RING,0.097" Thk x 0.755" ID, -910, Cl 6, 90 Duro

- connector

1шт.

33

D44073

CLAMP

- tube support

3шт.

34

92-6

LOCK WASHER,3/8"

3шт.

35

25-106

NUT,3/8"-16, G5

- hex, 3/8" - 16 NC

3шт.

36

A17668

CYLINDER

- hydraulic, clam, right-hand, parts list Figure 282

1шт.

37

A17669

CYLINDER

- hydraulic, clam, left-hand, parts list Figure 282, not shown

1шт.

Выбрано товаров: 42