Запчасти Case 780B (332) - EXTENDABLE DIPPER MOUNTING PARTS (09) - CHASSIS/ATTACHMENTS

Схема запчастей Case 780B - (332) - EXTENDABLE DIPPER MOUNTING PARTS (09) - CHASSIS/ATTACHMENTS
FIT
1:1
100%

Артикул

Название

Примечание

Количество

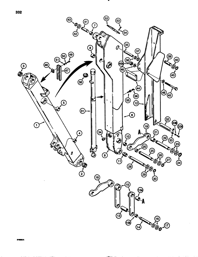
1

L108771

BOOM

- backhoe, used with extendable dipper only, Includes: Ref. 2 - 5

1шт.

2

L102178

BUSHING

- boom, tower end

2шт.

3

L106645

BUSHING

- boom, dipper end

2шт.

4

D30756

BUSHING,51.02mm ID x 63.5mm OD x 31.8mm L

- at dipper cylinder mounting

2шт.

5

D51545

BUSHING,63.75mm ID x 76.2mm OD x 38.1mm L

- at boom cylinder mounting

2шт.

L109319

DIPPER

EXTENDABLE DIPPER ASSEMBLY - complete, Includes: Ref. 6 - 11A

1шт.

6

NSS

NOT SOLD SEPARAT

DIPPER - extendable, Includes: Ref. 7 and 8

1шт.

7

D30756

BUSHING,51.02mm ID x 63.5mm OD x 31.8mm L

- ear

2шт.

8

D51545

BUSHING,63.75mm ID x 76.2mm OD x 38.1mm L

- at boom mounting

2шт.

9

NSS

NOT SOLD SEPARAT

EXTENSION - dipper arm, inner, Includes: Ref. 10 and 11

1шт.

10

D30756

BUSHING,51.02mm ID x 63.5mm OD x 31.8mm L

- guide link

2шт.

11

L79365

BUSHING

- bucket mounting

2шт.

11a

L102211

WEAR PLATE

PLATE - wear, inner, welds to inside of dipper tube, not shown

1шт.

12

L109318

SLIDER

- dipper, bucket cylinder

1шт.

13

L101577

SPACER

- link, backhoe bucket

1шт.

14

L101371

PIN

- link, backhoe bucket

1шт.

15

L104474

LINK

- backhoe bucket to cylinder, Includes: Ref. 15A and 15B

2шт.

15a

L78951

BUSHING

- link

1шт.

15b

D43940

BUSHING,44.68mm ID x 57.15mm OD x 25.4mm L

- link

1шт.

16

195-2152

WASHER,1 13/16" x 2 1/2" x .109"

- flat, special

4шт.

17

D25280

SNAP RING,#175, Ext

Ring, Snap, , pin #175, Ext

2шт.

18

L104476

LINK

- bucket guide, left-hand

1шт.

19

L104477

LINK ASSY.

LINK - bucket guide, right-hand, Includes: Ref. 20 and 21

1шт.

20

D33024

BUSHING,51.02mm ID x 63.5mm OD x 25.4mm L

- link

1шт.

21

R28235

BUSHING

- link

1шт.

22

L104573

PIN

- bucket cylinder to guide link

1шт.

23

195-2161

WASHER,2 5/16" x 3 1/2" x .134"

- flat, special

1шт.

24

F40807

SNAP RING,#225, Ext

Ring, Snap, , pin #225, Ext

2шт.

25

L101365

PIN

- guide, Serial Range: link-dipper

1шт.

26

195-2155

WASHER,2 1/16" x 3" x .109"

- flat, special

4шт.

27

D26919

SNAP RING,#200, Ext

Ring, Snap, , pin #200, Ext

2шт.

28

L101372

PIN

-, Serial Range: bucket-dipper

1шт.

29

195-2155

WASHER,2 1/16" x 3" x .109"

- flat, special

4шт.

30

D26919

SNAP RING,#200, Ext

Ring, Snap, , pin #200, Ext

2шт.

31

REF

INSTRUCTION

CYLINDER - dipper extension, parts list Figure 298

1шт.

32

L108599

PIN

- slide to inner tube, used with L108758 pin retaining strap

1шт.

33

L108758

STRAP

- pin retaining

2шт.

33a

13-620

BOLT,Hex, 3/8" - 16 x 1-1/4", Gr 5, Full Thd

4шт.

33b

92-6

LOCK WASHER,3/8"

4шт.

34

221-1036

DRAIN PLUG,Sq Soc, 1"-11 1/2, NTPF

PLUG - dipper tube

1шт.

35

D53812

PIVOT PIN,1.5" OD x 10.14" L

PIN - extension cylinder, closed end

1шт.

36

L79009

WASHER

- flat, special

1шт.

37

D25279

SNAP RING,M35, Int

- pin retaining

2шт.

38

214-267

HOSE CLAMP,#64, 3.56" - 4.5", Type F Worm

CLAMP - extension cylinder

1шт.

39

R28040

PIN

- bucket, Serial Range: cylinder-dipper

1шт.

40

195-2155

WASHER,2 1/16" x 3" x .109"

- flat, special

1шт.

41

R28040

PIN

- dipper, Serial Range: cylinder-dipper

1шт.

42

195-2155

WASHER,2 1/16" x 3" x .109"

- flat, special

2шт.

43

D26919

SNAP RING,#200, Ext

Ring, Snap, , pin #200, Ext

2шт.

44

L108792

BLOCK

PLATE - wear

1шт.

45

13-16200

BOLT,Hex, 1" - 8 x 12-1/2", Gr 5

2шт.

46

195-53

WASHER,1" x 2" x .134"

- special

4шт.

46a

131-82

NUT,1"-8

NUT - hex, self-locking, 1" - 8 NC

2шт.

47

L103653

GUARD

- tube

1шт.

48

L103674

BLOCK

- spacer

2шт.

49

13-816

BOLT,Hex, 1/2" - 13 x 1", Gr 5, Full Thd

2шт.

50

92-8

LOCK WASHER,1/2"

2шт.

51

95-8

WASHER,1/2"

flat 1/2"

2шт.

52

L102210

PLATE

- cover

1шт.

53

13-616

BOLT,Hex, 3/8" - 16 x 1", Gr 5, Full Thd

4шт.

54

92-6

LOCK WASHER,3/8"

4шт.

55

219-107

NOZZLE CAP

NOZZLE - extension, grease fitting, used with Ref. 56 to lubricate dipper slide

1шт.

56

219-89

LUBE NIPPLE,45 Degree Elbow, 1/8" NPTF

GREASE FITTING - 45º, 1/8" NPT, used with Ref. 55 to lubricate dipper slide

1шт.

D16615

STRIP

KIT - service, wear strip, includes four wear strips, one grease fitting, one nozzle, and installation instructions

1шт.

Выбрано товаров: 64