Запчасти Case 780B (363C) - SUSPENSION SEAT AND MOUNTING PARTS (09) - CHASSIS/ATTACHMENTS

Схема запчастей Case 780B - (363C) - SUSPENSION SEAT AND MOUNTING PARTS (09) - CHASSIS/ATTACHMENTS
FIT
1:1
100%

Артикул

Название

Примечание

Количество

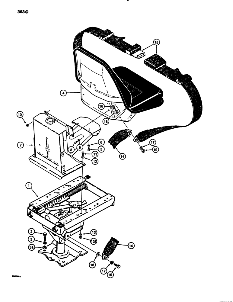
1

D123289

PEDESTAL

SUPPORT ASSEMBLY - suspension seat, parts list Figure 363E

1шт.

2

113-2441

BOLT,Hex, 1/2" - 13 x 2", Gr 8

4шт.

3

92-8

LOCK WASHER,1/2"

4шт.

3a

95-8

WASHER,1/2"

flat 1/2"

4шт.

4

D125246

SEAT

ASSEMBLY - suspension, parts list Figure 362

1шт.

5

13-58

BOLT,Hex, 5/16" - 18 x 1/2", Gr 5

3шт.

6

92-5

LOCK WASHER,5/16"

3шт.

7

D123290

SUSPENSION

ADJUSTER ASSEMBLY - suspension seat, parts list Figure 364

1шт.

8

13-58

BOLT,Hex, 5/16" - 18 x 1/2", Gr 5

4шт.

9

92-5

LOCK WASHER,5/16"

4шт.

10

95-5

WASHER,3/8" x 7/8" x .083"

- flat, 5/16", left-hand side

2шт.

11

13-516

BOLT,Hex, 5/16" - 18 x 1", Gr 5

4шт.

12

95-5

WASHER,3/8" x 7/8" x .083"

- flat, 5/16"

4шт.

13

92-5

LOCK WASHER,5/16"

4шт.

13a

9635082

NUT,5/16" - 18, Gr 5

- hex, 5/16" - 18 NC

4шт.

14

D123292

SAFETY BELT

SAFETY BELT, Serial Range: Support-seat

2шт.

15

D85816

SAFETY BELT

SEAT BELT - 3" (76 mm) wide

1шт.

16

14-716

BOLT,Hex, 7/16" - 20 x 1", Gr 5

- hex head, 7/16" - 20 NF x 1"

4шт.

17

92-7

LOCK WASHER,7/16"

4шт.

18

95-7

WASHER,7/16"

- flat, 7/16"

4шт.

19

25-117

NUT,7/16"-20, G5

- hex, 7/16" - 20 NF

2шт.

Выбрано товаров: 21