Запчасти Case 780C (9-396) - BACKHOE BUCKET, 24" TRENCHING BUCKET - HEAVY DUTY (09) - CHASSIS/ATTACHMENTS

Схема запчастей Case 780C - (9-396) - BACKHOE BUCKET, 24" TRENCHING BUCKET - HEAVY DUTY (09) - CHASSIS/ATTACHMENTS
FIT
1:1
100%

Артикул

Название

Примечание

Количество

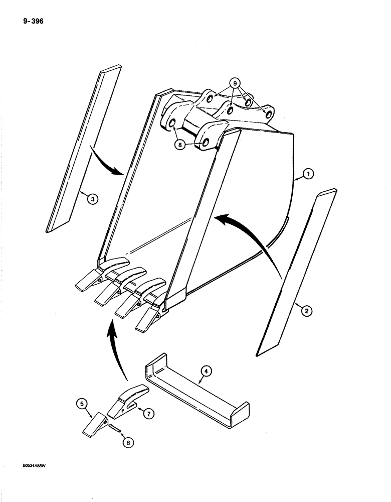
1

D138069

BUCKET

ASSEMBLY - 24" (610 mm) machinery item, order from the Machinery Price List, Includes: Ref. 2 - 9

1шт.

2

D138062

EDGE

cutting, bucket, right-hand side

1шт.

3

D138063

EDGE

cutting, bucket, left-hand side

1шт.

4

D138064

EDGE

cutting, center

1шт.

D140481

TOOTH ASSEMBLY - bucket, not serviced as an assembly, order Refs. 5-7, Includes: Ref. 5 - 7

4шт.

5

D55468

TOOTH

tooth

1шт.

6

L32090

PIN

PIN - flex

1шт.

7

D129197

SHANK

tooth

1шт.

8

D43508

BUSHING

bucket, 2" ID x 2-1/2" OD

2шт.

9

D37495

BUSHING,44.76mm ID x 57.15mm OD x 31.75mm L

bucket, 1-3/4" ID x 2-1/4" OD

4шт.

Выбрано товаров: 10