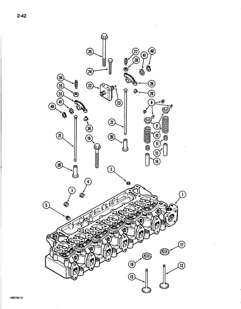
Запчасти Case 780C (2-42) - CYLINDER HEAD AND VALVE MECHANISM, 6T-590 ENGINE (02) - ENGINE

Схема запчастей Case 780C - (2-42) - CYLINDER HEAD AND VALVE MECHANISM, 6T-590 ENGINE (02) - ENGINE
FIT
1:1
100%

Артикул

Название

Примечание

Количество

JR910276

HEAD

ASSEMBLY - cylinder, remanufactured (North America Only)

1шт.

JC910276

CORE-CYLINDER HEAD

RETURN NUMBER - Use this part number to return cylinder head for credit

1шт.

J910276

HEAD (CYLINDER)

ASSEMBLY - new (Replaces J906455), Includes: Ref. 1 - 13

1шт.

1

J913391

HEAD (CYLINDER)

ASSEMBLY - (Replaces J904575), Includes: Ref. 2

1шт.

2

J902606

PLUG

expansion, 21 mm OD

5шт.

3

A77429

PLUG

hex socket pipe, 1/4-18 PT

5шт.

4

J906619

PLUG,1/8" - 27

hex socket pipe, 1/8-27 PT

2шт.

5

A77505

PLUG

hex socket pipe, 1/2-18 inch PT

1шт.

8

CASJ900250

RETAINER

KEEPER - valve

24шт.

9

J900299

RETAINER

valve spring

12шт.

10

J900276

VALVE SPRING

12шт.

11

J901097

SEAL

valve

12шт.

12

J901117

VALVE

intake

6шт.

13

J901607

VALVE

exhaust

6шт.

15

J904408

GUIDE

valve, intake (Service repair only)

6шт.

16

J904409

GUIDE

valve, exhaust (Service repair only)

6шт.

17

J906854

SEAT, VALVE

insert, intake (Service repair only)

6шт.

18

J904105

SEAT, VALVE

insert, exhaust (Service repair only)

6шт.

19

J903938

BOLT

hex flange head, M12 x 1.75 x 70 mm

6шт.

19

J903939

BOLT

hex flange head, M12 x 1.75 x 120 mm

14шт.

20

J907240

TAPPET

valve, push rod

12шт.

21

J904679

PUSH ROD

rocker arm

12шт.

22

J910814

SUPPORT

SHAFT ASSEMBLY - rocker arm (Replaces J907048), Includes: Ref. 23

6шт.

23

J907555

PLUG

rocker arm shaft, 1/4-18 PT

1шт.

24

813-8075

BOLT,Hex, M8 x 1.25 x 75mm, Cl 8.8

6шт.

25

J903940

BOLT

hex flange head, M12 x 1.75 x 180 mm

6шт.

26

J910811

ROCKER

ARM ASSEMBLY - intake (Replaces J900540), Includes: Ref. 27 - 36

6шт.

27

J937438

ADJUSTMENT SCREW,Hex Skt, 3/8" - 24 x 33mm, Adj, Ball Point

slotted set adjusting, 3/8 inch NF x 40 mm

1шт.

28

25-116

NUT,Hex, 3/8"-24, G5

jam

1шт.

29

NSS

NOT SOLD SEPARAT

INSERT - arm

1шт.

33

J910810

ROCKER

ARM ASSEMBLY - exhaust (Replaces J900539)

6шт.

34

J937438

ADJUSTMENT SCREW,Hex Skt, 3/8" - 24 x 33mm, Adj, Ball Point

slotted set adjusting, 3/8 inch NF x 40 mm

1шт.

35

25-116

NUT,Hex, 3/8"-24, G5

jam

1шт.

36

NSS

NOT SOLD SEPARAT

INSERT - arm

1шт.

40

J900242

SNAP RING

retaining, rocker arm

12шт.

41

J900245

WASHER

thrust, rocker arm

12шт.

Выбрано товаров: 0