Запчасти Case 780C (6-170) - TRANSMISSION HOUSING, REAR COVER, AND TUBES (06) - POWER TRAIN

Схема запчастей Case 780C - (6-170) - TRANSMISSION HOUSING, REAR COVER, AND TUBES (06) - POWER TRAIN
FIT
1:1
100%

Артикул

Название

Примечание

Количество

L111087

CASE

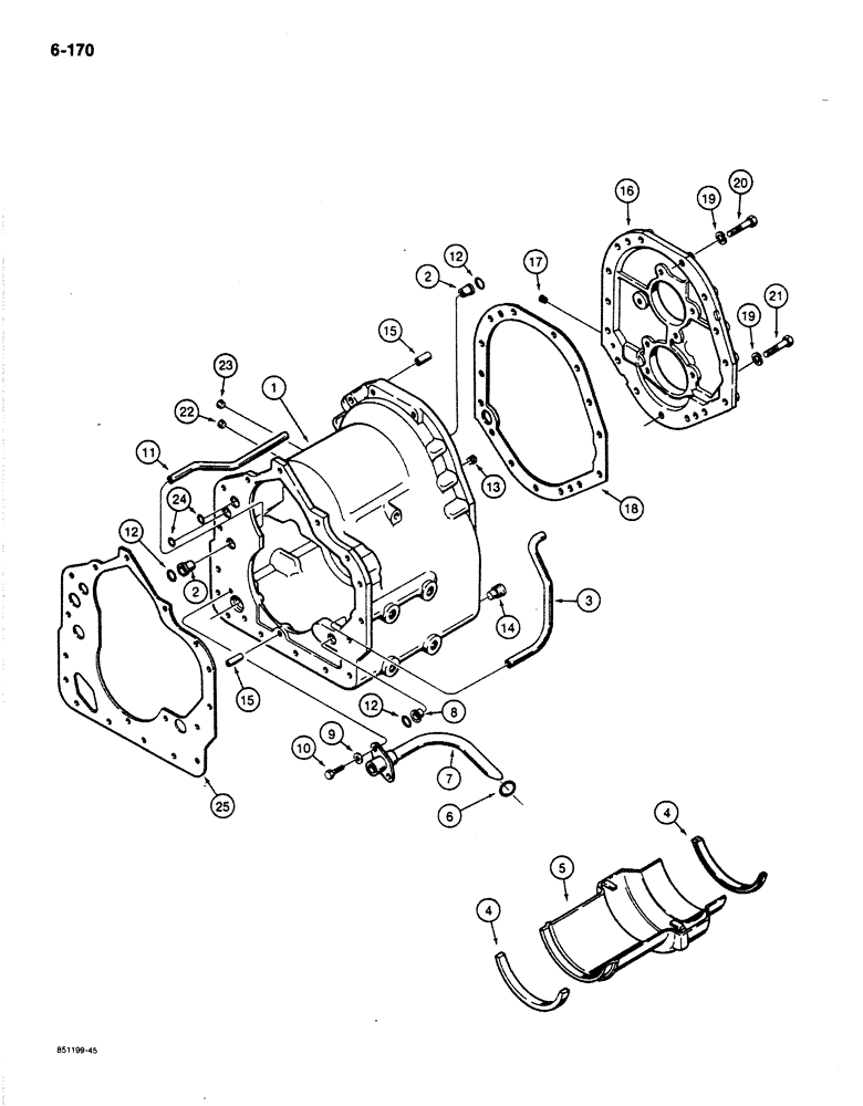
TRANSMISSION ASSEMBLY - forward and reverse, with fixed stator parts list Figures 6-170 - 6-190, Includes: Ref. 1 - 25

1шт.

D140040

TRANSMISSION

ASSEMBLY - forward and reverse, with free wheeling stator, parts list Figures 6-170 - 6-190, Includes: Ref. 1 - 25

1шт.

1

N7139

HOUSING

transmission case, Includes: Ref. 2 - 11

1шт.

2

A55734

SLEEVE

tube

2шт.

3

N7142

TUBE,0.625" OD x 8.06" L

clutch lube

1шт.

4

N7143

OIL SEAL

oil baffle

2шт.

5

N7144

BAFFLE

SPARE PART oil, housing

1шт.

6

N6595

O-RING

suction tube

1шт.

7

N7145

TUBE,1.13" DIA x 6.38" L

suction

1шт.

8

D87207

SLEEVE

tube

1шт.

9

192-20

LOCK WASHER,Helical Spring, 0.318" ID, CST, ZND

2шт.

10

113-118

BOLT,Hex, 5/16" - 18 x 5/8", Gr 5

2шт.

11

N7146

TUBE,12.81" L

housing

1шт.

12

L33542

O-RING,0.139" Thk x 0.796" ID, -211, Cl 7, 75 Duro

sleeve tube

3шт.

13

S117872

PLUG

1/4", special, transmission case

1шт.

14

221-659

DRAIN PLUG,Hex Soc, 3/4" NPT

hex socket head, 3/4" NPT, magnetic, drain

2шт.

15

A17924

PIN

dowel, Serial Range: case-cover

3шт.

16

N7136

COVER

rear, transmission case, Includes: Ref. 17

1шт.

17

221-849

PLUG,Hex Soc, 1/8"-27

hex socket head, 1/8" NPT, rear cover

1шт.

18

N7137

GASKET

rear, Serial Range: cover-housing

1шт.

19

192-22

LOCK WASHER,7/16"

15шт.

20

113-323

BOLT,Hex, 7/16" - 14 x 1-3/4", Gr 5

9шт.

21

113-312

BOLT,Hex, 7/16" - 14 x 1-1/4", Gr 5

6шт.

22

S117872

PLUG

1/4", special, transmission case

1шт.

23

221-843

PLUG,Hex Soc, 3/8"-18

Transmission case

1шт.

24

E114251

O-RING

clutch pressure

2шт.

25

D87221

GASKET

transmisison housing

1шт.

Выбрано товаров: 27