Запчасти Case 780C (6-196) - TRANSMISSION COOLING SYSTEM, MOUNTING, AND DIPSTICK (06) - POWER TRAIN

Схема запчастей Case 780C - (6-196) - TRANSMISSION COOLING SYSTEM, MOUNTING, AND DIPSTICK (06) - POWER TRAIN
FIT
1:1
100%

Артикул

Название

Примечание

Количество

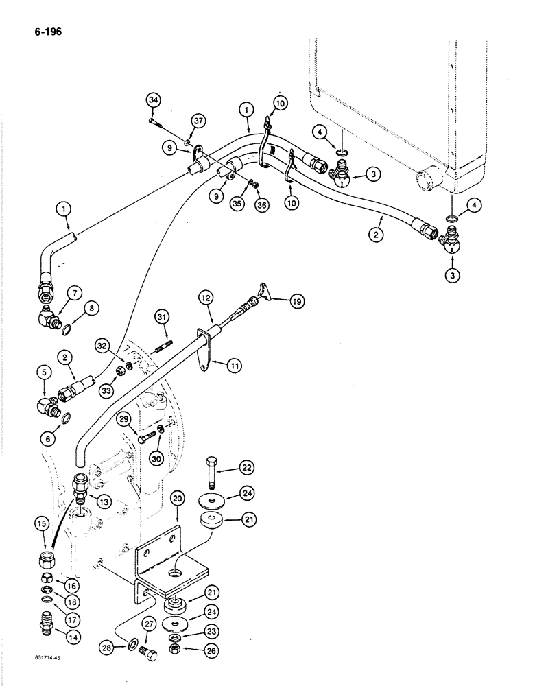
1

L112690

HOSE,0.63" ID x 54.00"

Transmission to Cooler

1шт.

2

L112691

HOSE,0.63" ID x 70.00", SAE J1402

Transmission from Cooler

1шт.

3

218-5123

ELBOW,90 Degree Elbow, 1-1/16" - 12 Male JIC x 7/8" - 14 Male ORB

90 degree, adjustable, male, Includes: Ref. 4

2шт.

4

237-6010

O-RING,0.097" Thk x 0.755" ID, -910, Cl 6, 90 Duro

Elbow

1шт.

5

218-5550

ELBOW,90 Degree Elbow, 1-1/16" - 12 Male JIC x 1-1/16" - 12 Male ORB

90 degree, adjustable, Includes: Ref. 6

1шт.

6

237-6012

O-RING,0.116" Thk x 0.924" ID, -912, Cl 6, 90 Duro

Elbow

1шт.

7

218-5138

ELBOW,45 Degree Elbow, 1-1/16" - 12 Male JIC x 1-1/16" - 12 Male ORB

45 degree, adjustable, Includes: Ref. 8

1шт.

8

237-6012

O-RING,0.116" Thk x 0.924" ID, -912, Cl 6, 90 Duro

Elbow

1шт.

9

R14668

CLAMP

hose

2шт.

10

L18337

CABLE TIE,9.95"-12.1" lg

CABLE STRAP tie, 15 inch, nylon

2шт.

11

D132042

SUPPORT ASSY.

dipstick tube holder

1шт.

12

D132031

TUBE

transmission dipstick

1шт.

13

222-3006

FITTING,1 1/2"-12 x 3/4" NPT

ASSEMBLY - straight, dipstick, Includes: Ref. 14 - 18

1шт.

14

NSS

NOT SOLD SEPARAT

BODY - connector

1шт.

15

222-3111

TUBE NUT,1"-12

connector

1шт.

16

222-3105

SLEEVE,1" Tube

connector

1шт.

17

A7623

O-RING,0.139" Thk x 0.984" ID, -214, Cl 5, 75 Duro

connnector

1шт.

18

D54295

RING

backup, connector O-ring

1шт.

19

D132030

DIPSTICK

transmission oil level

1шт.

20

D128660

BRACKET

transmission mounting

2шт.

21

R49482

RUBBER MOUNTING

INSULATOR

4шт.

22

113-628

BOLT,Hex, 5/8" - 11 x 3-1/2", Gr 5

2шт.

23

196-31

WASHER

flat, 3/4" ID x 1-3/8" OD, hardened, plated

2шт.

24

196-27

WASHER,21/32" x 3" x .179", HDN

flat, 5/8" ID x 1" OD, hardened

4шт.

26

131-1105

LOCK NUT,5/8"-11, GB

2шт.

27

113-709

BOLT,Hex, 3/4" - 10 x 1-1/2", Gr 5

8шт.

28

496-11078

WASHER

flat, 3/4" ID x 1-1/2" OD, hardened, plated

8шт.

29

814-10040

BOLT,Hex, M10 x 1.5 x 40mm, Cl 8.8

10шт.

30

892-1110

LOCK WASHER,M10

10шт.

31

L112126

STUD

, Serial Range: transmission-housing

2шт.

32

892-1110

LOCK WASHER,M10

2шт.

33

825-1110

NUT,M10, Cl 8

Hex, plated

2шт.

34

113-208

BOLT,Hex, 3/8" - 16 x 1-1/4", Gr 5

1шт.

35

192-21

LOCK WASHER,3/8"

1шт.

36

129-103

NUT,Hex, 3/8" - 16, Gr 5

1шт.

37

195-104

WASHER,3/8"

flat, , plated 3/8"

1шт.

Выбрано товаров: 36