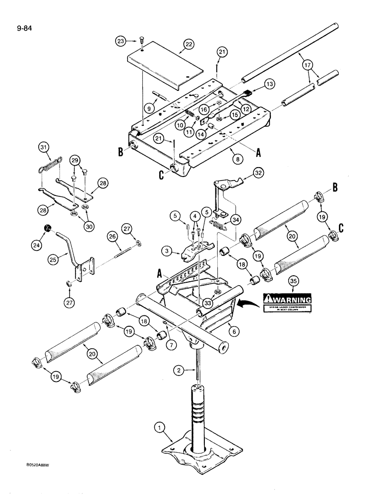
Запчасти Case 780D (9-084) - STANDARD SEAT SUPPORT (09) - CHASSIS/ATTACHMENTS

Схема запчастей Case 780D - (9-084) - STANDARD SEAT SUPPORT (09) - CHASSIS/ATTACHMENTS
FIT
1:1
100%

Артикул

Название

Примечание

Количество

D147652

PEDESTAL

SUPPORT ASSEMBLY - seat, with tube for seat belt mounting (replaces D124104 support), Includes: Ref. 1 - 35

1шт.

1

N8385

BASE

- seat support assembly

1шт.

2

N8340

SHAFT

- seat support

1шт.

3

NSS

NOT SOLD SEPARAT

LATCH - seat swivel

1шт.

Part of Latch Kit P/N D147776.

1шт.

4

164-407

HEX SOC SCREW,Btn Hd, 5/16" - 18 x 1/2"

BOLT - hex socket button, 5/16 NC x 1/2 inch, grade 8

2шт.

Part of Latch Kit P/N D147776.

1шт.

5

135-84

GROOVED PIN,5/16" x 3/4", Type A

PIN, GROOVED, 5/16" x 3/4", Type A

2шт.

Part of Latch Kit P/N D147776.

1шт.

6

N6947

SUPPORT TUBE

RISER - seat support

1шт.

7

219-16

LUBE NIPPLE,5/16" NPTF

FITTING - grease, straight, 5/16" drive type

1шт.

8

N6959

SLIDE

- seat

1шт.

9

N6958

PIN

- slide release

1шт.

10

N8342

SPRING

- slide release

1шт.

11

A27795

RING

- spring retaining

1шт.

12

N6956

LEVER

HANDLE - slide release

1шт.

13

N13687

GRIP

- vinyl

1шт.

14

N6957

SPACER

- handle

1шт.

15

131-433

PUSH-ON NUT,Push, 1/4"

NUT - push-on type, 1/4"

1шт.

16

195-102

WASHER,1/4"

- flat, , plated 1/4"

1шт.

17

N6943

TUBE,1.006" OD x 21.1" L

- slide

2шт.

18

N6950

TUBE,1.015" ID x 1.1905" OD x 1"

BEARING - slide tube

4шт.

19

N14105

CLAMP

- plastic

8шт.

20

D147877

BELLOWS

- slide tube (replaces N6967 bellows)

4шт.

21

132-52

COTTER PIN,1/8" x 1 1/2"

Pin, Split (Cotter), 1/8" x 1 1/2"

2шт.

22

N6969

BRACKET

- seat

1шт.

23

N6944

CLIP

- bracket, nylon

2шт.

N6934

TUBE

KIT - handle, seat height adjustment, Includes: Ref. 24 - 27

1шт.

24

NSS

NOT SOLD SEPARAT

KNOB - handle

1шт.

25

NSS

NOT SOLD SEPARAT

HANDLE - seat height adjustment

1шт.

26

NSS

NOT SOLD SEPARAT

SHAFT - handle

1шт.

27

131-434

LOCK NUT,Push, 5/16"

NUT - push-on type, 5/16"

2шт.

28

N6963

LATCH

- seat height adjustment

2шт.

29

N6964

PIN,9.53mm OD x 19.05mm L

- latch

2шт.

30

131-435

PUSH-ON NUT,Push, 3/8"

NUT - push-on type, 3/8"

2шт.

31

N6970

CATCH

SPRING - latch, seat height adjustment

1шт.

32

NSS

NOT SOLD SEPARAT

LEVER - control, seat swivel

1шт.

Part of Latch Kit P/N D147776.

1шт.

33

131-435

PUSH-ON NUT,Push, 3/8"

NUT - push-on type, 3/8"

1шт.

Part of Latch Kit P/N D147776.

1шт.

34

N8341

SPRING

- seat swivel, 2-3/8" (60 mm) long

1шт.

Part of Latch Kit P/N D147776.

1шт.

35

321-6774

WARNING DECAL

DECAL, WARNING, Seat spring compression

1шт.

D147776

LATCH

KIT - latch, Includes: Ref. 3 - 5 and 32- 34

1шт.

Выбрано товаров: 0