Запчасти Case 780D (4-14) - BATTERY CABLES AND CONNECTIONS (04) - ELECTRICAL SYSTEMS

Схема запчастей Case 780D - (4-14) - BATTERY CABLES AND CONNECTIONS (04) - ELECTRICAL SYSTEMS
FIT
1:1
100%

Артикул

Название

Примечание

Количество

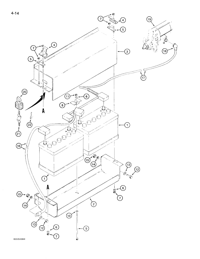
1

A180406

BATTERY

- 12 volt, service replacement (order BMF 31E)

2шт.

2

D132293

BOX

- battery, lower

1шт.

3

D132294

COVER ASSY

COVER - battery box

1шт.

4

D132300

BRACKET

- battery hold down, Serial Range: box-cover

2шт.

5

D132298

LATCH ASSY.

LATCH - battery box

2шт.

6

195-104

WASHER,3/8"

- flat, 3/8 inch

3шт.

7

131-931

FLANGE NUT,Flg, USR, 5/16"-18

- hex, flange type, special locking, 5/16 inch NC

6шт.

8

D140115

CLIP

BRACKET - battery hold down, Serial Range: battery-box

1шт.

9

113-261

BOLT,Hex, 3/8" - 16 x 9", Gr 5

1шт.

10

D52275

WASHER,9.92mm ID x 31.75mm OD x 2.78mm Thk

- flat, 3/8 inch, hardened

1шт.

11

131-217

LOCK NUT

NUT - hex, self-locking, 3/8 inch NC, grade 8

1шт.

12

113-410

BOLT,Hex, 1/2" - 13 x 1-1/2", Gr 5, Full Thd

2шт.

13

195-533

WASHER,1/2", SAE

2шт.

14

192-23

LOCK WASHER,1/2"

WASHER, LOCK, 1/2"

2шт.

15

129-105

NUT,Hex, 1/2" - 13, Gr 5

2шт.

16

D136709

CABLE

- negative, battery to ground, includes cable hardware, must be grounded to chassis boss

1шт.

17

D136708

CABLE

- positive, battery to starter, includes cable hardware, Includes: Ref. 18

1шт.

18

D128016

BOOT

COVER - cable, starter end

1шт.

19

A186247

STARTING MOTOR

STARTER ASSEMBLY - engine, parts list Figure 4-2

1шт.

20

D93753

PADLOCK

- includes keys, battery box, Includes: Ref. 21 and 22

2шт.

21

R29555

KEY

- for Master padlock only

2шт.

22

D93751

SET OF 2 KEYS

KEY - for Yale padlock only

2шт.

Выбрано товаров: 22