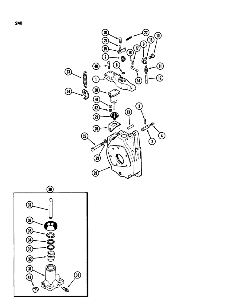
Запчасти Case 580D (240) - TRANSAXLE DIFFERENTIAL BRAKE LEVER AND LOCK, WITHOUT TURBOCHARGER (07) - BRAKES

Схема запчастей Case 580D - (240) - TRANSAXLE DIFFERENTIAL BRAKE LEVER AND LOCK, WITHOUT TURBOCHARGER (07) - BRAKES
26
43
27
20
8
30
12
29
18
19
37
41
40
34
38
36
10
24
35
16
14
22
30
7
17
4
33
11
25
13
2
1
32
28
9
42
23
21
31
3
FIT
1:1
100%

Артикул

Название

Примечание

Количество

1

A51969

LEVER

- brake

2шт.

2

A154569

PIN

- pivot

2шт.

3

138-2028

PIN,3/16" x 1 1/4", Coiled

2шт.

4

219-55

LUBE NIPPLE,90 Degree Elbow, 1/8" - 27 NPTF

NIPPLE, LUBE, 90º, 1/8" NPT x .84" lg

2шт.

7

A62230

NUT

- ratchet, brake adjusting

2шт.

8

A27891

O-RING,0.103" Thk x 0.362" ID, -110, Cl 5, 75 Duro

- 9/16 inch (14 mm)

2шт.

9

A64490

CAM

- self adjusting, brake

2шт.

10

A58471

STEP BOLT

BOLT - cam pivot

2шт.

11

A60489

SPRING

- adjusting cam

2шт.

12

A51971

ROD

PIN - spring limit

2шт.

13

138-2068

PIN,3/8" x 2 1/2", Coiled

- spirol, spring anchor, 3/8 x 1-1/2 inch

2шт.

14

A51970

ROD

- lock ratchet

2шт.

16

138-20

LOCK PIN,5/64" x 1/2", Slotted

PIN - roll, 1/16 x 1/2 inch

2шт.

17

132-5

COTTER PIN,1/16" x 1/2"

Pin, Split (Cotter), 1/16" x 1/2"

2шт.

18

S67607

SNAP RING,#25, Ext

Ring, Snap, , grip, rod to cam #25, Ext

2шт.

19

A59609

BRACKET

- self adjusting brake

2шт.

20

61-68

HEX SOC SCREW,3/8"-16 x 1/2"

BOLT - socket head, 3/8 NC x 1/2 inch

2шт.

21

138-92

LOCK PIN,3/16" x 3/4", Slotted

PIN, 3/16" x 3/4", Slotted

2шт.

22

A60555

SPRING

- return, ratchet rod

2шт.

23

A35789

SPRING

- brake return

2шт.

24

A51974

BRACKET

- RH anchor, return spring

1шт.

24

A51975

BRACKET

- LH anchor, return spring (Right shown)

1шт.

25

A41490

BOOT

COVER - push rod, brake cylinder

2шт.

26

A154558

BRACKET

- RH cover

1шт.

26

A154557

BRACKET

- LH cover (Right shown)

1шт.

27

86505993

BOLT,Hex, 1/2" - 13 x 4", Gr 5

2шт.

28

REF

INSTRUCTION

HOUSING - brake (See Figure 236)

2шт.

29

192-8

WASHER - 1/2 inch lock

4шт.

REF

INSTRUCTION

DIFFERENTIAL BRAKE CYLINDER

1шт.

30

A62483

CYLINDER

ASSEMBLY - brake, differential brake cylinder, Includes: Ref. 31 - 38

2шт.

31

NSS

NOT SOLD SEPARAT

BODY - cylinder, differential brake cylinder

1шт.

32

A45383

PISTON

ASSEMBLY, differential brake cylinder

1шт.

33

F62114

O-RING,0.103" Thk x 0.674" ID, -115, Cl 5, 75 Duro

- piston, 7/8 inch (22 mm), differential brake cylinder

1шт.

Part of repair kit wheel cylinder P/N A42258

1шт.

34

A42252

SEALING RING

RING - o-ring backup, differential brake cylinder

1шт.

Part of repair kit wheel cylinder P/N A42258

1шт.

35

A42256

SNAP RING,0.901", Int, #90

piston, differential brake cylinder 0.901", Int, #90

1шт.

Part of repair kit wheel cylinder P/N A42258

1шт.

36

A42255

BOOT

- cylinder weatherseal, differential brake cylinder

1шт.

Part of repair kit wheel cylinder P/N A42258

1шт.

37

A42254

ROD

- push, differential brake cylinder

1шт.

Part of repair kit wheel cylinder P/N A42258

1шт.

38

A41491

BLEEDER,1/4" - 28 x 23.37mm

- cyliner bleeder, differential brake cylinder

1шт.

A42258

KIT

REPAIR KIT - wheel cylinder, Includes: Refs. 33, 34, 35, 36 and 37

2шт.

40

113-17

BOLT,Hex, 1/4" - 20 x 1-1/4", Gr 5

Differential brake cylinder Hex, 1/4"-20 x 1 1/4", G5

4шт.

41

92-4

LOCK WASHER,1/4"

WASHER, LOCK, , Differential brake cylinder 1/4"

4шт.

42

7770

NUT,Hex, 1/4 - 20, Cl 5

1/4"-20, G5, Differential brake cylinder

4шт.

43

222-1062

PLUG,7/16"-24, Inv Fl

- cylinder, 7/16 inch PT, differential brake cylinder

2шт.

Выбрано товаров: 48