Запчасти Case 580D (064) - FUEL TANK AND FUEL LINES (03) - FUEL SYSTEM

Схема запчастей Case 580D - (064) - FUEL TANK AND FUEL LINES (03) - FUEL SYSTEM
11
5
1
12
14
10
13
8
2
15
9
3
4
17
16
4
7
6
FIT
1:1
100%

Артикул

Название

Примечание

Количество

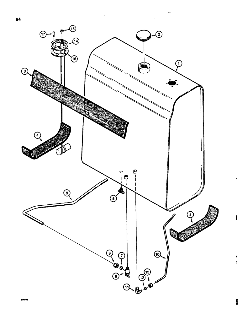
1

D87871

FUEL TANK

- diesel fuel

1шт.

2

A51390

CAP

- fuel tank

1шт.

3

D86157

RUBBER

STRIP - sponge rubber, rear, for front strip, see Figure 014, Ref. 14

1шт.

4

D93351

FOAM

STRIP - sponge rubber, bottom

2шт.

5

217-81

VALVE

- drain

1шт.

D74027

VALVE

SHUTOFF VALVE ASSEMBLY - fuel tank outlet, Includes: Ref. 6 - 8

1шт.

6

NSS

NOT SOLD SEPARAT

BODY - shutoff valve

1шт.

7

222-654

FERRULE,3/8" Tube, Comp

- compression fitting

1шт.

8

222-664

TUBE NUT,9/16"-24, 45 Degree Fl, Comp

NUT - compression fitting

1шт.

9

D89231

TUBE,9.52 mm OD x 455, 204 mm L

- engine supply, 3/8"

1шт.

10

D89230

TUBE,6.35 mm OD x 261, 229 mm L

- engine return, 1/4"

1шт.

222-43

ELBOW,90 Degree, 1/2"-24 Fem x 1/4"-27 NPTF

- 90 degree, compression fitting, inlet, Includes: Ref. 11 -13

1шт.

11

NSS

NOT SOLD SEPARAT

BODY - elbow

1шт.

12

222-102

SLEEVE,1/4" Tube

Compression fitting 1/4" Tube

1шт.

13

87017024

TUBE NUT,1/2"-24

NUT - compression fitting

1шт.

14

D83480

TRANSMITTER

SENDER - fuel level gauge

1шт.

15

193-1000

NUT,Keps, w/LW,#10-32

AND LOCK WASHER - No. 10 - 32 NF, plated

1шт.

16

A11822

GASKET

- fuel sender

1шт.

17

D75465

SCREW,#10 - 32 x 5/8"

- special sealing

5шт.

Выбрано товаров: 19