Запчасти Case 680E (082) - ELECTRICAL SYSTEM, REAR HARNESS AND CONNECTIONS (55) - ELECTRICAL SYSTEMS

Схема запчастей Case 680E - (082) - ELECTRICAL SYSTEM, REAR HARNESS AND CONNECTIONS (55) - ELECTRICAL SYSTEMS
FIT
1:1
100%

Артикул

Название

Примечание

Количество

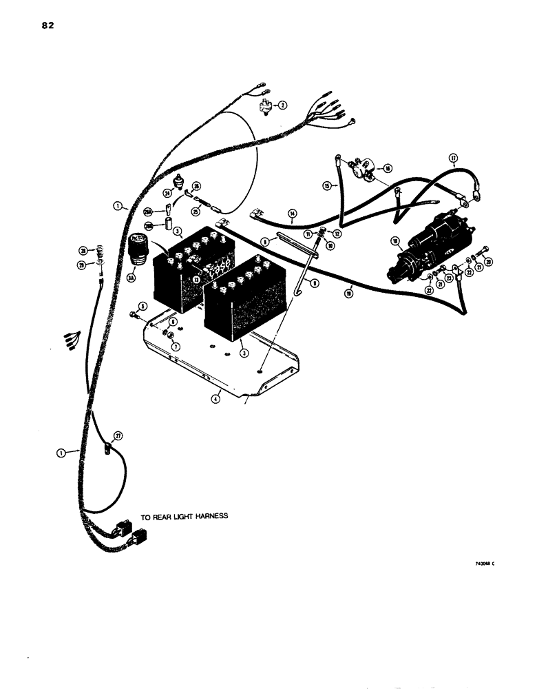
1

L58335

HARNESS

HARNESS - middle, wiring

1шт.

2

L47989

SWITCH

SWITCH - stop light

1шт.

3

A38411

DRY BATTERY

BATTERY - dry charge (12 volt) Must be used with A60553 nonspill caps

2шт.

When replacing battery, conventional caps must be removed from new battery and replaced by 6, A60553 nonspill caps. Nonspill caps can be removed from the existing battery and reused or new nonspill caps can be ordered.

1шт.

3a

A60553

CAP

CAP - battery, nonspill

12шт.

4

L57444

SPARE PART PLATE - battery support

1шт.

5

13-824

BOLT,Hex, 1/2" - 13 x 1-1/2", Gr 5, Full Thd

BOLT, Hex, 1/2"-13 x 1 1/2", G5, Full Thd

4шт.

6

92-8

LOCK WASHER,1/2"

LOCK WASHER, 1/2"

4шт.

7

25-108

NUT,1/2"-13, G5

NUT - hex, 1/2" - 13 NC

4шт.

8

L57488

SPARE PART HOLDDOWNS - battery, angle

2шт.

9

L52096

BOLT

BOLT - hook, battery holddown

4шт.

10

95-5

WASHER,3/8" x 7/8" x .083"

WASHER - flat, 5/16"

4шт.

11

92-5

LOCK WASHER,5/16"

LOCK WASHER, 5/16"

4шт.

12

9635082

NUT,5/16" - 18, Gr 5

NUT - nex, 5/16" - 18 NC

4шт.

13

L57766

CABLE

CABLE - jumper, Serial Range: battery-battery

1шт.

14

L79907

SPARE PART CABLE -, Serial Range: battery-starter

1шт.

15

L14552

CABLE

CABLE -, Serial Range: starter-solenoid

1шт.

16

S219533

SOLENOID

SPARE PART SOLENOID - starter

1шт.

For service use L109871 solenoid and A31060 ground wire for starting circuit, cab circuit uses S219533 solenoid.

1шт.

17

L50012

WIRE -, Serial Range: solenoid-starter

1шт.

18

R26136

STARTER MOTOR

STARTER - engine, parts list figure 46 and 48

1шт.

18

RR46156

REMAN-STARTER

Remanufactured Starter

1шт.

18

RC46156

CORE-STARTER

Return Number

1шт.

19

L57765

CABLE

CABLE - battery ground

1шт.

20

13-852

BOLT,Hex, 1/2" - 13 x 3-1/4", Gr 5

HHCS - 1/2" - 13 NC x 3-1/2", starter mounting

1шт.

21

92-8

LOCK WASHER,1/2"

LOCK WASHER, 1/2"

3шт.

22

R24323

WASHER

WASHER - starter mounting

3шт.

23

13-824

BOLT,Hex, 1/2" - 13 x 1-1/2", Gr 5, Full Thd

BOLT, , Starter mounting Hex, 1/2"-13 x 1 1/2", G5, Full Thd

2шт.

24

L57937

SWITCH

SWITCH - air pressure

1шт.

25

L58497

RESISTOR

RESISTOR - 40 ohm, if used

1шт.

26

L58511

TERMINAL CONNECTOR

TERMINAL - plug in, 90 degree

1шт.

26a

L59682

TERMINAL CONNECTOR

TERMINAL - plug in, straight

1шт.

26b

223-125

TUBE

SLEEVE - insulation, if used

1шт.

27

49853

TOOL

CLAMP - harness

1шт.

28

REF

INSTRUCTION

LAMP - engine warning, see figure 106

1шт.

29

L11345

GASKET

GASKET - engine warning light

1шт.

Выбрано товаров: 36