Запчасти Case 680E (418) - BACKHOE BUCKETS, BELLHOLE BUCKETS, COMBINATION BELLHOLE AND (84) - BOOMS, DIPPERS & BUCKETS

Схема запчастей Case 680E - (418) - BACKHOE BUCKETS, BELLHOLE BUCKETS, COMBINATION BELLHOLE AND (84) - BOOMS, DIPPERS & BUCKETS
FIT
1:1
100%

Артикул

Название

Примечание

Количество

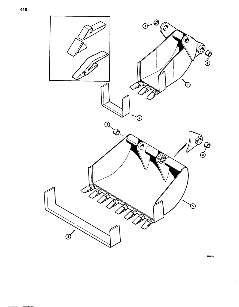
1

D41547

BUCKET

- 12 inch (305 mm) Machinery item, see figure 2 for ordering, not used with extendahoe, Includes: Ref. 2 - 4

1шт.

2

D37490

KNIFE

BLADE - cutting

1шт.

3

D40243

BUSHING,44.68mm ID x 57.15mm OD x 19.05mm L

- bucket, at dipper arm

2шт.

4

D30933

BUSHING,38.41mm ID x 47.63mm OD x 31.75mm L

- bucket, bucket link pin hole

2шт.

1

D41548

BUCKET

- 16 inch (406 mm) Machinery item, see figure 2 for ordering, Includes: Ref. 2 - 4

1шт.

2

D37518

EDGE, CUTTING

BLADE - cutting

1шт.

3

D37495

BUSHING,44.76mm ID x 57.15mm OD x 31.75mm L

- bucket, at dipper arm

2шт.

4

D30933

BUSHING,38.41mm ID x 47.63mm OD x 31.75mm L

- bucket, bucket link pin hole

2шт.

1

D41549

BUCKET

- 30 inch (762 mm) Machinery item, see figure 2 for ordering, Includes: Ref. 2 - 4

1шт.

2

D37515

EDGE

BLADE - cutting

1шт.

3

D37495

BUSHING,44.76mm ID x 57.15mm OD x 31.75mm L

- bucket, at dipper arm

2шт.

4

D30933

BUSHING,38.41mm ID x 47.63mm OD x 31.75mm L

- bucket, bucket link pin hole

2шт.

5

D41550

BUCKET

- 36 inch (914 mm) Machinery item, see figure 2 for ordering, Includes: Ref. 6 - 8, combination bellhole and graveyard bucket

1шт.

6

NLS

NO LONGER SERVICED

BLADE - cutting, combination bellhole and graveyard bucket

1шт.

7

D37495

BUSHING,44.76mm ID x 57.15mm OD x 31.75mm L

- bucket, at dipper arm, combination bellhole and graveyard bucket

2шт.

8

D30933

BUSHING,38.41mm ID x 47.63mm OD x 31.75mm L

- bucket, bucket link pin hole, combination bellhole and graveyard bucket

2шт.

9

D58499

SUPPORT

SHANK - tooth, service option, bucket teeth

1шт.

9a

D26368

SUPPORT

SHANK - tooth, original equipment, bucket teeth

1шт.

10

D58576

TOOTH

POINT - tooth, H and L manufactured, 4-7/8' (124 mm) long, bucket teeth

1шт.

10

D58577

TOOTH

POINT - tooth, Fabco manufactured, 4-3/4" (121 mm) long, bucket teeth

1шт.

11

D58592

TOOTH

POINT - tooth, H and L manufactured, heavy duty service option, bucket teeth

1шт.

11

D58593

TOOTH

POINT - tooth, Fabco manufactured, heavy duty service option, bucket teeth

1шт.

Выбрано товаров: 22