Запчасти Case 680E (456) - NOISE REDUCTION PADS (90) - PLATFORM, CAB, BODYWORK AND DECALS

Схема запчастей Case 680E - (456) - NOISE REDUCTION PADS (90) - PLATFORM, CAB, BODYWORK AND DECALS
FIT
1:1
100%

Артикул

Название

Примечание

Количество

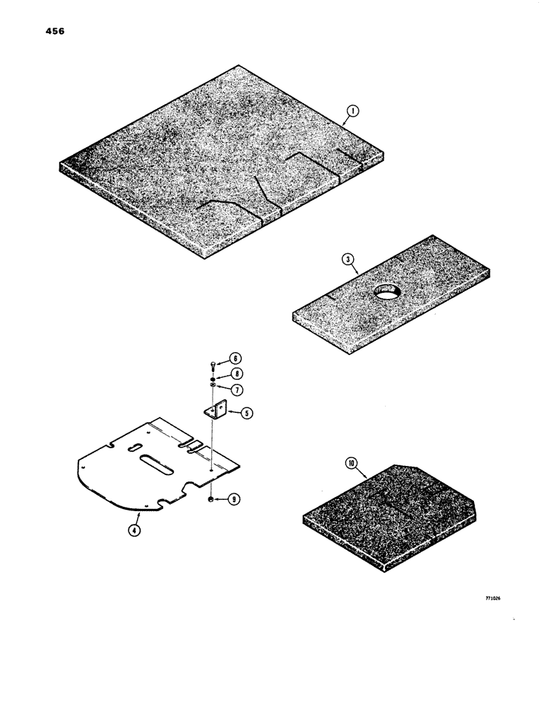
1

L71578

PAD - firewall, heat and noise control

1шт.

2

345-57

ADHESIVE

CEMENT - for L71578 pad, 1 pint (.047 litre)

1шт.

3

L71579

PAD - instrument panel

1шт.

4

L71565

PLATE - pad support, backhoe console floor

1шт.

5

L71563

BRACKET

- support, Serial Range: plate-console

4шт.

6

13-516

BOLT,Hex, 5/16" - 18 x 1", Gr 5

8шт.

7

95-5

WASHER,3/8" x 7/8" x .083"

- flat, 5/16"

8шт.

8

92-5

LOCK WASHER,5/16"

8шт.

9

9635082

NUT,5/16" - 18, Gr 5

- hex., 5/16" - 18 NC

8шт.

10

L72272

PAD - floor, backhoe console

1шт.

Выбрано товаров: 10