Запчасти Case 580F (34) - SWITCH PRESSURE

Схема запчастей Case 580F - (34) - SWITCH PRESSURE
9
5
16
10
8
3
14
11
2
6
15
13
7
1
12
4
FIT
1:1
100%

Артикул

Название

Примечание

Количество

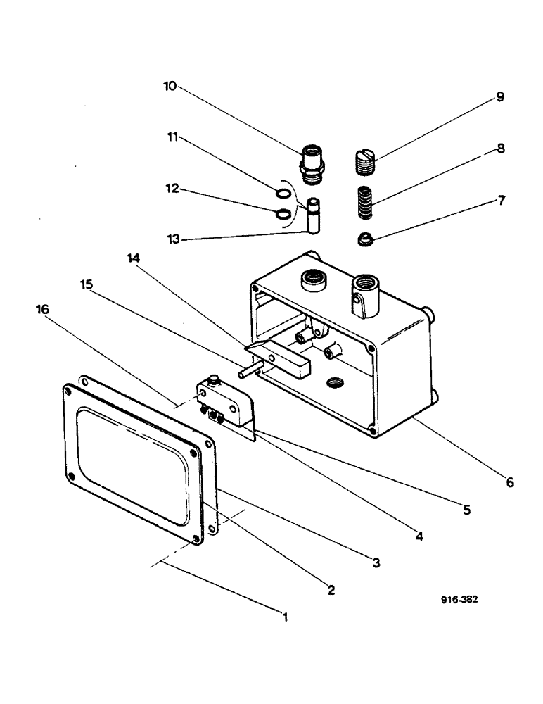
1

E42271

SCREW

4шт.

2

NSS

NOT SOLD SEPARAT

COVER

1шт.

3

E42270

SEAL ASSY.

1шт.

4

E42268

SWITCH

limit

1шт.

5

E42269

INSULATOR

1шт.

6

NSS

NOT SOLD SEPARAT

BODY

1шт.

7

E42275

BUSHING

retainer

1шт.

8

E42276

VALVE SPRING

1шт.

9

E42277

PLUG

1шт.

10

E42281

COUPLING

1шт.

11

E42280

O-RING

1шт.

12

E42279

GASKET

backup

1шт.

13

E42278

PISTON ASSY.

1шт.

14

E42274

LEVER

SPARE PART

1шт.

15

E42273

AXLE PIN

1шт.

16

E42272

SCREW

2шт.

Выбрано товаров: 16