Запчасти Case 580F (04) - SIDESHIFT BACKHOE - SAFETY DEVICE STARTING FROM NO. 3.826.344

Схема запчастей Case 580F - (04) - SIDESHIFT BACKHOE - SAFETY DEVICE STARTING FROM NO. 3.826.344
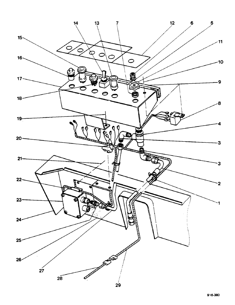
18
16
28
6
19
21
14
17
24
27
9
29
20
12
26
11
10
2
23
4
3
22
7
15
3
8
25
13
1
5
FIT
1:1
100%

Артикул

Название

Примечание

Количество

1

L11541

CABLE TIE,203.2mm L, Nylon

CABLE STRAP CLAMP

6шт.

2

E42072

TUBE

1шт.

3

218-483

ELBOW,90 Degree Elbow, 9/16" - 18 Male JIC x 1/4" - 18 Male NPTF

2шт.

4

E41460

LOCK VALVE

1шт.

5

REF

INSTRUCTION

WASHER

1шт.

6

REF

INSTRUCTION

NUT

1шт.

7

REF

INSTRUCTION

NUT

1шт.

8

E41428

RELAY

1шт.

9

E41914

STRIP

SPARE PART foam

1шт.

10

814-5012

BOLT,Hex, M5 x 0.8 x 12mm, Cl 8.8, Full Thd

cap

1шт.

10

892-1105

LOCK WASHER,M5

1шт.

10

825-1105

NUT,M5, Cl 8

1шт.

11

E41459

WHEEL (STEERING)

KNOB

1шт.

12

321-4863

DECAL

1шт.

13

E41426

LIGHT

1шт.

E41853

BULB

2W

1шт.

14

D67251

SWITCH

1шт.

15

E41427

1шт.

E41853

BULB

2W

1шт.

16

D72965

BUTTON

1шт.

17

E41900

PANEL instrument

1шт.

18

E15246

IGNITION SWITCH

1шт.

19

113-6

BOLT,Hex, 1/4" - 20 x 3/8", Gr 5, Full Thd

2шт.

19

192-19

LOCK WASHER,Helical Spring, 0.256" ID, CST, ZND

2шт.

19

195-102

WASHER,1/4"

4шт.

19

7770

NUT,Hex, 1/4 - 20, Cl 5

2шт.

20

E37772

FUSE

HOLDER

1шт.

E37773

FUSE

10A

1шт.

21

113-1

BOLT,Hex, 1/4" - 20 x 1/2", Gr 5

4шт.

21

195-102

WASHER,1/4"

4шт.

21

192-19

LOCK WASHER,Helical Spring, 0.256" ID, CST, ZND

4шт.

22

E41171

GROMMET

CRIMP

1шт.

23

E41469

SOLENOID SWITCH

pressure, See Figure 34

1шт.

24

E41926

PANEL rear

1шт.

25

218-443

HYD CONNECTOR,9/16" - 18 Male JIC x 1/4" - 18 Male NPTF

elbow

1шт.

26

E41919

FOAM

1шт.

27

E42072

TUBE

1шт.

28

E41529

HARNESS

1шт.

29

E41467

HARNESS

1шт.

3214090

DECAL, (on tool box) Not Illustrated

1шт.

Выбрано товаров: 40