Запчасти Case 580F (278) - SIDE SHIFT BACKHOE, SWING CYLINDER (35) - HYDRAULIC SYSTEMS

Схема запчастей Case 580F - (278) - SIDE SHIFT BACKHOE, SWING CYLINDER (35) - HYDRAULIC SYSTEMS
19
21
17
22
7
1
11
8
5
2
25
16
6
4
18
3
13
15a
23
17
9
15
12
14
16
10
24
14a
20
18
FIT
1:1
100%

Артикул

Название

Примечание

Количество

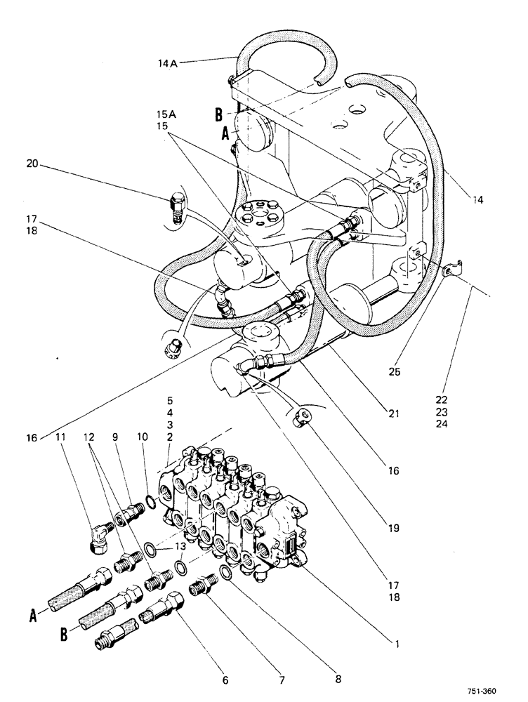
1

REF

INSTRUCTION

VALVE, see Figure 236

1шт.

2

13-832

BOLT,Hex, 1/2" - 13 x 2", Gr 5

3шт.

3

95-8

WASHER,1/2"

3шт.

4

92-8

LOCK WASHER,1/2"

3шт.

5

25-108

NUT,1/2"-13, G5

3шт.

6

D66505

HOSE

1шт.

7

218-5069

HYD CONNECTOR,1-5/16" - 12 Male JIC x 1-5/16" - 12 Male ORB

Incl. Ref. 8

1шт.

8

218-5010

O-RING,0.116" Thk x 1.171" ID, -916, Cl 6, 90 Duro

1шт.

9

D68334

ADAPTER

Includes: Ref. 10

1шт.

10

218-5010

O-RING,0.116" Thk x 1.171" ID, -916, Cl 6, 90 Duro

1шт.

11

218-5234

ELBOW,90 Degree, 1 5/16"-12, 37 Degree x 1 5/16"-12, 37 Degree Fem Sw

elbow

1шт.

12

218-5071

HYD CONNECTOR,3/4" - 16 Male JIC x 1-5/16" - 12 Male ORB

Includes: Ref. 13

2шт.

13

218-5010

O-RING,0.116" Thk x 1.171" ID, -916, Cl 6, 90 Duro

1шт.

14

D72864

HOSE

1шт.

14a

D72865

HOSE

1шт.

15

218-5059

HYD CONNECTOR,3/4"-16, 37 Degree x 3/4"-16, O-Ring

Incl. Ref 15A

2шт.

15a

218-5007

O-RING,0.097" Thk x 0.755" ID, -910, Cl 6, 90 Duro

1шт.

16

E41999

HOSE

2шт.

17

218-5146

ELBOW,45 Degree Elbow, 3/4" - 16 Male JIC x 7/8" - 14 Male ORB

elbow, Includes: Ref. 18

2шт.

18

218-5007

O-RING,0.097" Thk x 0.755" ID, -910, Cl 6, 90 Duro

1шт.

19

D121529

STOP

RESTRICTOR

2шт.

20

REF

INSTRUCTION

VALVE, see Figure 280

2шт.

21

REF

INSTRUCTION

CYLINDER swing, see Figure 216

2шт.

22

13-610

BOLT,Hex, 3/8" - 16 x 5/8", Gr 5, Full Thd

4шт.

23

92-6

LOCK WASHER,3/8"

4шт.

24

195-25

WASHER,3/8"

4шт.

25

E37847

SHIN

SPARE PART CLAMP

4шт.

Выбрано товаров: 27