Запчасти Case 580F (402) - SIDE SHIFT BACKHOE, SAFETY VALVE, STABILIZER CYLINDER, FOR SWEDEN ONLY (35) - HYDRAULIC SYSTEMS

Схема запчастей Case 580F - (402) - SIDE SHIFT BACKHOE, SAFETY VALVE, STABILIZER CYLINDER, FOR SWEDEN ONLY (35) - HYDRAULIC SYSTEMS
4
7
6
11
9
1
2
8
10
3
5
12
FIT
1:1
100%

Артикул

Название

Примечание

Количество

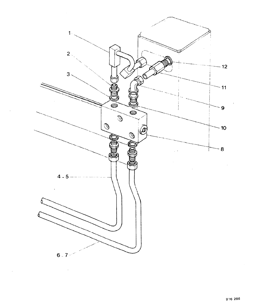
1

E41262

CONNECTOR, ELEC

CONNECTOR TUBE, R.H.

1шт.

E41263

CONNECTOR, ELEC

CONNECTOR TUBE, L.H.

1шт.

2

E37132

CONNECTOR, ELEC

CONNECTOR Includes: Ref. 3

3шт.

3

E41983

GASKET

1шт.

4

E41272

TUBE

R.H.

1шт.

5

E41274

TUBE

L.H.

1шт.

6

E41268

TUBE

R.H.

1шт.

7

E41270

TUBE

L.H.

1шт.

8

E37283

LOCK VALVE

see Figure 404

1шт.

9

E37149

ELBOW UNION

Union Elbow Includes: Ref. 10

1шт.

10

E41984

GASKET

1шт.

11

E37130

CONNECTOR, ELEC

CONNECTOR Includes: Ref. 12

1шт.

12

218-5007

O-RING,0.097" Thk x 0.755" ID, -910, Cl 6, 90 Duro

1шт.

Выбрано товаров: 13